台湾产雪莱(Shera)牌13、17英寸电视机,伴音中放和音频前置放大器均采用集成电路56A101,该集成电路较易损坏,造成无伴音故障。
由于目前这种集成电路不易买到,所以在检修中只能用其他功能相同的集成电路代换。
1.直接代换
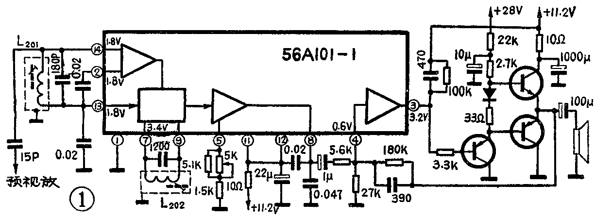
经分析,集成电路TBA120AS可以直接代替56A101。图1和图2分别为56A101、TBA120AS的实际应用电路。可见,这两种型号的集成电路的引出脚序号、功能和外围电路是相同的,只要将损坏的56A101焊下来,将TBA120AS与56A101相对应的引出脚插入原印制电路板焊好即可。经使用效果良好。


2.简接代换。
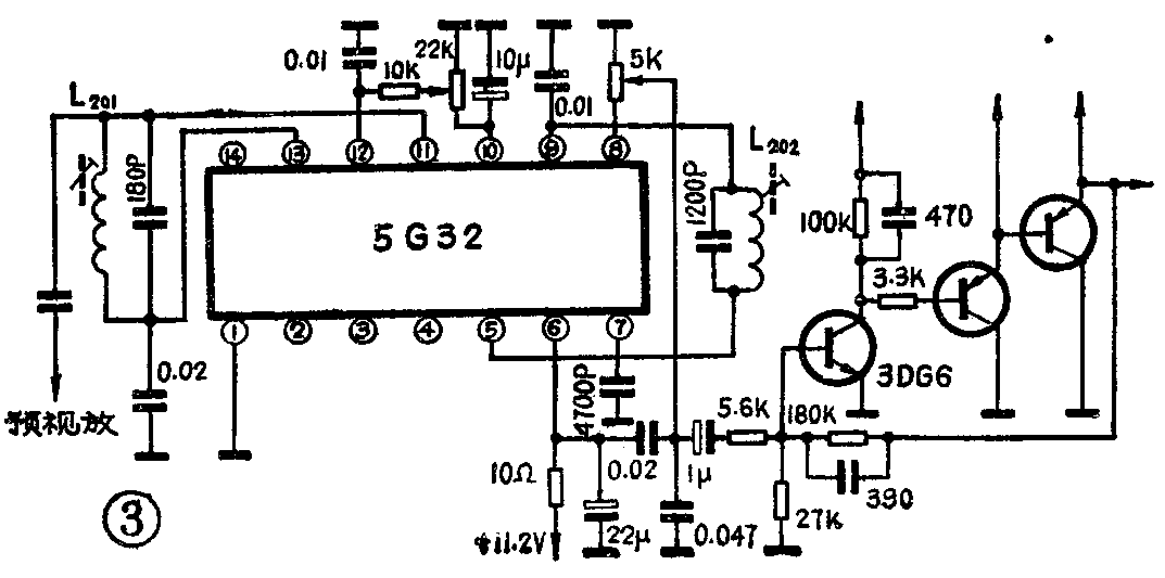
如果手头没有这种完全相同的集成电路,则可以用功能相近的其他型号的集成电路代换,但是引出脚和外围电路需要重新改接。经查下列集成电路的功能与56A101相近,即5G32、AN241、LA1363、LA1365、UA3065、KA2101、 LSC1008P、HA1125、HA1128、LM3065、M5143P、SN76666N等。按照这些集成电路的外围电路对56A101的外围电路作适当改动,就可以代替56A101。下面以国产集成电路5G32为例,介绍一下代换方法。
5G32的外围电路如图3所示。由于5G32中无音频前置放大器,所以还需要外接一只3DG6(或3DG4)代替56A101中的音频前置放大器。

(1)将56A101的⑤、⑦、⑧、、脚与外围电路的连接铜箔用小刀划断,如图4所示。

(2)将5G32的②、③、④、向上掰起,使之悬空。
(3)两种型号的集成电路的①脚、③脚的功能相同,所以不必改动。
(4)将接56A101的外围电路用导线与5G32的脚连接。
(5)56A101的⑩脚为空脚,但5G32的⑩脚上需要外接10μ/16V电解电容和22K偏流电阻。这两个元件可焊接在印制电路板的背面,先将电懈电容与偏流电阻并联,一端接⑩脚,另一端接地。注意电解电容的极性,正极接⑩脚,负极接地。
(6)在5G32的脚上需要接0.01μ/63V的瓷片电容(或绦纶电容),另一端接地。再在脚上接一个10K(1/8W)电阻,电阻的另一端接⑩脚的偏流电阻的滑动臂。这两个元件也可安置在印制电路板的背面。
(7)两种型号的集成电路的⑨脚功能相同,但需在5G32⑨脚与地之间接一个0.01μ/63V的电容,也焊在印制电路板的背面。
(8)将56A101⑦脚的外围电路,用导线与5G32的⑤脚连接,在5G32的⑦脚与地之间接一只4700P/63V的瓷片电容。
(9)两种型号的集成电路⑧脚功能相同,但外围电路需要改动。将56A101⑤脚的外围电路上的5.1K电阻焊下来不用,再将1.5K电阻短路到地。将5K电位器改接到5G32的⑧脚,中心头改接到原56A101⑧脚的外围电路上。
(10)56A101的⑥脚是空脚,将5G32的⑥脚通过引线接在56A101、脚的外围电路上。
(11)外加一级音频前置放大器,电路见图3。将3DG6的基极接到原56A101④脚的外围电路上,集电极接到原56A101③脚的外围电路上,发射极接地。如果有的机器,仅仅是56A101的音频前置电压放大器损坏,可用3DG6代替这部分电路,把56A101③、④脚与外围电路断开,按上面方法将3DG6与56A101的③、④脚的外围电路接上即可。
按照上述顺序将电路改接好后,便可开机调整。如果仍无伴音或音小,可调节22K偏流电阻,使声音最大、杂音最小。如果有交流蜂音或失真,可微调L\(_{2}\)01、L202的磁心。(汪锡明)