问:进口电视机的电路图上,往往标有如图所示的一些符号,请问都表示什么意思?
答:图1所示符号表示高压敏电阻。各国电视机电路图上表示高压敏电阻的符号并不统一:图1(a)是罗马尼亚表示法;图1(b)是西德、匈牙利表示法;图1(c)为波兰表示法。

图2所示符号表示放电器,也叫火花隙,当加到显象管上电压过高时,放电器会超压击穿,起到保护显象管的作用。
图3所示符号表示变容二极管:图3(a)是日本日立电视机表示法;图3(b)是西德、波兰、匈牙利表示法;图3(c)是罗马尼亚表示法。

图4所示符号表示双栅场效应管。(汪非)
问:一台CGC206型电视机的场输出管2SC1383R损坏,一时买不到同型号管子,可否用其它管子代替?
答:CGC206型电视机场输出是采用2SC1383R与2SA683R互补OTL电路。这二只管子的功率不大,使用时温度升高了容易损坏。如果没有2SC1382R管,可用国产的3DG12管换下原机的行推动管Q702(也是2SC1382R管),再用此管作场输出管。此外,原机两个场输出管和一个行输出管共用同一块散热片,散热面积较小。为防止场输出管再次损坏,可用一块大小合适的铝板,通过原散热板的两个小孔用平头螺钉固定,就可加大散热面积,效果良好。(王敬炎)
问:为什么一般产品电视机中绕制高、中频线圈的漆包线都用QA型的,自装电视机或维修时能否用QZ型高强度漆包线代替?
答:QA型漆包线是聚氨酯漆包线,这种线的最大特点是在高频下的介质损耗小,用它来绕制高、中频线圈能获得损耗小、Q值稳定的性能。另外这种线在焊接时还可不刮去漆膜,使成批生产便利不少。一般QZ型漆包线在高频下的损耗较大,用它来绕制高、中频线圈要增加不少损耗,尤其当线圈圈数较多时更为明显,因此在自制电视机或修理电视机时,如没有QA型漆包线,可用普通Q型油性漆包线代替,因为Q型线在高频下的介质损耗也要比QZ型线小许多。(王德沅)
问:一台苏联产的PЯRCCBET-307型16英寸电子管电视机的行输出变压器的高压包损坏了,可否用国产高压包代换?此外,它所用的电子管能否用国产电子管代换?
苏联 中国
6Ж1П 6J1
6φ1П 6F1
6П15П 6P15
6П14П 6P14
6Н1П 6N1
6П13С 6P13P
1И11П 1Z11
6Н23П 6N11
6Д14П 6Z19
答:高压包损坏,可以用国产北京牌825-2型电视机的高压包直接代换。机中所用的电子管可用国产电子管代换的关系如表中所示。(吕敬华)
问:一台12英寸黑白电视机,收看节目时图象画面时大时小, 亮度也随之忽弱忽强。经检查行输出变压器高压包和高压硅堆均无问题,不知是什么原因?

答: 这是由于连接高压硅堆与显象管第二阳极高压嘴的高压导线芯线断开、或是其某一接线端头断开,而且两断头间距正好在10毫米左右造成的。在这种情况下,二个断头可看作是电容C的两个板极,断头间的空气可看作空气介质(见图)。电视机通电后,在高压硅堆输出的11千伏直流高压作用下,电容器C极板间电位差大(C《C\(_{石}\)),极板间空气电离导通,电容C击穿。击穿的电容相当于小阻值电阻,整流电流顺利通过,使第二阳极内外导电石墨层电容C石充电,高压逐步上升。当电压上升到约11千伏时,加速电场正常,图象的画面与亮度也正常。同时,电容C极板间电位差在逐步下降,下降到一定值时,极板间空气电离消失,电容C不击穿,整流电流被阻断。于是第二阳极高压在束电流的中和下逐步降低, 加速电场变弱,电子束运动速度变小,相应地图象画面扩大、亮度减小。当第二阳极高压下降到一定值时,电容C又会再度击穿。如此周而复始, 便产生上述故障现象。此外,当高压硅堆与高压包输出端接触不良、或高压嘴与高压头接触不良,其间距也都在10毫米左右时,亦会产生上述现象。(林天经)
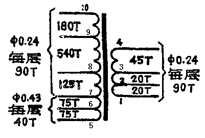
问:一台匈牙利生产的TA5204型24英寸黑白电视机的行输出变压器低压包烧坏,可否用国产低压包代替?如无合适代用品,能否提供绕制数据?

答:国产电子管电视机行输出变压器低压包的绕制数据与TA5204型的相差较大,不能直接代用, 可按附图所提供的数据,视烧坏程度进行修补或重新绕制。

如果低压包烧坏程度较轻,可拆去被烧坏的绕组,使接头移到抽头上。用小刀刮去低压包骨架上烧坏部分留下的炭黑,再用酒精棉擦洗干净。按图示的圈数,用相同线径的高强度漆包线补上拆去的那部分绕组,绕制时层间要垫上如0.5mm厚聚脂薄膜等绝缘性能好的材料。如果烧坏严重而骨架没有严重变形,可利用原骨架重新绕制,只是骨架须如上所述清洗干净。重绕时每层的宽度及层间绝缘材料的宽度均应与原宽度相同(每层宽22mm,绝缘纸宽29mm)。还要注意抽头排列位置,以免因抽头位置不当使引线间产生拉弧或击穿。同时也要注意绕制方向,如绕反了会与高压包的脉冲相位反相导致无光栅。如骨架严重变形无法使用,则应用绝缘性能好的材料(如有机玻璃)按原骨架的形状尺寸制作一新骨架。
上面提供的低压包数据适用于匈牙利生产的TA3212、TA5203等型电视机。(汪锡明)
问:有一台使用晶体唱头的电唱机,接入扩音机放音时,喇叭中总有明显的交流声,即使采用金属屏蔽线作信号引出线也无济于事,这是什么原因?应如何解决?
答:故障原因可能是由于唱头的接地端开路所致。检查步骤:①检查电唱机引出线插头上的屏蔽线是否开路; ②检查唱头引出线的接地是否良好;③检查唱头内部的晶体引出线金属箔线是否开路。检查出故障原因后, 采取相应措施将线路接好即可。(张国华)
问:我自制一台红灯711—2型电子管收音机,在中波段接收节目时,开始从频率低端到高端收音正常,但在频率高端收到某一强力电台后,嗽叭突然无声。再来回反复旋转调谐旋钮,除了中央台与本地台几个强力电台外,其它台(包括短波中的电台)均收不到了,这是什么原因?
答:可能是由于收音机的本机振荡突然停振,才出现了上述故障。本机振荡停振后,收音机本来应不再工作了,为什么还能收到几个电台呢?可能是由于本地电台与本地转播的中央台信号较强,收音机接到这些信号后,没有经过变频而直接被放大、检波所致。检修时应着重检查振荡部分的元件,而最大可能是变频管6AZ衰老或质量不好所引起,常常是更换变频管就能排除故障。(张国华)
问:某些进口的高档盒式收录机除了设置音调(TONE)旋钮之外,还另设置有一只响度开关(LOUDNESS),请问二者功用有何不同?
答:响度是人耳对声音强度的主观感觉,它主要与声压有关。音量开得比较小时,人耳对高、低频(主要是低频)音响的灵敏度降低,听觉上感觉频率响应范围很窄。如将响度开关扳到ON(通)的位置,低频得到提升,可以补偿人耳在低声压时对低频灵敏度过低的效应,使得在小音量放唱的情况下,听起来低音部分也比较浑厚、丰满。
音调旋钮是用来调节收录机音频输出的频响特性的,不能用来补偿人耳的主观听觉响应。小音量时利用音调旋钮提升低音效果甚微,只有使用响度开关才能获得令人满意的效果。(吴大伟)
问:有些收录机上具有LOUDNESS开关,有什么作用?
答:LOUDNESS的意思是响度,这个开关是响度补偿开关。因为人耳对不同频率声音的响度感觉有所不同,同一声压级的声音,低频和高频声音的响度都比中高频声音低。而且,这种响度变化与声压级有关。声压级越低,低频和高频声音相对中高频声音的响度而言也变得越低。这是由人类听觉特性所决定的。因此,当我们关小收录机音量时,也应同时适当提升高、低音调,以补偿这种响度变化。但实际操作中,同时控制音量与音调三个旋钮既麻烦,又不能较精确地进行补偿,且往往高、低音调已提升到最大值,再无补偿余量。因此,有些音响设备在音频放大器中设计了音调补偿网络(常见音调补偿网络接于音量电位器抽头上,使其补偿量可随音量而变)。收录机中的LOUDNESS开关就是控制该网络的通、断。当我们关小音量嫌高、低音不足时,扳动此开关至ON(接通)位置,便可起上述补偿作用。 (上官沁)
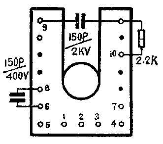
问:用6P14代替6P1作电子管收音机的功放管使用时,需注意哪些问题?

答:6P14和6P1都是功率放大管,其灯丝电压均为6.3伏;其屏极电压、屏极电流、帘栅电压、帘栅电流、内阻和输出功率等参数也基本相同;6P14的互导为≥9毫安/伏,而6P1的互导为4.9毫安/伏。用6P14代替6P1作功放管使用时,可提高功放增益。但是,6P14的灯丝电流为760毫安,而6P1为500毫安;6P14的控制栅电压为-6伏,而6P1为-12.5伏;而且,6P14和6P1的管座接线图也不一样。所以,代替时尚需注意:1.按6P14管座接线图进行正确接线。(见附图)2.控制栅电压应由-12.5伏改为-6伏。如系自给偏压,则将阴极电阻(6P1一般用270~300欧)改为120欧。3.6P14灯丝电流6P1大260毫安,应考虑原电源变压器灯丝供电电流是否有余量,如无余量,可采用晶体二极管代替原来的6Z4进行整流,这样可以节省原来供给6Z4的灯丝电流600毫安。(林伟武)