问:北京市综合仪器厂技术服务部生产的JMK-3型OCL高传真扩音机比JMK-1型有哪些改进?新机型有什么特点?
答:JMK—3型机是在JMK—1型机基础上加以改进的,主要目的是为了提高灵敏度和稳定性。改进点有:
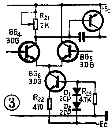
1.在原电路基础上又增加了一级恒流源电路,可提高工作点的稳定性。我们知道,一般OCL扩音机的电源均没有稳压电路,在市电电压起伏时,电源输出直流电压也将随之起伏。在大电流输出时,电源内阻上产生的压降也较大,使得输出直流电压随输出电流的大小而变化:输出电流大时,直流电压下降;输出电流小时,直流电压上升。这种变化有时可达6~8伏。有一些业余爱好者自制的电源变压器,由于铁心截面积太小,初级或次级的线径取得太细,线圈匝数不准等,常常使得直流电压变化很大。一般OCL扩音电路,主放大器输入级常采用如图1所示的差动放大器,图中由BG\(_{4}\)、BG5、R\(_{e}\)将A点电位稳定在零伏。原理为:当A点电位↑→Ub35↑→I\(_{e5}\)↑→URe↑→U\(_{be4}\)↓→Ic4↓→U\(_{R21}\)↓→Ube7↓→I\(_{c7}\)↓→UR26、U\(_{R27}\)↓→BG9、11的I\(_{c}\)↑→UA↓;如果U\(_{A}\)↓,则反之。上述稳定效果的好坏关键在于URe的变化量即△U\(_{Re}\)。Re取值越大,△U\(_{Re}\)越大,反馈作用越大,A点电位也就越稳定。但在电源电压固定,而又要保证晶体管正常工作的条件下,Re不可能取很大,而且由于种种原因,电源电压还有可能下降,所以R\(_{e}\)就更不能取很大。这样当受温度变化和电源电压变化影响时,图1电路中A点的电位就不可能很稳定。为了解决这一矛盾,可如图2所示采用一级晶体管恒流源。图中,两只2CP型晶体二极管串联起来使用,两只管子的正向压降共约1.4伏,因此晶体管的基极电压Ub可稳定在1.4伏左右。在电路中,Ub=U\(_{e}\)+Ube,当I\(_{c}\)↑时,Ue也上升,而U\(_{b}\)不变,Ube就要下降,I\(_{C}\)也就下降,从而使IC保持不变。


图3为JMK—3型机新设的一级恒流源电路。在正常工作时,I\(_{C4}\)=IC5=0.75毫安,这时恒流源提供给BG\(_{8}\)的电流为IC4+I\(_{C5}\)=1.5毫安。假如受温度变化和电源电压变化的影响,使得IC4、I\(_{C5}\)↑,则IC6↑→U\(_{R22}\)↑,由于BG6的基极电位U\(_{b}\)不变,则导致Ube6↓→I\(_{b6}\)↓→IC6↓→I\(_{C4}\)、IC5↓。这样就可使差动放大器受温度和电源电压等变化因素的影响明显减小,从而使图1中A点的电位更稳定。

2.提高前置级的增益,加深主放大器的负反馈。为了使扩音机适合各种信号源的需要,我们在JMK—1型机基础上,在BG\(_{1}\)的后面又如图4所示加了一级电压放大级BG2。这一级采用了深度负反馈,即R\(_{e}\)=R12=1千欧,而R\(_{c}\)=R11=6.2千欧,这样可使本级工作点很稳定,交流失真小而且能获得约14分贝的增益,可使收、录音输入灵敏度提高到50毫伏,拾音输入灵敏度提高到100毫伏左右,同时也提高了高低音的提升与衰减范围。

3.JMK—3型机的几个技术指标。直流供电电压:±15V~±24伏;最大动态电流≤800毫安;负载阻抗:8~16欧;频率响应:50~20000赫±1分贝;音调补偿:在100赫和10000赫处为±10分贝;非线性失真:≤3%;输入灵敏度:收录音≤100毫伏,拾音≤200毫伏;稳定性:直流电源在±15伏~±24伏变化时输出零点漂移在±0.1伏之内;室温下可连续工作8小时。(张开善 王衍意 侯葆芳)