一、神笛牌SCR-3266S立体声收录两用机输出功率大,高低音可分别调节,特别是有双带盒仓(俗称双卡),可以自己复制磁带节目,因而受到用户欢迎。但是其缺点是自录后的高音损失较大,使声音听起来发闷。再加上一般爱好者对录音电平掌握不好,复制后的效果往往不能令人满意。
复制后的磁带质量怎样才算好呢?这个问题是初学使用录音机的用户较为关心的。一般来说,以一盘高音质量较好的器乐节目范带为标准,复制之后,音质和音量如能与范带相近,而且背景噪声较小,就可认为复制质量是满意的。
神笛机由于电路设计中存在着一些缺陷,如果原封不动进行自录,效果是很难满意的。笔者在使用该机过程中发现,按下述几种方法改动一下电路,就能达到满意的复制效果。
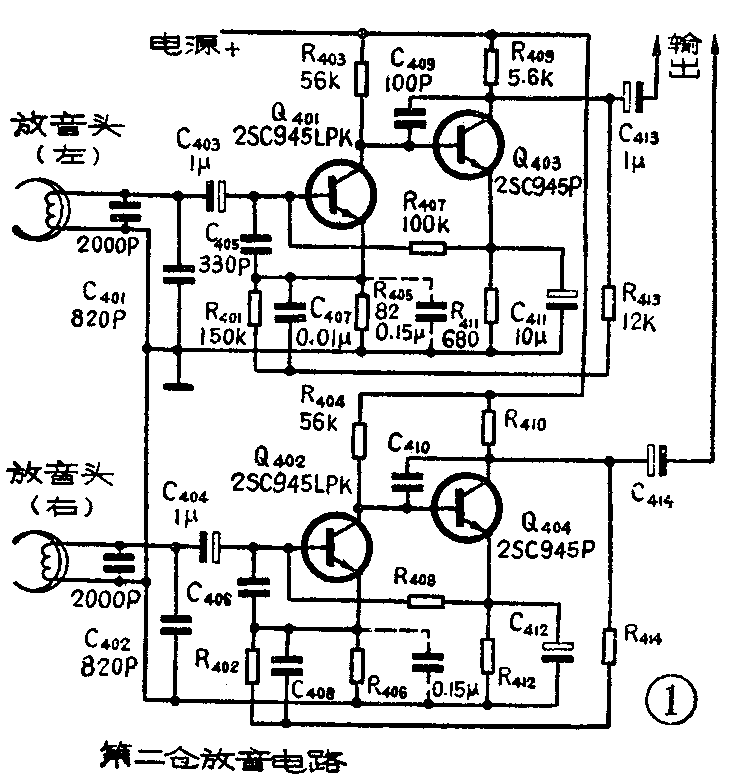
首先,设法提高第二仓放音质量,使放大器对高音负反馈减小,相对提升高音。方法是在第二仓放音电路的R\(_{4}\)05、R406上各并联一只0.15μF左右的电容(图1中虚线)。操作步骤如下:将后盖打开,看到左、中、右三大块印制板。中间一块焊点向外;左、右两块是元件向外。左面一块印制板的最下端处有一个和第二仓放音磁头连接的四线接插件,接插件左面的电阻就是R\(_{4}\)05、R406。将这两只电阻向左推倒,使露出引线,把0.15μF的电容引线剪到合适长度,挂上锡,迅速焊在R\(_{4}\)05(R406)两只引线上。注意烙铁不可接触时间太长,以免烫坏其他元器件。

其次,在第一仓录放电路中R\(_{2}\)07、R208上也各并联一只电容,以减小对高音的负反馈。电容量可选在0.1~0.2μF范围内。这样做使第一仓录、放音时高音均明显加强。R\(_{2}\)07、R208的位置参考图2、图3。焊前将电容引线套上套管,以防与其他走线或元件相碰。


再次,在第一,第二仓的录放磁头(左、右两声道)各并联一只电容,也可以提高高音。按图3在印刷板上焊入140~180pF和2000pF电容,通过转换开关,录音时将140~180pF电容接到第一带仓的磁头上,放音时将2000pF电容接到第一带仓的磁头上,可大幅度提升第一带仓的高音,同时使频响展宽。将两只2000pF电容分别直接焊在第二带仓录放磁头上。对第二带仓的高音也有所提高。
经过用上述三种方法改动,无论录音或放音,高音均得到明显提高。
神笛收录机在录音时需用手动调节录音电电平。录音电平值掌握不好,仍然得不到满意的效果。录音电平选得太大,会使磁带产生饱和,造成失真。录音电平选得过小,会使放音音量明显降低,并且背景噪声显著。一般应使录音电平掌握在既不饱和又尽量大(但不应超过允许的最高录音电平)。不同磁带的最高录音电平各不相同。录音时先将需要录音的磁带装入第一仓。同时按下“暂停”和“录音”按钮。再将“功能选择”钮拨到第二仓放音的位置,把范带装入第二仓。此时随着范带放音的强弱,电平指示器指示出录音电平的大小。分别调节左、右声道“录音电平”旋钮,使电平指示器指示的录音电平最大值,达到或略低于磁带的最高录音电平值。此时就算录音电平已经调好,可以开始正式录音了。附表列出一些常见录音磁带在神笛机上录音的最高录音电子数据,供参考。如果对某种磁带不知其最高录音电平,可先选定几种录音电平进行试录,然后放音,放音时既不失真,音量又最大的情况,即可做为这种磁带的实际最高录音电平。

一般频响越宽的带子录出来的节目音质越好。特别是录音乐节目,最好选用频响高端压在12KHz以上的磁带。相对灵敏度是指输入信号相同时,被测磁带的录音电平与基准带录音电平的差值(这里基准带采用日本东京电气化学公司的TEAC MTT-501磁带)。该差值+dB数越大,磁带被录上的信号就越强,噪声相对就越小,也就是相对灵敏度越高。反之,dB数越负则相对灵敏度越低,在不超过最高录音电平录音时,录出的节目声音越小,严重时会有“录不上”的感觉。因此录制音乐节目时,务必购买质量好的带子(也即相对灵敏度高,录音电平高,频响宽的带子)。常见的日本TDK和索尼带都不错,但价格较贵。国产鹦鹉牌及牡丹牌(PEONY)磁带都可算得上物美价廉的磁带。
经过上述改进,神笛机的放音频响大大加宽,录音质量也极好。只要将录音电平掌握在表中所列数值上,均可获得满意效果。
二、从图2可见R\(_{223}\)、R224起负反馈作用。在R\(_{223}\)、R224上并联一只0.15~0.22μF的电容,减小对高音频的负反馈量,也可相对提升高音。

三、按图4方法,在R\(_{223}\)、R224上并联L、C串联回路,其谐振频率为6.3KHz左右,使得R\(_{223}\)(R224)对6.3KHz附近的频率负反馈量减小,因此提升了高音,也扩展了高端频响范围。L可在2.5mH~3.5mH内选用;C可在0.22μF~0.5μF内选用。(朱贤得 关志成 朱跃堂)