LA1201集成FM/AM中频放大器是日本三洋(SANYO)公司系列化产品之一。主要用于FM/AM收音机、收录两用机做中频放大器,能对前级变频后的调频、调幅中频信号进行放大和调幅检波。它具有增益高、性能稳定、自动增益控制(AGC)特性好、功耗低等优点。在进口收录机M2570K、M2572K、M2564H、M2580K、M4270K、M9902、M9909等型号产品中均有应用。目前国产集成电路与它相当的有上海8331厂的FY1201、苏州半导体总厂的FD302、上海无线电七厂的SF1201。适合整机厂选用及业余爱好者自装收音机用,维修时也可直接代换LA1201。
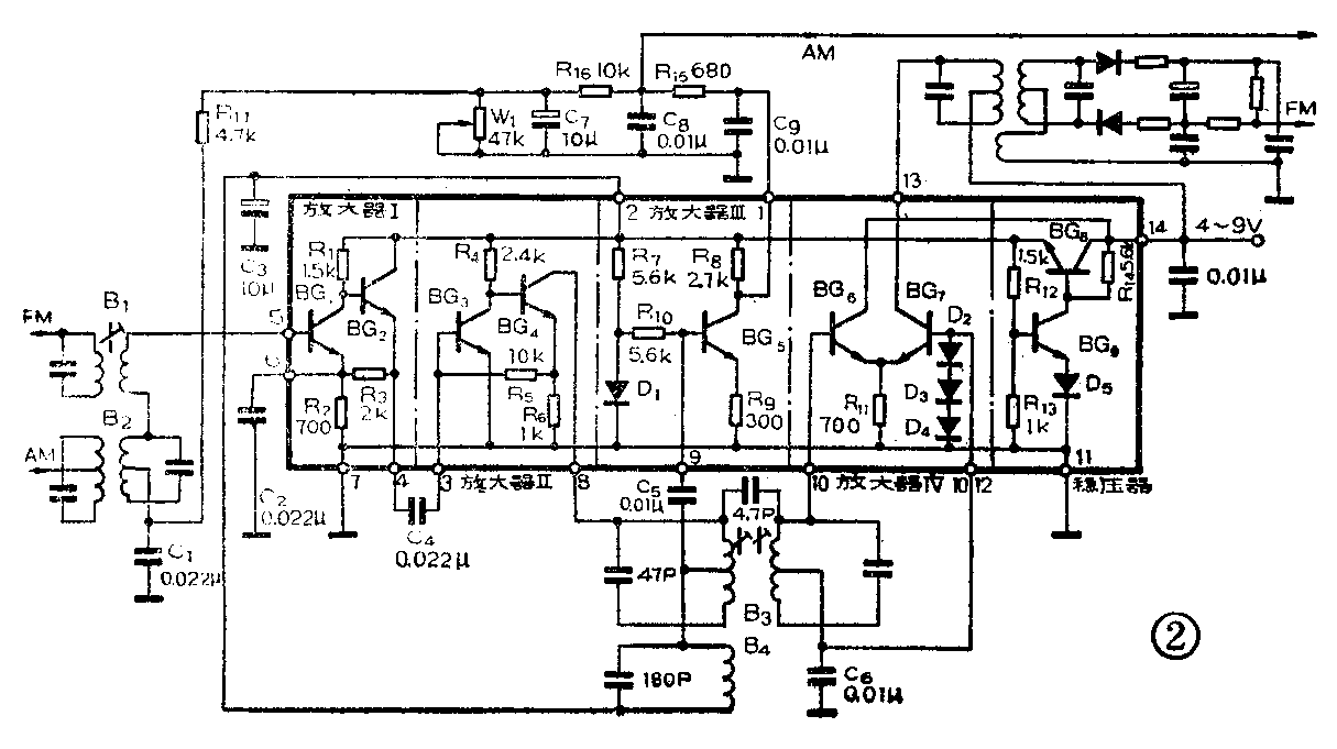
LA1201由Ⅰ-Ⅳ四个独立的放大器及内部稳压电路S构成。图1是其内部方框图及引出脚顺序;图2示出其内部电路及典型应用时的外围电路。


由图2可见四个放大器的功用不同。放大器Ⅰ、Ⅱ分别做为调频、调幅共用的第一、第二中频放大级使用,放大器I因接有AGC回路,用于调幅波放大时,其增益是可变的,而放大器Ⅱ的增益则是固定的;放大器Ⅲ做为调幅检波器使用;放大器Ⅳ做为调频限幅放大器使用。由于它们的功用不同及级间联接匹配方式有异,因而各具有不同的电路形式。下面我们先按图2顺序分析各级电路工作原理,最后介绍性能参数及使用注意事项等。
第一放大级
第一放大级是由BG\(_{1}\)、BG2、R\(_{1}\)、R2、R\(_{3}\)构成的共射——共集组合放大电路(也称级联放大电路),见图2。共射级BG1做电压放大用,共集级BG\(_{2}\)做射级跟随器用。凡是BG1的集电极负载电阻;R\(_{2}\)本来只是BG1的射极电阻,但现在由于BG\(_{2}\)的射极电阻R3不同于一般共集电路那样直接接地,而是接至BG\(_{1}\)射极,就使R2成了两管共用的射极电阻。R\(_{3}\)的这种特殊接法,是用来改进BG1管AGC作用的措施。
为说明这点,我们先看BG\(_{1}\)管的AGC受控过程。BG1的基极偏压是来自BG\(_{5}\)集电极电压,见图2。静态时,BG5的集电极电压经外围电路的R\(_{15}\)、R16与微调电位器W\(_{1}\)串联分压后,再经限流电阻R17和变频中频变压器次级线圈加于BG\(_{1}\)基极上。而BG5是做为晶体三极管检波器使用的,动态时,其集电极输出的是被整流后的载波电压(详见后叙),BG\(_{5}\)基极输入载波中频信号越强,其集电极整流电流越大,电阻R8上的压降也越大,BG\(_{5}\)集电极电压则越变低。不过,因整流电流是脉动的,此集电极电压降低的变化波形也是脉动的。它经检波回路R15、C\(_{8}\)、C9和AGC滤波回路R\(_{16}\)、C7滤波后变成直流电压降,导致BG\(_{1}\)基极电位Ub1相应降低,使BG\(_{1}\)工作电流Ic1减小,放大量相应减少,从而实现AGC作用。若不考虑BG\(_{2}\)和R3的影响,则BG\(_{1}\)管受控的过程和普通收音机第一中放级受控过程是一样的。在LA1201中,由于BG2 的存在和R\(_{3}\)的特殊接法,可以加大BG1管受控时I\(_{e1}\)的变化程度。见图3,由于R3接至BG\(_{1}\)射极,R2上的电流就变成为I\(_{2}\)=Ie1+I\(_{e2}\),成了两管射极电流之和。设外来信号增强、AGC电压降低则出现Ub1↓→I\(_{b1}\)↓→Ic1↓→U\(_{c1}\)↑→Ie1↓,由于U\(_{c1}\)↑,与BG1管直接耦合的BG\(_{2}\)管则出现Ub2↑—I\(_{b2}\)↑—Ic2↑—I\(_{e2}\)↑—Ue2↑,BG\(_{2}\)管的射极电压由于BG1的偏置电压U\(_{b1}\)下降而上升,此电压经R3、R\(_{2}\)分压反馈至BG1射极,使U\(_{e1}\)↑,即Ube1相对减小,导致I\(_{b1}\)↓—Ic1↓—I\(_{e1}\)↓,这种Ie1↓与前述无BG\(_{2}\)、R3时的I\(_{e1}\)↓相比所不同的是又包括了因Ie2增大而引起I\(_{e1}\)进一步下降的因素。从而加剧Ic1的变化,进一步提高了BG\(_{1}\)管受控效率。

另外,本级为什么要采取共射—共集组合电路的形式呢?大家知道,一般收音机的中频放大器多是单级共射电路。而共射电路运用于中频频率时,其输入阻抗约为几百欧至几千欧;输出阻抗约为几千欧至几十千欧,即输入阻抗低于输出阻抗。因此,级间耦合必须采用中频变压器以进行阻抗匹配和获得必要的通频带与选择性。LA1201为了简化外围电路、减少配用中频变压器数量等原因,在第一与第二中频放大级间采用了RC耦合的方式,即仅用外电容C\(_{4}\)耦合(见图2)。但若采用这种方式将前、后两级共射放大电路耦合起来,例如将图2的BG1与BG\(_{3}\)管耦合,则会使前级电路(如BG1)在10.7MHz时的增益显著低于465KHz时的增益。这是因为一般高频小功率管共射电路的输入电容可达十几至几百微微法,此电容经耦合电容联接并联到前级输出端,成为前级负载电容的一部分(其它还有分布电容等)。它使前级的交流负载阻抗在10.7MHz时比465KHz时要降低得多,致使前级在10.7MHz时的电压增益也相应比465KHz时降低得多。因此,增加BG\(_{2}\)做跟随器,利用共集电路输入电容小、输出阻抗低的特点,将BG1与BG\(_{3}\)隔开,既起级间阻抗匹配作用,又避免了BG3以较大的输入电容并联于BG\(_{1}\)输出端,从而提高了BG1共射级在10.7MHz时的增益。
本级在无AGC作用时,调幅增益30dB,调频增益25dB。
第二放大级
BG\(_{3}\)、BG4、R\(_{4}\)、R5、R\(_{6}\)及其外电路组成的共射—共射组合放大电路做为第二放大级使用。为什么本级也不同于分立元件收音机那样采用单级共射放大器呢?我们先分析各元件的功用后,就可讲清楚了。
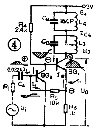
将此部分另画于图4。R\(_{4}\)是BG3的集电极负载;R\(_{5}\)、R6的接法包含了两种负反馈,R\(_{6}\)是BG4的射极电阻,起本级电流负反馈作用。R\(_{5}\)是BG3的基极偏置电阻兼反馈电阻,它的这种接法属于典型的级间并联电流负反馈方式。现假设注入BG\(_{3}\)基极的信号瞬间对地来说极性为正(见图4中波形),经BG3放大输出至BG\(_{4}\)基极瞬间信号电位则为负,再经BG放大后的集电极输出信号电位又为正,而BG4射极交流瞬时电位同其基极,即为负,此负电压通过R\(_{5}\)直接反馈到BG4基极与输入正信号混合加至BG\(_{2}\)基极,合成输入信号减弱,所以它是负反馈。又此负反馈取自于BG4射极,反馈电压正比于BG\(_{4}\)的输出电流,反馈电流If与信号电流I\(_{i}\)是并联送入BG3基极的,故又称并联电流负反馈。这种电路的闭环电压放大倍数为K\(_{vf}\)=R5· Z\(_{c4}\)R6·R\(_{i}\)(式中:Zc4是BG\(_{4}\)负载等效阻抗;Ri为BG\(_{3}\)基极输入等效串联阻抗)。由公式可见,这种两级间深负反馈的组合电路,其电压放大倍数与晶体管本身放大系数基本无关。因此,采用这种组合电路可使该级增益不受集成块内管子β值不一致性所影响,从而获得固定增益,这是头一个好处。本级配用图3外围电路后,465KHz时的增益为35dB,10.7MHz时的增益为30dB。

其次,因反馈电流是并联送至BG\(_{3}\)基极,这使BG3的交流输入阻抗比无反馈时降低,恰好与前级跟随器低输出阻抗相匹配。这种级间低阻抗匹配有受外界干扰小的优点。
最后,这种反馈对两管静态工作点有稳定作用(原理可参照图4交流反馈分析),可使本级温度特性好,增益稳定。
另外,调频中周B\(_{3}\)与调幅中周B4相串联构成了本级的输出负载。465KHz信号到来时,B\(_{3}\)的L3小而相当于短路,由B4起谐振选频作用;10.7MHz信号到来时,B\(_{4}\)的C14大而相当于短路,则由B\(_{3}\)起谐振选频作用。
调幅检波级
由BG\(_{5}\)、D1、R\(_{7}\)、R8、R\(_{9}\)、R10组成的共射放大电路,当做晶体三级管检波器使用。R\(_{8}\)是BG5的负载电阻;R\(_{9}\)是BG5的射极电阻,起电流负反馈作用,用以稳定BG\(_{5}\)的直流工作点;R7为D\(_{1}\)提供直流通路,并和D1一起给BG\(_{5}\)管提供基极偏置电压;R10主要起隔离作用,防止从⑨脚来的中频信号加至D\(_{1}\)正极而被D1整流旁路。
本级共射放大电路能被用做调幅检波的关键是BG\(_{5}\)工作点的选择。利用D1二极管结压降与BG\(_{5}\)之B-E结压降相近的特点,使BG5处于微导通状态,即使BG\(_{5}\)工作点接近截止区,使其集电极输出的只有半波信号(这与乙类推挽放大器单只管子输出半边波形的原理相类似)。实质是使BG5工作于非线性放大状态,利用传输特性曲线V\(_{BE}\)-IC的非线性进行检波。工作过程见图5,当BG\(_{5}\)基极输入图示的调幅信号时,载波的正半周使BG5导通,而负半周使BG\(_{5}\) 截止,BG5集电极上输出的电压波形与一般收音机二极管检波后的信号波形是一样的,此检波信号经过外电路滤波后,便得到图示最后输出的音频信号。

在集成电路中,采用这种三极管检波有效率高、小信号输入时失真小等优点。本级检波损耗约为-14dB,比二极管检波少损失6dB左右。
调频限幅放大级
调频限幅放大级由放大器Ⅳ担任。这是由BG\(_{6}\)、BG7、D\(_{2}\)、D3、D\(_{4}\)、R11及其外电路构成的一种典型的单端输入、单端输出差分放大电路。R\(_{11}\)为两管共射极电阻;D2、D\(_{3}\)、D4为两管基极分别建立了约为2.1伏的偏置电压,BG\(_{7}\)基极经外电路C6交流接地,是交流零电位,因此,BG\(_{6}\)基极是信号输入端。BG6集电极直接接电源,而BG\(_{7}\)集电极接比例鉴频器初级回路,故后者是输出端。
因这种差分电路有双向硬限幅特性,所以广泛用于调频收音机及电视机伴音接收做中频放大与限幅器等使用。大家知道,对调频信号在鉴频解调前限幅得越好,该机抗干扰性能也越好。图6所示为这种差分放大器的传输特性曲线,横坐标表示两管是极间的交流信号电压差;纵坐标表示输出端的集电极电流。横坐标单位:\(\frac{KT}{q}\),式中K为波尔兹曼常数;T为绝对温度。q为电子电荷量,常温时KT;q=26mV。纵坐标单位:αI\(_{0}\),式中α为晶体管电流放大系数;I0为该管静态电流。由图可见,当输入信号电压V\(_{i}\)≥4KT/q时,即超过104mV,输出电流IC即基本保持恒定不变,表明输出信号已处于良好的限幅状态。LA1201前两级放大器的调频总增益为25dB+30dB=55dB,故BG\(_{1}\)基极注入0.2mV的调频信号,BG7输出信号即呈限幅状态。本差分放大器的电压增益约20dB,故输出限幅信号可达1伏。

稳压器
BG\(_{8}\)、BG9、D\(_{5}\)、R12、R\(_{13}\)、R14构成了典型的串联式负反馈稳压电路。R\(_{12}\)、R13组成取样电路,BG\(_{9}\)是比较放大器,D5建立基准电压,BG\(_{8}\)为调整管,R14是恒流源电阻。该稳压器可保证LA1201在4~9伏外电源电压条件下,向LA1201内电路输出3伏稳定的工作电压,并可通过②脚向收音机前级调频头和调幅变频级提供最大可达3毫安的3伏稳定电压。
主要技术性能
1.最大电源电压V\(_{ccmax}\):10伏
2.推荐使用电压V\(_{cc}\): 6伏
3.零信电流(静态功耗电流)I\(_{cco}\): 调幅时4.2毫安;调频时6.8毫安。
4.调幅波音频谐波失真率r:0.8~1.8%。
5.调幅检波输出V\(_{0}\):115毫伏(输入1毫伏,30%调制度、400Hz调制的中频信号时)。
使用注意事项
1.第一放大级工作点调整:在无信号输入时,用内阻为50KΩ以上的直流电压表(或万用表)测量④、⑥脚间电压差,调整W\(_{1}\)使V4-6=0.5伏,即可使BG\(_{1}\)工作于AGC最佳状态和获得前述增益。
2.测量电压或观测波形之际,切不可误将②、③脚间短路,以免过电流损坏集成块。
3.自装收音机时,对LA1201的安装位置应注意使它的长轴方向与整机磁棒的方向相垂直,减弱电磁耦合,以避免干扰哨叫。
4. 使用3伏的低电源电压条件下,可将②、短路。(上官沁)