本刊前两期介绍的单管机和两管机都是选用高阻抗耳机,这里向您介绍一个使用8欧低阻耳机的三管收音机。
工作原理
图1是它的电路图。电磁波在线圈L\(_{1}\)感应出高频电流,经L1C\(_{1}\)调谐回路选择后,由L1耦合到L\(_{2}\),由于电容C2、L\(_{3}\)对高频电流的阻抗极低,所以L2上的高频信号电压即加到晶体管BG\(_{1}\)的基极和发射极上。在BG1发射极回路里串联的再生线圈L\(_{3}\),使部分高频信号正反馈到L2,从而加强信号强度,提高了接收灵敏度、放大后高频信号由集电极输出,在高频扼流线圈GZL上产生电压降,由电容C\(_{3}\)耦合到晶体管BG2进行三极管检波。检波后的音频信号由集电极输出直接耦合到BG\(_{3}\)的基极进行音频放大。BG3接成发射极输出,输出阻抗较低以便和低阻耳机相匹配。

R\(_{1}\)是高放管BG1的偏流电阻,R\(_{2}\)是BG2和BG\(_{3}\)的共用偏流电阻。R3的作用是减小整机总电流,也是BG\(_{2}\)的集电极负载。电容C4用以旁路残余高频信号,同时又能改善音质。
元器件选择
晶体管BG\(_{1}\)、BG2可采用3DG6型硅高频小功率三极管,或用 3DG202、3DG57等塑料封装硅三极管;BG\(_{3}\)要选用3AX31型锗低频小功率三极管,它们的管脚接线见图2。晶体管的放大倍数β值要求见图1。

电阻R\(_{1}\)、R2\(_{3}\)可选用1/18瓦或1/16瓦的碳膜电阻器。C1是可变电容器,可采用2×27pF密封双连,实际使用时只用其中一连。C\(_{2}\)、C3和C\(_{4}\)可采用瓷片电容器,这种电容器体积小,价格也较便宜。C2、C\(_{3}\)的容量可在3300P~0.047μ范围内选取。
电感元件L\(_{1}\)、L2、L\(_{3}\)和自制高阻圈GZL的数据,见附表。GZL电感量为2.5毫亨,也可用市售成品。

CK为3.5毫米口径的耳机插孔,买来的插孔需要改制方可使用。改制方法见图3,这样拔去耳机插头时,接点②、③自动跳开切断电源,使插孔兼作电源开关。耳机要用8欧姆小型低阻耳塞机。

制作步骤
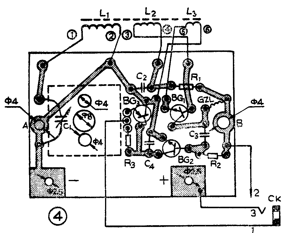
1.先做印刷电路板。取70×50平方毫米大小的单面敷铜板,用复写纸把图4的印刷电路图复写在敷铜板的铜箔面上,用冲子在要钻孔的地方冲一个凹眼。然后用新毛笔蘸取少量漆在铜箔面上画出电路图,待干后,用小刀略作修正就可进行腐蚀。腐蚀时,可把敷铜板浸末在65%的三氯化铁水溶液里,直至没有复盖漆膜的铜箔全部腐蚀完后,就可以取出电路板,并用清水漂洗干净。

腐蚀好的电路板,可用小刀或砂纸去漆膜,接着可以钻孔,除了几个大孔的孔径已在图中标出,其余安装元件的小孔的孔径均为1毫米。最后用细砂纸把铜箔打光、洗净,并涂上一层松香酒精溶液(助焊剂),凉干就可使用。
2.安装电池夹。最好用较厚(0.5毫米左右)的磷铜皮弯制而成。在正极板上可按本刊第7期45页介绍的方法,在铜皮上打一个圆坑。在负极板上最好能焊上或卡入一个小弹簧,然后用铜铆钉把电池夹铆接在电路板上,并搪上一层焊锡以保证良好接触,见图5。

3.安装可变电容器。用直径为3毫米的小螺丝,把密封双连固定在电路板上,然后用裸铜线把其中一连的动片与定片分别与电路板相连。
4.安装晶体管与阻容元件。将晶体管、电阻和电容器分别插入电路板相应的小孔内,引线要尽量剪短,并事先刮净搪上锡。
5.安装电感元件。首先焊高阻圈GZL,接着焊线圈L\(_{1}\)与L2,再生线圈L\(_{3}\)暂时空着不接。然后用棉纱线通过印刷板的小孔将磁棒扎牢在印刷电路板上。
6.最后用多股软接线把耳机插孔CK接入电路,一个低阻三管机就基本制作好了。
调试
1、对照图1与图4,检查无误后方可放入干电池。
2.用导线暂时短路L\(_{3}\)线圈的焊点,在BG1发射极与地之间串接一只电流表,用一只100千欧电位器串接一只10千欧电阻代替R\(_{1}\),调整电位器阻值,使电流表指示在0.5~1毫安。测一下电位器阻值并加上10千欧,找阻值相同的固定电阻代替后焊上R1。
3.调整BG\(_{2}\)电流时,暂先不焊上BG5管子的基极,用100千欧电位器串接一个50千欧电阻代替R\(_{2}\),在F点串接电流表,调整电位器使BG2集电极电流调到0.1~0.2毫安,焊上调整后的R\(_{2}\)电阻。
4.焊上BG\(_{3}\)管的基极,继续短路L3焊点。用电流表测总电流(电表串接在F点),总电流不要超过5毫安,否则耗电过大,这时减小R\(_{3}\)阻值,可减小总电流。如果发现总电流过小,可增大R3阻值,使总电流控制在3毫安左右。
5.调整再生线圈。撤去短路线,将L\(_{3}\)接入电路,会发现灵敏度有所提高。如果出现啸叫,说明再生过强,可把L3匝数减少到1匝。如果接入L\(_{3}\)发现灵敏度反而下降。说明再生线圈L3两线头接反,只要把L\(_{3}\)两线头⑤、⑥对调一下就可以了。
6.本机接收范围应是535~1605千赫。如果发现C\(_{1}\)全部旋出,还不能收到当地高端电台信号,说明L1匝数过多,可拆除几圈。反之,当C\(_{1}\)全部旋进,还不能收到当地低端电台广播,说明L1匝数过少,可增加几圈。
装配
本机机盒可用薄木板自制,体积约为80×60 ×32(立方毫米)。机盒与机芯连接可借助紧固双连的两个小螺丝钉把机盒、双连和电路板三者紧固在一起。也可利用图4的A、B两孔把机芯与机盒固定在一起,双连轴伸出机盒外,配上旋钮就可以了,见图6。


本机输出音量较大。在家使用时可以带动2.5英寸8欧姆动圈喇叭放音。这时可另做一个90×90×45(立方毫米)大小的小木盒,作为外接喇叭箱。内装8欧动圈喇叭,在喇叭引线上配一个3.5毫米的两芯耳塞机插头,见图7。使用时,只要把插头插入本机的耳机插孔内就可放音,外出时可使用耳塞机。如果主要想用本机带动喇叭放音的,可适当增大R\(_{3}\)阻值,使整机总电流大些,调到5~10毫安左右。(陈有卿)