本文介绍的简易牧场需水计,是一种远距离测量牧场草地是否缺水的简易装置,通过表头显示,为牧民提供浇灌草地的信息。
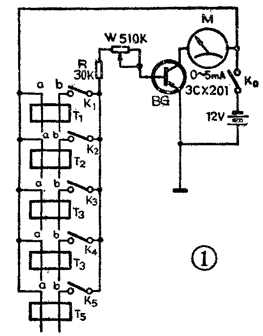
牧场需水计的工作原理见图1。T\(_{1}\)~T5为探头,它是由a、b两根铜棒及固定a、b用的绝缘板组成。a、b铜棒插入草地,在电路通电时,a、b间相当于一个电阻,其阻值随着草地含水量的多少而发生变化。T\(_{1}\)~T5分别插入被监测草地的东、南、西、北及中间位置,以便对该地的缺水情况了解得较全面些。当选择开关K\(_{1}\)~K5任意闭合一个时(例如合上K\(_{1}\)),这时电源通过探头a、b经K1、R、W为BG基极提供偏置电流,由于a、b间的电阻是随草地的含水量多少而变化,因而BG基极电流也随之而变化,从而使BG集电极电流也随之成正比例地变化,也就是说,串接在BG集电极上的电流表M所指示的数值,就代表着草地含水量的多少,这样,草地需水情况就从表头M上直观地反映出来了。

T\(_{1}\)~T5的加工方法见图2。a、b为直径φ3mm的黄铜棒,将其一端磨尖以利于插入草地,另一端套丝拧上螺母以利于固定引线,绝缘板采用聚氯乙烯塑料板,厚度为5mm。K\(_{1}\)~K5为钮子开关或波段开关。BG也可选用3AX31型,但要求I\(_{ceo}\)<200μA。表头M为44C2—A,0~5mA,在装配前应将表头面板刻度改一下,方法是:将面板刻度分成10等分,每等分线上标上10、20……100,其含意是浇足水为100%,而100以下的数值即代表相对草地浇足水时的百分比。探头与仪表的连接线最好用电话电缆,在架设时要求线间绝缘不小于1MΩ。

按电路焊好后,就可通电调试。将探头插入浇足水的草地中,调整电位器W使表头M指示满度。然后拔出探头改插入确认为是需浇水的草地,记下表头指示刻度,以后测得数值若低于或等于此指示刻度,就表示这块草地需要浇水了。
经试验,探头与仪表相距约5公里左右仍能正常探测。(任致程)