本刊今年第3期“电子手表电路在数字仪表中的应用”发表后,很多读者来信提出希望提供钟表电路的详细资料,现将北京市半导体器件三厂生产的钟表电路作一介绍。
指针式电子钟表电路介绍
目前国内几个厂家生产的电子钟表电路没有统一的型号,电路封装形式、管脚排列、电气参数和输出功能都略有差异。北京市半导体器件三厂的厂标型号为BH007(手表电路)和BH026(钟电路)。为满足数字仪表电路的应用,除以塑料封装形式提供产品外,也采用14线标准扁平陶瓷封装结构。
图1a虚线框内为 BH007电路逻辑示意图,它是专门为指针式电子手表而设计的。图中F\(_{1}\)、R1、C\(_{2}\)和外接的晶体(32768Hz)、微调电容器C1组成晶体振荡器。F\(_{2}\)、F3、R\(_{2}\)、R3组成停表控制部分,当停表端(5)悬空或接电源负端时电路输出正常秒功能,当停表端接电源正极时晶振信号被封住,所有触发器停止翻转。触发器D\(_{1}\)~D16组成分频器。将32768Hz信号分颇为2秒周期(即1/2周/秒)的信号。在第9级分频器处引出一个测试端,即图1a上第12脚64Hz输出端。受第9级分频器控制的双向开关TG\(_{1}\)和TG2连同F\(_{4}\)、F5、F\(_{6}\)、F7组成窄脉冲发生器。F\(_{8}\)和F9为输出电流驱动器,在1.5V电源时可允许输出端拉、灌电流大于0.5mA(负载电阻R\(_{L}\)=2.7KΩ)。

图1b为BG007管脚排列图,图1c为其各输出端波形示意图。
BH026为指针式电子钟电路,其工作原理与BH007相似。图2a为BH026管脚图,图2b为各输出功能波形图。电子钟电路比手表电路多一响闹功能,响闹频率为2048Hz,每隔0.125秒响闹0.125秒钟。当5脚悬空或接电源负极时,4脚输出可通过一个三极管放大后驱动压电陶瓷蜂鸣器或扬声器;当5脚接电源正极时响闹停止。与BH007相比,BH026的驱动马达输出脉宽大三倍,这是考虑到电子钟要求更大的驱动力矩带动钟针。

电源工作电压
BH007和BH026是专为电子钟表而设计的,电子表采用一个氧化银电池,电子钟采用一节五号或一号干电池,因而集成电路只要求在1.3V到1.65V范围工作。基于这个考虑、为了减小集成电路芯片面积,在制造钟表电路时采用浓硼和浓磷直接接触的P-N结保护环结构。由于浓硼和浓磷接触形成的P-N结反向击穿电压在6~8V之间,在数字仪表电路中应用时建议工作电压不要超过5V。对于工作电压的下限,建议不要低于1.5V,因为当电源电压低于 1.5V时晶体振荡器中放大器增益很低,起振过程较长,这在钟表中应用时关系不大,在数字仪表中应用时往往希望接通电源后立即工作,因此需加注意。
与数字电路一起使用时的电平转换
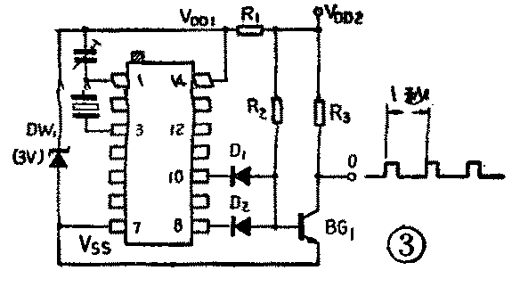
BH007与BH026电路的驱动马达输出端可直接驱动TTL电路(采用5V电压),如果希望驱动工作电压大于5V的数字电路就需要加一级电平转换电路。图3是一种简便的电平转换电路,只要D\(_{1}\)、D2、BG\(_{1}\)反向击穿电压许可,VDD2可选用3到25V范围内任一值。R\(_{1}\)、DW1将V\(_{DD1}\)稳定在3V左右(如果驱动马达输出端驱动电流较大,还应在DW1两端并联一个1μF左右的滤波电容),R\(_{1}\)值根据VDD2而定。R\(_{2}\)、R3值也由V\(_{DD2}\)和BG1及输出点0所驱动电流值决定,当驱动马达输出端8或10输出低电平时,它们允许吸收0.5mA以上的电流,因而最小R\(_{2}\)值:R2min=\(\frac{V}{_{DD2}}\)-VD1-V\(_{OL}\)I吸收电流≈VDD2;0.5mA。在取R\(_{2}\)=R2min时可获得BG\(_{1}\)驱动的最大集电极电流IC≈0.5mA×β(β为BG\(_{1}\)共发射极电流放大系数)。图3中0点输出的是周期为1秒的正脉冲,脉冲宽度依选用的是BH007或BH026而定。

如果要引用BH007中12脚64Hz占空比50%的方波,可用图4所示电平转换电路。但由于12脚输出驱动能力很低,所以R\(_{1}\)应取390~510KΩ,R2取100~150KΩ。


钟表电路作为简单数字电路中的时间控制是很方便的,精度也很高,将窄脉冲经过适当的逻辑组合可作为逻辑控制中的清零、存送等脉冲信号。但是BH007和BH026本身没有清零端,因而在接通电源瞬间,电路内部各触发器无法清零,这给有些使用带来困难。要克服这点,建议采用CMOS倒相器和多级带清零的分频电路,模拟钟表电路功能,如图5所示。(刘友声 林天伦)