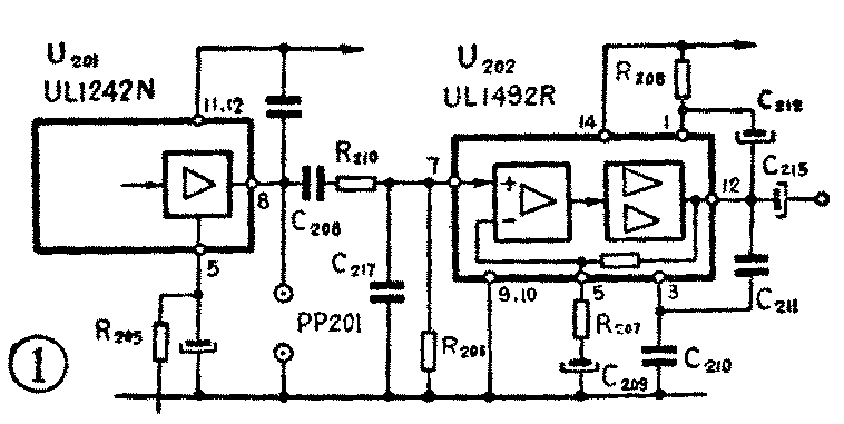
波兰625型电视机的伴音部分采用两块集成电路UL1242N(或TBA120S)和UL1492R(或TBA790LB)作伴音中放和低放输出。而低放输出集成电路UL1492R较易损坏,造成无声故障。在无此集成电路替换的情况下,可采用对原电路进行改接的办法恢复伴音。经多次检修试验,证明效果良好。


对电路进行改接的方法如下:首先开机测量集成电路UL1492R输出端12脚的电压。当此点电压低于正常值6V而高于1.5V时,可对原电路(见图1)进行改接。关机后,取下伴音组件,将集成电路UL1492R的3、7脚用导线连接起来。焊下R206、C217、R210,在C208上并接一只100μ/6.3V的电解电容。再在C208与集成电路UL1492R的7脚之间串接一只47μ/6.3V的电解电容。改动后的电路见图2。然后插上伴音组件,开机试听,若音量开到最大时,还感伴音音量不足,可焊下C211,减小输出级的负反馈,以增大输出功率。(赵泽雄)