随着电子工业的发展,社会上收录机越来越多,其调频波段多为88~108MHz。国际上多数国家也都使用这个频段广播调频节目。
由于目前我国只有少数城市开设了调频广播,播音时间也较短,远远满足不了广大爱好者的要求。但是电视广播覆盖范围远大于调频广播,如果能用收录机的调频波段直接收听电视伴音节目那就方便多了。为此我们作了一个频率转换器,可将电视广播的1~4频道,6~12频道的伴音载频转换到88~108MHz的某个频率上,这样就能在收录机中收听到电视伴音。这个装置经过在香港2006型收录机上使用,效果良好。下面介绍一下该转换器的原理、制作和调整。
原理
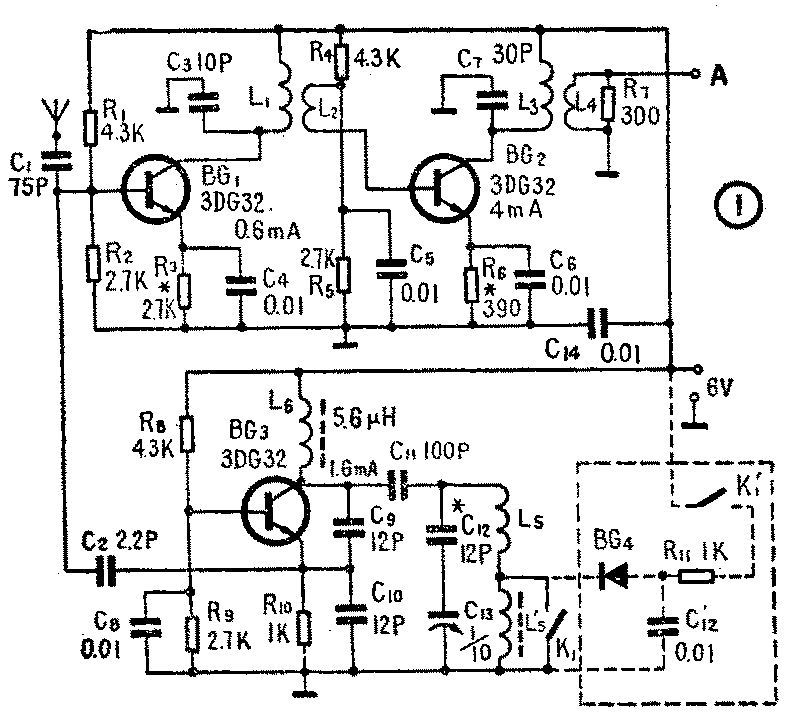
图1为原理图。BG\(_{1}\)为混频管,电视伴音信号由天线经C1输送到BG\(_{1}\)的基极,C3、L\(_{1}\)组成的谐振回路为BG1的负载,谐振在88~108MHz。BG\(_{3}\)为振荡管,C12、C\(_{13}\)、L5、L\(_{5}\)′为振荡回路元件,C9、C\(_{1}\)0为反馈电容,C11为振荡回路与BG\(_{3}\)的耦合电容,C8为BG\(_{3}\)基极接地电容,L6是高频阻流圈。当K\(_{1}\)打开时,L5、L\(_{5}\)′串联后接入振荡回路,此时的振荡频率为20~40MHz,与电视4~1频道的伴音载频之和为100MHz左右,刚好落在收录机的调频段内;当K1闭合时,L5′被短路,此时的振荡频率为85~115MHz,与电视6~12频道的伴音载频之差为100MHz左右,也落在收录机的频段内。本振的高频振荡信号经C\(_{2}\)耦合到BG1的基极与电视伴音信号混频后被C\(_{3}\)、L1组成的谐振回路选出,然后经L\(_{2}\)耦合到BG2的基极进一步放大。C\(_{7}\)、L3组成的谐振回路也谐振在88~108MHz的频段上。放大后的信号由L\(_{4}\)耦合输出。

制作
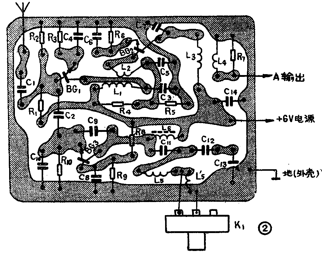
BG\(_{1}\)~BG3可选用 3DG32、3DG56、3DG79、3DG80等超高频低噪声晶体管、BG\(_{4}\)可选用2CK13。电阻R1~R\(_{11}\)可选用1/8W的RTX型小型碳膜电阻。电容C1、C\(_{3}\)、C7、C\(_{9}\)、C10、C\(_{11}\)可选用普通小瓷片或小瓷管电容器,C12可以在8.2P、10P、12P中选取。电容C\(_{2}\)、C4、C\(_{5}\)、C6、C\(_{8}\)、C14、C\(_{12}\)′可选用2200P~0.1μ范围内的独石电容或者用高频介质损耗小、引线电感小的其他电容。C13可选用1/10的CWB型玻璃介质微调电容器。L\(_{1}\)~L5的绕制数据和绕制方法见表。印制电路板图(1∶1)如图2所示。K′可用小型拨动开关。印制板焊完调整好工作点后,应装在高度约为30mm左右的铜皮或马口铁做的围框内,上下加上屏蔽盖。K\(_{1}\)安装在围框靠近L5、L\(_{5}\)′的一面,如果没有拨动开关,可用图1中虚线部分的电路代替K1,这时K′可用任意一种小型开关。另外,微调电容C\(_{13}\)也可不用,将其短路即可。


调整
安装完毕检查无误时,加上6伏电压进行调整。首先检查各级直流工作点,看是否正常,BG\(_{1}\)、BG2的发射极电流分别为0.6mA和4mA左右,BG\(_{3}\)的集电极电流为1.6mA。BG1和BG\(_{2}\)的基极电位应比其发射极电位高0.7伏,但BG3基极与发射极之间的电位差要小一些,而且当将L\(_{5}\)、L5′短路时,BG\(_{3}\)的工作电流应有所上升。
工作正常后将转换器的输出引线接到收录机的拉杆天线上,将收录机的开关置于接收调频广播的位置上。首先关闭转换器上的K\(_{1}\),调节L5的松紧,并配合调节收录机的调谐旋钮,使之在88~108MHz的范围内能收听到6~12频道的电视伴音节目。然后打开K\(_{1}\),调节L5′的磁心,配合调节收录机的调谐旋钮,使之在88~108的MHz的范围内能收听到1—4频道的电视伴音节目、接收点选定以后,再反复调整L\(_{1}\)、L3的松紧,使收到的电视伴音信号最好为止,或使调谐电平表指示最大为止。(丁言)