目前音乐爱好者在家庭中欣赏音响设备节目时都喜欢使用多只喇叭。几只喇叭同时接到音响设备(如收音机、录音机、扩音机等)上,如果相位接得正确,会使声音增强而且好听;接得不合适就会使音乐大为减色。这就出现了如何辨别喇叭相位的问题。喇叭相位的辨别方法以往多有介绍,但有的麻烦有的效果不够明显。这里介绍一种用声象展宽原理辨别喇叭相位的方法,既简便,效果又明显。上期《立体声声像扩展电路原理与制作》一文已阐明立体声声像展宽的原理,当在左、右通道内适量引进邻通道反相信号时,声像位置就会向两侧扩展,形成一种扬声器界外放音状态(图1)。声像扩展的程度随着引进邻道反相信号大小而改变(一般以1/5为宜)。引进量过大会使声像无法定位并且模糊失真,音质变坏。

如果我们按图2将两只扬声器同相位接到一个单声道音响设备(如收音机等)上,声像必然在两扬声器连线的中间出现。如按图3反相位连接,由于相当于邻通道引进量过大的情况,必然出现声像无法定位,而且音质变坏。利用上述现象我们可以很方便地判断两个扬声器的相位。


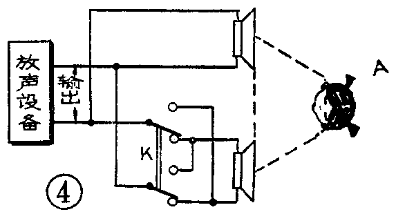
判断方法:将放声设备与要判断极性的两只扬声器按图4联线,并将两只扬声器水平拉开一定距离,判断者处在A处听音。开启放声设备(如收音机等),使音量适当。拨动开关K,根据声像在扬声器间的跳进跳出情况就可准确判断扬声器的相位关系。当开关K在某一位置感到声像在两扬声器之间正中位置时,则说明两扬声器此时不但同相位联接,而且两扬声器灵敏度相同。如果声像虽在两扬声器之间。但稍偏向一方,这说明两扬声器的灵敏度不一样。如开关K在某边出现声像没有具体位置,无法定位,且音质显著变差,则此时两扬声器接法相位相反。



使用上述方法辨别扬声器相位时应注意选择适当的信号源。对于低音扬声器可直接用全频带信号,高音扬声器应使用经过分频之后的高频信号,以防止由于大振幅低频信号损坏高音扬声器。辨别不同种类的扬声器(如一只低音,一只高音)应选用两种扬声器都能兼顾的频段信号。如手头无现成的分频器,可按图5用电容分频,C可使用10~20μF的电容器,低音部分的信号最好接入一个假负载电阻(阻值和功率与喇叭相同)。拨动开关K,如在两扬声器间无明显声像出现,则说明两扬声器灵敏度相差太多,不宜同时配用。如非用不可,则应在灵敏度高(比较响)的一只扬声器上接入一个衰减器(如图6),R取30~40欧,通过衰减量的调整,使声像刚好落在两扬声器中心位置。试验时如手头上无双刀双掷开关也可将一只扬声器两根引线来回对调听声像位置的变化。扬声器如在音箱中更容易辨别,但应注意放声设备与扬声器之间的阻抗及功率匹配。(顾克明)