由于电解电容器的引出线有正、负极之分,在检测时,应当把红表笔棒接到电容器的负极,(因为万用表使用电阻档时,红表笔与电池负极连接)黑表笔棒接到电容器的正极(如图10a所示),这样测试出来的漏电电阻数值才是正确的。反接时,一般漏电电阻比正接时小(如图10b所示)。利用这一点,可以判定正、负极标志不明的电解电容器的极性。先任意测一下漏电电阻,记住其大小,然后将电容器两引出线短路一下,并交换表棒再测一下。两次中阻值大的那一次是正向接法(如图10a所示),黑表笔接的是正极,红表笔接的是负极。但用这种方法对漏电小的电容器不易区别其极性。

对于可变电容器,同样可用上述方法判断其是否发生碰片或漏电。如图11那样将万用表的两根表棒分别与可变电容器的定片和动片引出端相连。同时将电容器轴来回旋转几下,表针都应指在∞位置不动。如果表针指向0或某一较小的数值,说明这个可变电容器已发生碰片,应予修复或更换。密封单连(或双连)产生漏电电阻变小的现象,很可能是受潮引起的。把它烘干后如漏电电阻变大(并符合上文要求),还能继续使用。

检查电容器时应注意:(1)被检查的电容器必须从电路上焊下或至少要焊开一个头,并且人手不要触及表棒和电容器的导电部分。
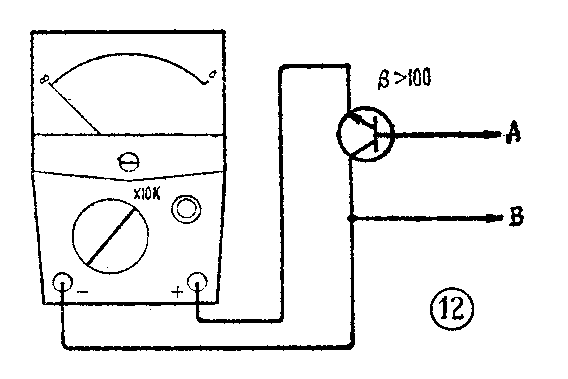
(2)为了检查电容量小于4700pF的电容器,可以采用图12所示的方法。在万用表与被测电容之间加一个NPN型硅三极管,要求β大于100,并要求集电极、发射极之间耐压大于25伏,I\(_{CEO}\)越小越好。电容器接到A、B两端,由于三极管的放大作用,较小的电容量就能使表针有较大的摆动,然后返回至∞位置。例如,用MF30型万用表的R×10K档,三极管的β为100,最小可测到240pF左右的电容器。

四、检查二极管
用万用表检查二极管的情况如图13所示。一般用R×100或R×1K档进行。由于二极管具有单向导电性,它的正向电阻和反向电阻是不相等的,两者相差越大越好。对于常用的小功率检波二极管,反向电阻应比正向电阻大数百倍以上。当万用表的红表棒接二极管的正极、黑表棒接其负极时,测得的是反向电阻,见图13。此值一般要大于几百千欧。反之,红表棒接二极管的负极,黑表棒接正极,测得的是正向电阻。对于锗二极管,正向电阻一般在100—1000Ω左右,对于硅二极管,一般在几百欧~几千欧。

如果两次测得的阻值都是无穷大,说明二极管内部开路。如果都是零,表示二极管内部短路。如果两次差别不大,说明二极管失效。
此外,由于二极管是非线性元件,用不同倍率的欧姆档或不同灵敏度的万用表进行测试时,所得数据是不同的,但是正、反向电阻间应相差几百倍这一原则是不变的。
五、检查三极管
拿到一个半导体三极管,如果已知它的型号和管脚排列,可用下列方法来初步判断其性能的好坏。应该注意的是,对一般的小功率管子,不要用R×10K档进行测试,因为该档内的电池电压都较高,容易损坏管子。
(1)检查穿透电流I\(_{CEO}\)。按图14所示连接,图中所画是测NPN型管子的接法,测PNP型管子时如图15所示。量程一般选用R×100或R×1000档,要求测得的电阻数值越大越好。对于中小功率的锗管,此值通常应大于数千欧。对于硅管应大于数百千欧,才能使用。如果阻值大小,表明ICEO很大,管子的性能不好。如果表针漂移不定,表明管子的稳定性很差。如果阻值接近于0,则表明管子已击穿损坏。


(2)检查放大性能(β)。如是NPN管可按图16所示连接电路。如是PNP型管,则按图17连接电路,此时表针应向右偏转。偏转的角度越大,说明放大倍数β越大。如果加了电阻之后表针变化不大,或者根本不变,则表明管子的放大作用很差或者已经损坏。电阻R可在50~100KΩ之间选用。也可利用人体电阻,即用手用力捏住c、b两脚(但c、b间不能短路)来代替电阻R。


如果不知管子的型号及管脚排列,可按下述方法进行判断:
①先判定基极。用万用表的R×100档测量管子三个电极中每两个极之间的正反向电阻。当用第一根表棒接某一电极,而第二根表棒先后接另外两个电极均测得低阻值时,则第一根表棒所接的那个电极即为基极。同时,请注意表棒的极性,如果黑表棒接基极,红表棒分别接在其它两极时,测得阻值都较小,则可确定三极管为NPN型(见图18所示),反之即为PNP型。

②判定集电极和发射极。找到基极并确定为NPN型管子后,在剩下的两个管脚中可先假定一个为集电极,另一个为发射极,按图16所示的方法测试其放大作用(如确定为PNP型管子,则按图17测试),并记住表针偏转的位置。然后把假设反过来,即把刚才所用电路中c、e脚对换一下(表笔及电阻位置不变),再测试其放大作用。比较两次测试结果,其中偏转角度大(电阻小)的那次假设是正确的。(施国范)