集成运放的使用,除极少数情况外(如接成比较器等),都必须用外接电路构成闭环,不同形式的外接反馈电路,可使运放获得不同的运算功能。
怎样构成闭环
图1a中,将反馈电阻R\(_{f}\)由输出端接到反相输入端,使输出反馈信号和输入信号在Σ点相加,Σ点被称为相加点(符号Σ就是相加的意思)。由于Rf送回来的信号与输入信号相位相反,有抑制输入信号的作用,所以这种反馈形式称为负反馈。反之,若将R\(_{f}\)接到同相输入端时,就会使输入信号得到加强,这就是正反馈,正反馈只能在运放接成振荡器时采用。要完成各种运算功能时,一般都需将运放接成负反馈形式。

上次已讲过,集成运放的开环增益K\(_{0}\)=V0V\(_{Σ}\),当K0很大时,V\(_{0}\)》VΣ,可近似认为V\(_{Σ}\)=0,即Σ点近似具有地电位。但Σ点并非真正接地,所以Σ点常称为“虚地”点。弄清楚Σ点的作用,对分析运放的各种工作状态很有用。譬如,我们可应用“虚地”概念对图1a闭环电路进行简单分析:信号电流is=i\(_{入}\)+if,由于运放输入电阻很大,可认为运放输入电流i\(_{入}\)≈0,即有is≈i\(_{f}\),于是可将图1a等效为图1b电路。由图1b可算得is=V\(_{s}\)-VΣ;R\(_{1}\)=if=\(\frac{V}{_{Σ}}\)-V0R\(_{f}\),由于VΣ≈0,就可得到关系式V\(_{s}\);R1=V\(_{0}\)Rf,移项改写后就可得运放的闭环增益为V\(_{0}\);Vs=\(\frac{R}{_{f}}\)R1。这就说明,只要运放的输入电阻和开环增益足够高.其闭环增益与运放本身无关,仅取决于外接反馈电路的反馈比R\(_{f}\);R1,式中负号,表示输出电压V\(_{0}\)与输入电压Vs相位相反。
上述闭环电路的一种特殊情况是R\(_{f}\)=R1,即V\(_{0}\)Vs=-R\(_{f}\);R1=-1,这时V\(_{0}\)=-Vs,运放构成了倒相器,输出、输入信号等值反相。
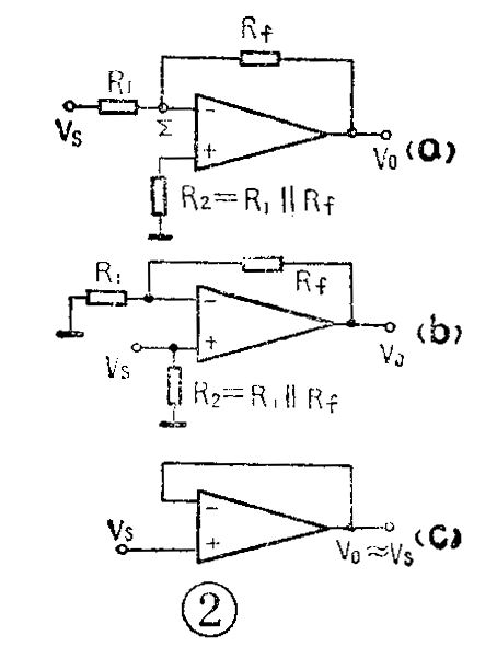
怎样接成线性放大器
图1a所示,就是将集成运放接成了反相线性放大器(各图正、负电源等引出端都没有画出)。实际应用中,为了改善运放输入级工作对称性,常采用图2a接法,即在同相输入端与地之间接入一个电阻R\(_{2}\),R2=R\(_{1}\)‖Rf=\(\frac{R}{_{1}}\)RfR\(_{1}\)+Rf。

当信号从同相端输入时,可按图2b接法,输出V\(_{0}\)与输入Vs相位相同,构成同相线性放大器,其电压增益为V\(_{0}\)Vs=(1+R\(_{f}\);R1)。图2c是同相放大器的特例,它是直接将输出端与反相输入端连接,将同相输出信号全部送回反相输入端,使运放没有电压增益,其输出信号总是稍小于同相输入信号。这种接法构成了电压跟随器,它与晶体管射极输出器相仿,亦具有输入阻抗高、输出阻抗低及电压增益≤1的特点。
怎样进行加法运算
按图3a接法,将需要相加的三个信号V\(_{s1}\)、Vs2、V\(_{s3}\)各经电阻R加到反相输入端,就可在输出端得到它们相加的信号。它们的关系亦可从“虚地”概念导出:由图可知if=i\(_{1}\)+i2+i\(_{3}\),即有-V0R\(_{f}\)=Vs1;R+\(\frac{V}{_{s2}}\)R+Vs3;R,因而可得到关系式-V\(_{0}\)=RfR(V\(_{s1}\)+Vs2+V\(_{s3}\)),若Rf=R,可得-V\(_{0}\)=Vs1+V\(_{s2}\)+Vs3,这就实现了输入信号的直接相加(负号仅表示反相)。图3b所示,是从同相端输入信号实现相加,但由于同相输入端P点电位不是“虚地”,因而输入信号之间互有影响,每一个输入回路电阻R对其余各路信号均有分压作用,计算较繁琐。输出、输入信号之间仍有加法关系,但不像从反相端输入信号那样简单,变成V\(_{0}\)=1;3(1+RfR\(_{1}\))(Vs1+V\(_{s2}\)+Vs3),如果有n个信号相加,则为V\(_{0}\)=1;n(1+RfR\(_{1}\))(Vs1+V\(_{s2}\)+……+Vsn)。

当用集成运放进行减法运算时,可按图4接法,分别将信号V\(_{s2}\)从同相端输入、Vs1从反相端输入,就可得到V\(_{0}\)=Vs2-V\(_{s1}\)的关系。

同样,只要变换外加反馈电路形式,还可以用集成运放来实现乘、除、积分、微分等多种数学运算。
怎样消除集成运放的自激
集成运放在实际应用时,常需要在集成块的有关管脚上外接R-C补偿电路或并联一个电容,这是为了消除集成运放自激振荡而加上的。当运放产生自激时,即使输入信号为零,亦会有输出信号,使各种运算功能无法实现,严重时还会损坏集成块。
放大器产生自激,必须具备两个条件:一是放大器应有足够的增益;二是放大器要构成正反馈,即反馈信号与原输入信号两者相位差360°(或者说相移360°)。对集成运放来说,这两个自激条件很易满足,因为集成运放一般多从反相端输入信号,其输出信号与输入信号相位差180°,而运放内部各级放大器的级间电容和各种分布电容又引起一个附加相移,当附加相移达到180°时就使总相移变成360°,构成正反馈。在这种情况下,只要运放增益足够高,就会产生自激。
要避免或消除运放自激,必须破坏以上所讲的产生自激的两个条件。具体的做法主要有:(1)印制板的布线、元器件的布局和电路安装等方面,应参照高频电路的要求进行设计。尽可能减少分布电容。(2)采用外接相位补偿电路,破坏自激条件。图5画出了四种较常见的相位补偿电路。各种不同型号的集成运放,外接电路的方式和位置也不同,应根据产品说明书的要求来选定。(3)加电源滤波电路,尽管集成运放采用稳压供电,但在集成运放供电脚接入处,仍需加电源滤波电路,最简单的是RC滤波电路如图5a。

集成电路的维修
无论线性集成电路还是数字集成电路,一旦装入整机电路板内,出现故障时,虽不像分立元件那样容易判断,但只要熟悉整机性能、电路结构,仍可按从后向前逐级检查的办法分析故障部位。首先可用三用表检查集成电路的供电电压是否符合规定,然后用示波器按测试点检查各级输入、输出信号。对数字电路来说是要查清逻辑关系,对运算放大器来说是要弄清放大特性。在任何情况下,可疑级总是发生在正常与不正常信号电压的两测试点之间的那一级。对可疑级集成电路,最快的判定办法是用同型号集成电路进行替换试验,因为对集成电路来说,只要内部有管子坏了,一般无法修复,只好更换整个集成电路。
集成电路是个多引线脚器件,插入印制板焊好后,要进行换装是比较困难的。要解决这个问题,常用两个办法:(1)使用特殊烙铁头,使烙铁头同时接触各引线脚的焊接点。图6a是用于双列直插式集成电路的烙铁头,图6b是用于圆形金属壳封装集成电路的烙铁头。烙铁头的具体结构尺寸,可按所用集成电路的实际装配尺寸来定。(2)使用内热式解焊器,如图7。这种解焊器使用时,首先挤压橡皮球,将焊料收集筒上的吸焊头置于解焊点上,待焊料熔化后,放松橡皮球,焊料被吸入收集筒内。然后将内热式解焊器离开解焊点,再挤压橡皮球,将收集简内的焊料从吸锡头喷出。当然,这种专用工具也能用于焊接。


使用专用烙铁头来拆装集成电路,主要优点是速度快,缺点是若焊接时间过长,印制板会过热变形,或使电路铜箔剥离印制基板。业余条件下换装集成电路,可用电烙铁头加热印制板上的集成电路引线脚焊点,然后用硬鬃刷把熔化了的焊料刷掉,如果一次刷不干净可再加热后刷一次,直至把焊料清除掉即可将集成电路取下。(金国钧编译)