不怕光干扰的红外光电开关,主要有三个特点:一是不怕光干扰,即使在相当强烈的光照下,照样正常工作;二是作用距离大,采用小功率红外发光管,作用距离可达几十厘米;三是这种光电开关既可以做成直射式,也可以做成反射式。由于具有以上特点,给使用带来了很多方便:无论室内户外或白天黑夜,均可使用;检测距离可以靠得很近,也可以离得较远;对静止不动的物体、运动物体、流体、透明玻璃、黑色材料都能检测;分辨能力高、响应速度快、不受磁场影响、不怕震动。所以,这种红外光电开关可以应用到光电检测、光电计数、光电测速等方面,还可以作板料和纸张的定长切断控制,作光电定位和自动停车控制,作线材断头报警,作纸张或薄膜的破损检测等等。
这种红外光电开关之所以不怕光干扰,是由于红外线发光管不是通以直流电,而是通过一定频率的脉冲电流,所以发出的红外线也具有同样的变化频率。我们可以近似地把这种按一定频率脉动变化的光看成“调制光”,调制光的波长是一定的,例如我们用的红外发光管发出的是0.93μm的近红外线,只是光强随着时间脉动变化。因为控制脉冲的上平顶可以做得很窄,所以如果通过发光管的脉冲电流平均值和某个直流电流相当,则脉冲电流的峰值可以远远大于这个直流电流,因而可以利用小功率发光管来获得峰值相当大的辐射光功率。同时这种光电开关的受光部分可以从各种干扰光中只检出规定频率的脉动光,而把由杂散光照射引起的光反应信号剔除掉,即使很强的日光照射,但由于不是规定频率的脉动光,所以也被滤掉。
线路原理
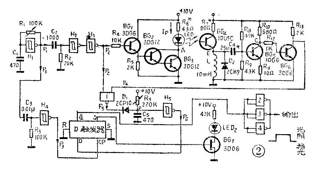
控制脉冲的信号源是一个多谐振荡器,由一个斯密特触发器H\(_{1}\)(一片CMOS集成电路“6斯密特触发器”的六分之一)和一个电容C1、一个电阻R\(_{1}\)构成。产生的脉冲P1为对称方波,见波形图4中第(1)行。
脉动光的有效传送距离正比于脉冲的峰值功率,峰值功率又与控制脉冲的峰值电流成正比。为了扩大发光器件与受光器件之间的作用距离,就要尽量提高峰值电流I\(_{P}\),而提高IP的重要途径是提高空度比(空度比=周期/上平顶),所以我们要压缩控制脉冲的宽度。方框图1中的“波形变换1”就是用来将多谐振荡器产生的方波信号P\(_{1}\)变成窄脉冲信号P2,见图3。

P\(_{2}\)脉冲加到晶体管BG1基极,从BG\(_{1}\)的发射极输出,去激励复合晶体管BG2和BG\(_{3}\),进行功率放大。如果红外线发光管LED1用小功率管,功率1~3mW,则BG\(_{2}\)、BG3用3DG12;如果红外线发光管用中功率管,功率50mW以上到几百mW,则BG\(_{2}\)用3DG12,BG3用3DD5A这类大功率管,I\(_{P}\)可达到数安培。R6为限流电阻,使发光管获得合适的调制电流。
用小功率红外发光管,作用距离可达几十厘米;用中、大功率红外发光管,作用距离可达几米到几十米。
用BG\(_{4}\)光敏三极管3DU5C接收红外线脉动信号,用高频扼流圈L作接收管的负载。由于L对稳定的直流呈现低阻抗,对调制脉冲具有高阻抗,所以再经电容C4耦合,隔去直流,就可以选出所需的调制脉冲信号。选好L的电感量及其直流电阻对做好这个红外光电开关极为重要。L取10mH,直流电阻要小于被照亮的光敏三极管的内阻。R\(_{7}\)选几十欧姆,电容C4的大小随频率而异。BG\(_{5}\)、BG6用作两级交流放大。
波形图4中第(4)行是发射光部分A点的电压波形,第(5)行是流过发光管的电流波形,第(6)行是光敏受光管发射极E点的电压波形,峰—峰值约0.1V~0.2V。经电容C\(_{4}\)耦合,再经BG5反相放大,在BG\(_{5}\)集电极C点的波形示于第(7)行,峰—峰值约2~3V。再经BG6反相放大后从BG\(_{6}\)集电极输出P4信号(图4第(8)行),峰—峰电压接近10V。

为了选通所需要的信号,图2中用了一个与非门1作“选通门”;为了要进行脉冲解调,用了一个D触发器;并由门1、二极管D\(_{1}\)和R3、C\(_{5}\)以及斯密特电路H5构成一个脉冲展宽电路。
先让我们来了解一下如何来选通需要的信号脉冲,也就是如何从被受光管接收到的信号中“选”出原来调制发光管的脉冲信号,让它能“通过”,而其它由杂散光和噪声干扰产生的干扰信号统统被阻挡住。只有与调制脉冲同频率而且同相位的干扰信号才有可能“漏”过选通门,显然这种几率实在太小。具体做法是,把调制发光管的脉冲P\(_{2}\)和被受光管接收到、并经过放大的信号P4,同时加到与非门1的两个输入端去,从门1输出的波形为P\(_{5}\),见图4的第(9)行。
对选通的接收光电信号,还需要“卸掉”调制脉冲,也就是要进行解调,从中取得真正需要的输出信号。为此,用了一个D触发器。根据D触发器的特性:当CP输入端脉冲上升沿到来时,输出端Q的状态等于控制端D的状态。如果我们把图2中的P\(_{1}\)脉冲,经脉冲变换电路(图2中的C3、R\(_{3}\)、H4)形成P\(_{3}\)(见波形图4第(3)行),把P3引到D触发器的CP端,利用P\(_{3}\)的上升沿触发D触发器,而把展宽了的选通脉冲P6(图4第(10)行)引到D端。这样连接之后,当受光器受到光照时,产生选通脉冲P\(_{6}\),在P6的上平顶宽度内,D端为“1”,使每次接收到CP后,Q总呈现高电平“1”;而当受光器未受到红外线照射时,因选通脉冲消失,D端为“0”,接收到CP后,Q端呈现低电平“0”,这样得到的输出信号,见图4(11)行。要做到这一点,关键在于P\(_{6}\)脉冲要有足够的宽度,使每当CP脉冲到来的时刻,只要收到红外线照射,D端必定处于“1”状态。为了满足这一要求,需要将选通脉冲展宽,所以用了一个脉冲展宽电路。从选通门1输出的脉冲P5和展宽后的脉冲P\(_{6}\),见图4的第(9)、(10)行。脉冲展宽电路的原理可以解释为:当门1的输入端全为“1”时,P5=“0”(见图2),二极管D\(_{1}\)导通,这时电容C5经二极管迅速放电,故F点为“0”,经斯密特电路H\(_{5}\)后使P6为“1”。当P\(_{2}\)=P4=“0”,即门1的输入端全为“0”时,P\(_{5}\)为“1”,二极管截止,这时F点的电位随着电容C5经R\(_{3}\)充电,按指数上升,C5越大,上升越慢,只有上升到H5的阈值电平时,H\(_{5}\)才翻转,所以输出端P6的宽度由C\(_{5}\)的充电时间决定,与P5的宽度无关。只要C\(_{5}\)、R3适当,就可使P\(_{6}\)有一定的宽度,波形见图5。

从图4看出,如果受光管收不到红外脉冲信号,则D触发器的Q端为低电平,Q=“0”;当受光管接收到红外调制光时,Q=“1”。BG\(_{7}\)场效应管3DO6和发光二极管LED2用来放大和显示接收到的红外调制光。图2中的门2、3、4并联使用,以提高驱动能力。遮光时,输出为“0”,光照时,输出为“1”。
红外光电开关的形式
红外光电开关可以做成直射式,也可以做成反射式。直射式指发光管和受光管相对安放在被测物的两边;反射式指发光管和受光管并列在一起,发出的光经被测物表面反射回来,被受光管接收,平时受光管无光照,只在遇到反射物时才接收到反射回来的红外线。
反射式红外光电开关可以做成图6所示的形式,图中(a)是辐射型,将发光管和受光管并列在一起,当光电探测器靠近某物体时,从贴在物体表面的红外线反射纸上反射回来或直接从物体上漫反射回来的调制光,射入受光管。这可用来检测前方是否存在物体,被测物体不一定是白色的。如果在发光管和受光管前再安装一块只能透过红外线的滤色片,则效果更好。图6(b)是限定反射型,在发光管和受光管前都安装一个透镜,它们之间相夹一个角度,在光线的相交部位上遇到被测物体时,反射光能被受光管接收,从而获得反射信号。反射区域较窄。如果在被测物背后有难以消除的背景,为区别被测物和背景上的物体,使用限定反射型最适宜。

小功率红外发光管的型号为5GL或HG410,中功率管的型号为HG500,大功率红外发光管的型号为HG520(北京光电器件厂生产)。(凌肇元)

