(黄兰天 汤诞元)本文介绍的玩具无线电话,空旷地区的有效通话距离为100多米,该机载频频率选在业余频段29兆赫,单工调幅制,一般不用仪表调试也能取得满意的效果,适合初学者制作。
电路原理简介
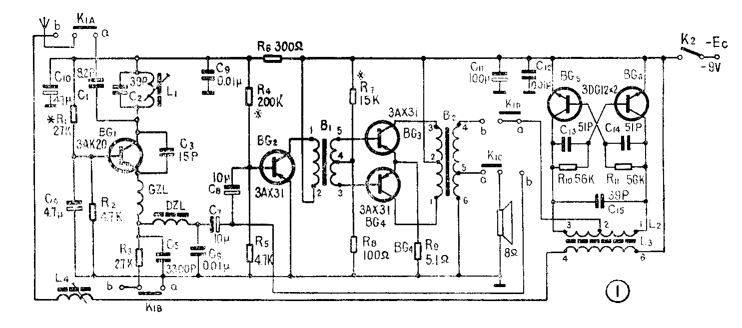
电路见图1。开关K\(_{1}\)是工作状态选择开关,当K1在“8”位置(不按)时,电路处于“接收”状态;当K\(_{1}\)置于“b”位置(按下)时,电路处于“发射”状态。

“收话”时,由天线接收进来的发射机发话调制信号,经C\(_{1}\)加到BG1等组成的超再生检波电路进行放大检波。其中L\(_{1}\)、C2为调谐回路,谐振于接收频率29兆赫;C\(_{3}\)是反馈电容,用于调节超再生的强弱,选择合适的C3、C\(_{5}\)和R3的数值,可使超再生稳定,接收灵敏度高,且失真小。检波后的音频信号经高扼圈GZL和低扼圈DZL,电容C\(_{7}\)、C8加到由BG\(_{2}\)、BG3和BG\(_{4}\)等组成的低放电路进行放大,然后推动扬声器发声。关于低放部分的工作原理,本文就不再赘述。
“发话”时,机内的扬声器当作话筒,把讲话声音转换成相应的电信号,再经C\(_{8}\)送至低放电路进行放大,放大后的信号经变压器B2耦合至载频振荡器,作为调制信号对载频进行调制。BG\(_{5}\)、BG6、C\(_{13}\)、C14等组成推挽自激载频振荡电路,载频频率由L\(_{2}\)、C15决定,调节L\(_{2}\)中的磁心,可以改变载频频率。已调制的调幅信号经线圈L2、L\(_{3}\)、L4耦合至天线发射出去。
元件选择
晶体管BG\(_{1}\)选用截止频率较高的锗高频小功率三极管,如3AK20、3AG28、3AG48等,漏电流Iceo应小于100μA、B值大于30;BG\(_{2}\)、BG3、BG\(_{4}\)用3AX31型低频小功率三极管,BG2的β值应大于100、BG\(_{3}\)与BG4应配对,β值在40~80之间均可使用。BG\(_{5}\)、BG6用3DG12或3DG27等硅NPN型高频中功率管,两管也需要配对,其β应大于100为好。
电感线圈L\(_{1}\)用线径为0.42mm漆包线绕9圈,磁心为NX—20,4×8,骨架用10K型的,外形见图2;L2、L\(_{3}\)用线径为1mm的漆包线,1、3之间线圈绕12匝,6匝处抽中心抽头2;4、6两个头间绕2匝,磁心与L1同,不用骨架,外形见图3。L\(_{4}\)也是用线径为1mm的漆包线绕8圈,其磁心与L1同,不用骨架,外形见图4。变压器B\(_{1}\)用线径为0.04mm的漆包线初级绕1300匝,次级绕1000圈,双线并绕,3~4,4~5间均为500匝,用E形硅钢片铁心,窗口面积为3.5×5.5mm\(^{2}\),外形见图5。变压器B2的初级用线径为0.l2mm的漆包线双线并绕,1~2,2~3之间均为240匝,次级4~5之间用线径为0.12mm漆包线绕400匝,5~6间用线径为0.21mm的漆包线绕60匝,E型硅钢片铁心,铁心截面积为5×7mm2,外形见图6。制作高扼圈时,在1/8W、1M的碳膜电阻上用线径为0.09mm的漆包线绕80匝,外形见图7;低扼圈用线径为0.09mm的漆包线在MX—2000,10×6×5mm\(^{3}\)的磁环上绕340圈,绕好后用石蜡封住,外形见图8。

电容均采用CCX型高频瓷片电容;电阻用1/8瓦和1/16瓦的炭膜电阻;开关K1采用KZJ—W4无锁直键开关。电源用5号电池6节。
制作与调试
印制板见图9(1:1),把全部元件均焊在印制电路板上。

调试时先调“接收”工作状态。将K\(_{1}\)置于“a”,K2接通,先调各级直流工作点。调R\(_{1}\)使BG1发射极对地电压为负2.5伏左右;调R\(_{4}\)使BG2的集电极电流约为1~2mA;调R\(_{7}\)使BG3、BG\(_{4}\)两管的集电极电流在2~4mA之间;其中BG2、BG\(_{3}\)、BG4的调试方法与普通晶体管收音机完全相同。
静态工作点调整好以后,扬声器中应有超再生接收机所特有的“沙沙”声。若无声可先检查低放部分有无故障,用螺刀依次碰BG\(_{3}\)、BG4的基极,扬声器中应有轻微的“喀喀”声,再碰BG2,“喀喀”声更大,当碰到某级无此“喀喀”声,故障就在这级。若低放正常而无超再生噪声,则应仔细检查C\(_{8}\)、C7和DZL有无虚焊或开路。若这三个元件是好的,则应检查超再生级中C\(_{2}\)、C3、C\(_{4}\)有无虚焊或C3容量是否不足。这些都影响到该级的起振。有时虽然按照上述步骤检查过,BG\(_{1}\)的发射极对地电压也是正常的,但还是不起振或有啸叫声,或虽起振但不稳定,“沙沙”声时有时无等现象,说明BG1管的截止频率不够高或漏电流大。调整正常后的超噪声应柔合、稳定,理想的超再生检波器在把L\(_{1}\)的磁心旋进或旋出数圈时,都不应有停振现象。
发射部分的调试比较容易,按下开关K\(_{1}\),在总电路中串一只0~100毫安的直流电流表(可用万用表的直流电流档代替),总电流应在50mA左右,若电流过小,可适当地减小R10、R\(_{11}\)的阻值,反之应增加。然后微调L2、L\(_{3}\)中的磁心,使总电流最小。最后接上天线,再调加感线圈L4的磁心,使总电流最大。这时若对着扬声器讲话,电流表应有明显摆动,说明发射部分的工作已基本正常。
在两个无线电话的收、发部分调好后,便可以对两机进行联调。把印刷电路板装进机壳,拉杆天线全部拉出,联调时两机可以交替进行。先置甲机于“发射”状态,乙机于“接收”状态,调乙机中的L\(_{1}\)磁心,使扬声器中的“沙沙”超再生噪声全部被抑制,说明此时已对谐。然后再进行拉距离调试,拉距离时应由近及远地进行,甲机发话,乙机接收,边拉距离,边分别微调L1和L\(_{4}\)中的磁心,使两机通话距离最远。接着再使乙机处于“发射”状态,甲机“接收”,按同样的方法与步骤使两机的通话距离最远。有时调节L1磁心时还不能使两机完全对谐,这时可适当地微调发射部分的L\(_{2}\)、L3磁心,调好后用石蜡将各磁心封固。
使用时应注意,超再生接收机在没有收到发射机发出的等幅信号时,有较强的“沙沙”声,当收到信号时,“沙沙”声就被抑制,但随着通话距离的增大,“沙沙”声也增大。
通话距离跟天线长度有关,若用0.5米的天线,空旷区的通话距离约有100米。作为玩具无线电话,通话距离不易过远。

