国产12英寸集成电路电视机,行扫描部分采用的集成电路为HA1166。HA1166内部包括行振荡、行激励、AFC电路、稳压器、滤波器等。其中AFC电路较易损坏。当AFC电路损坏时,就会造成行不同步或者容易受温度变化而引起失步。
如果检查外部元件无故障,确定是AFC电路损坏时,可采用日立P-24型电视机的单脉冲型AFC电路对HA1166中的AFC电路进行修复。实践证明,这种方法简单易行。仅用两只二极管、三个电阻和一只电容就可以修好。


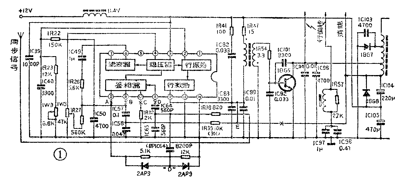
现以凯歌牌4D14型集成电路电视机为例,介绍一下电路的改接方法,具体接法见图1。先将图中标有“×”的地方断开,然后按图1将两个2AP9二极管、一个8200p的电容、5.1k和12k的电阻接好。单脉冲型AFC电路的原理见本刊1980年第9期第3页。由于单脉冲型AFC电路在振荡频率f\(_{0}\)高于同步脉冲频率fH时,输出的AFC电压为低电平,当f\(_{0}\)<fH时,输出的AFC电压为高电平。这正好与HA1166的行振荡级的要求相反。所以改接时,应将作为比较电压用的正向行逆程同步头改为负向行逆程同步头,其方法是:将1R39与行输出变压器的连线断开,改接到行推动变压器的初级上。由于该点的脉冲电压幅度较低,所以需将1R39由10K改为4K左右。AFC电路改接后,各点的波形如图2所示。(周燕晨)