市场上出售的一些供收音机用的6伏直流稳压电源,输出电流一般均在100毫安以下,如果工作电流超过100毫安,就不能使用了。本文介绍一种容量稍大的稳压电源,输出直流电压为6伏,输出直流电流可达200毫安。可供电源电压为6伏的台式晶体管收音机、电子琴及某些收录机作为电源使用。
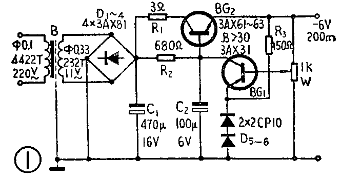
电源电路见图1。图中采用四只3AX81晶体管的b、c结组成一个桥式整流电路。调整管BG\(_{2}\)由晶体管3AX61~3AX63担任,其集电极电流最大可达500毫安。取样电位器W采用一个阻值为1千欧的半可调电阻。晶体管BG1起比较和放大作用。晶体二极管D\(_{5}\)、D6和电阻R\(_{3}\)起稳压作用,D5、D\(_{6}\)可采用任何型号的2CP或2CK二极管。R2是BG\(_{2}\)的集电极负载电阻,R1是限流电阻起保护调整管的作用。C\(_{1}\)、C2是滤波电容器,将C\(_{2}\)的负端接到BG2的基极可使C\(_{2}\)的等效容量增大β2倍(β\(_{2}\)为BG2的放大倍数),从而可大大提高滤波效果。图2为印刷板线路图,左侧直接焊了一个KB2X2型交直流变换开关。


电源变压器采用斜E14型铁心,初级用φ0.1~0.12毫米QZ型漆包线绕4422圈,次级用φ0.33~0.38QZ型漆包线绕232圈,初、次级间加屏蔽层。(北京32中学校办工厂)