许多读者按本刊1981年11期第6页邮购了零件进行试验,一些初学者对套件中电源变压器的使用方法不清楚而得不到满意的效果。也有一些读者在购买零件时不注意选择电源部分的零件,例如装置一部输出20W音频功率的放大器,只用容量为20W的电源变压器,这样当满功率输出时,就会使电源变压器在过荷状态下工作,造成削波失真,听起来声音嘶哑,低音供不出足够功率。
81年11期第6页邮售的电源变压器适合本刊介绍的各种功率放大器,使用得当,能得到±24V;±12V;+24V或-24V几种电压并有足够的功率裕量。

图1是该电源变压器的外形,铁芯截面积为2.8×3.8=10.64(cm)\(^{2}\),铁芯容量不小于50瓦。从图2可见变压器分三个绕组,初级使用φ0.35mm漆包线绕1012圈,次级第一绕组用φ0.35mm漆包线绕31圈,输出6.3V交流电压;次级第二绕组用φ1.2mm漆包线绕88圈,5~6输出12V,5~7输出18V,输出电流不小于3A,短时间可输出4A。


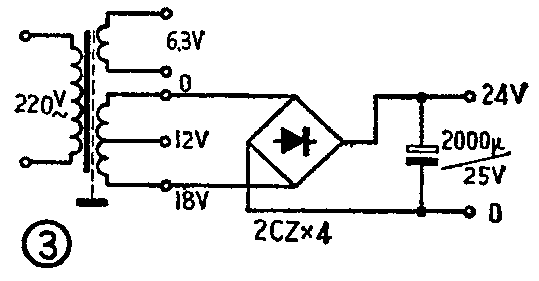
有些初学者使用变压器的方法不够灵活,因此一只变压器得不出多种直流电压。这里介绍几种方法,用同一只变压器可得到3组不同电压。如按图3接法可以得到+24V直流电压,当然输出端反接就可得到-24V直流电压。用这种变压器按这种接法可作20WOTL音频功率放大器的直流电源。按图4、接法可输出±24直流电压;按图5接法可输出±12V直流电压,可作20W左右OCL音频功率放大器直流电源。(曹修缔 任长超)