科学实验、工业生产中往往需用高精度温度测试仪表。许多场合要求在测试数百度温度时,能够分辨出±0.1℃温度的微小变化。这一课题指针式仪表已无法解决,只能由数字式仪表来完成。本文介绍一种高精度数字测温仪,它是用在涤纶长丝后加工设备上的,当然,在其它需要精密测温的场合也都可以使用。
原理简介
仪器由测温电桥、数模转换网络、检零放大器、脉冲发生器、计数器和电源等部分组成,原理方框图见图1。

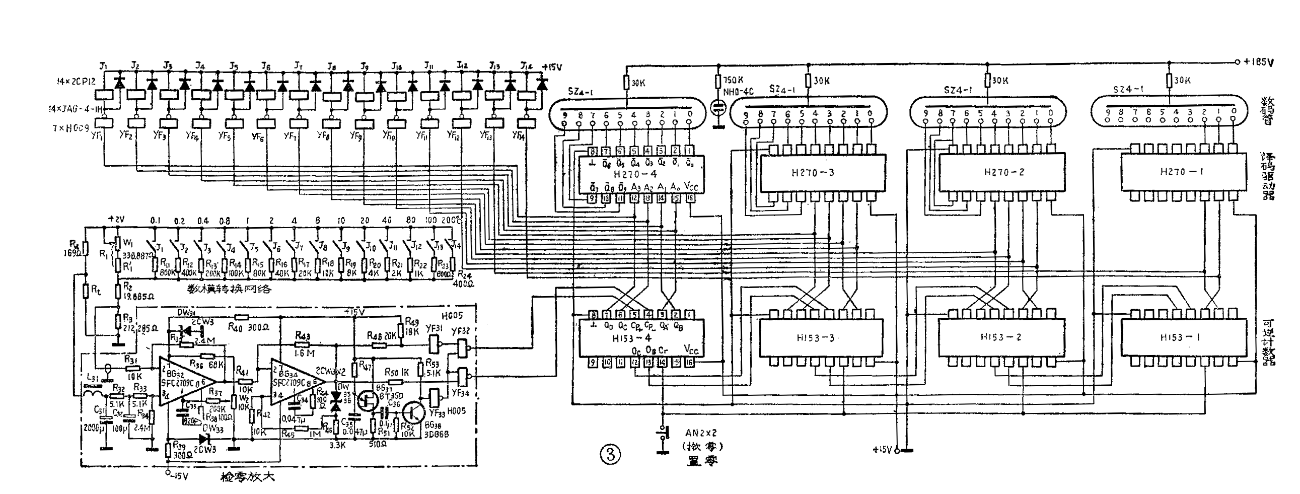
仪器置零,计数器为000.0状态,数模转换网络中干簧继电器触点全部断开。如果被测温度是180℃(是涤纶长丝后加工常用工艺温度,如为其它温度值原理是一样的),这时电桥不平衡输出负信号,使检零放大器放大后的输出为负饱和电压。脉冲源可通过与非门YF32输出计数脉冲送到可逆计数器的CP\(_{+}\)端,计数器作加法计数。每一个计数脉冲,计数器递增0.1℃,一直到计数器显示在180.0℃为止。这时干簧继电器J12、J\(_{13}\)吸合,对应的“权”电阻接入,电桥恢复平衡。检零放大器输出为零,YF32、YF34无计数脉冲输出,电路稳定在这一状态。
如果被测温度在180±0.2℃范围内变化,则电桥不平衡输出正或负信号,使检零放大器输出正或负饱和电压。这时与非门YF34或YF32输出计数脉冲,可逆计数器作减法或加法计数。模数转换波形图如图2所示。图3为数字测温仪的电路原理图。


如果被测温度从180℃变为179.8℃,测温电桥不平衡输出正信号,使检零放大器输出正饱和电压,与非门YF34输出计数脉冲,可逆计数器作减法计数,四位可逆计数器的输出端状态为“01”(H153-1)“0111”(H153-2)“1001”(H153-3)“1000”(H153-4),经译码后在数码管上显示出179.8,同时使干簧继电器J\(_{13}\)、J11J\(_{1}\)0J9、J\(_{8}\)J5、J\(_{4}\)吸合,接入对应“权”电阻,使电桥恢复平衡。同理,如被测温度为180.2℃时,干簧继电器J13、J\(_{12}\)、J2吸合,接入对应的“权”电阻,使电桥恢复平衡。
电桥设计与数模转换
图4为数字电桥电路,数模转换网络与桥臂R\(_{1}\)并接,数模网络中标准电阻按8、4、2、1规律设计。每一位标准电阻与这一位代表的“权”相对应,“权”越大阻值越小。“权”为“0.1℃”的标准电阻取800KΩ。数字量每增加“0.1”,网络电阻就多并接一个800KΩ电阻。各“权”位对应标准电阻见图4,标准电阻均采用高精度线绕电阻。

标准电阻的阻值用R\(_{B}\)表示,为推导方便,用电导g表示,则
R\(_{AB}\)=R1R\(_{B}\)R1+R\(_{B}\)+R2=R\(_{1}\)\(\frac{1}{g}\)R1+1;g+R\(_{2}\)
=\(\frac{R}{_{2}}\)(1+R1g)+R\(_{1}\)1+R
电桥平衡时
R\(_{t}\)=R3R\(_{4}\)RAB=R\(_{3}\)R4;\(\frac{R}{_{2}}\)(1+R1g)+R\(_{1}\)1+R1g……(1)
测温元件用WZB铂热电阻BA\(_{2}\)分度,分度特性:
R\(_{t}\)=R0(1+αt+βt\(^{2}\))……( 2)
R\(_{0}\):0℃时阻值100Ω
α:3.96847×10\(^{-3}\)1/℃
β:-5.847×10\(^{-7}\)1/℃2
(注:用其它型号铂热电阻或分度号不同时,α、β或R\(_{0}\)数值不同,但电桥设计方法是一样的。)
为补偿铂热电阻分度特性的非线性,现取t=0℃,100℃,200℃这三点来进行补偿。对应这三点的铂热电阻的阻值分别为R\(_{t}\)=100Ω,139.1Ω,177.032Ω;数模转换网络电导分别为g=0,\(\frac{1}{800Ω}\),1;400Ω。R4取工艺常用温度180℃时铂热电阻的阻值169Ω。将以上数值分别代入(1)式联立解得R\(_{1}\)=338.887Ω,R2=19.885Ω,R\(_{3}\)=212.285Ω。
R\(_{1}\)由固定电阻R1'和微调电位器W\(_{1}\)组成,W1用以补偿电桥实际参数与理论计算不完全一致引起的偏差。
数模转换网络中开关采用JAG—4—1H干簧继电器,吸合时接触电阻<0.15Ω,断开时为∞,吸合时间≤0.9毫秒。
检零放大器
检零放大器实际上是高增益信号极性鉴别放大器。检零放大器由二级运算放大器SFC2709C组成(可用国产FC—3C代替,第一级要改变调零方式,第二级增加调零电位器,详见FC—3产品说明)。铂热电阻连线很长,可能带进各种干扰,故其输入经滤波器L\(_{31}\)C31和R\(_{32}\)C32后再接到运算放大器同相端。数模网络的平衡桥臂输入线用屏蔽线,经R\(_{31}\)接运算放大器反相端。第一级运算放大器由于输入信号微弱,对电源电压稳定性要求很高,故正、负电源端又加用了稳压管。电位器W2用以调节第一级运算放大器输出电位。R\(_{38}\)C33系消振电路。第一级运算放大器的放大倍数K\(_{1}\)≈R35R\(_{31}\)=240倍。
第二级运算放大器的放大倍数K\(_{2}\)≈R43R\(_{41}\)=160倍。当输出电压大于DW36稳压管击穿电压,则由R\(_{46}\)、R45正反馈到BG\(_{3}\)同相端,使输出电压急剧上升到放大器正饱和电压为止。当第二级运算放大器输出电压负值大于DW35稳压管击穿电压,由于R\(_{46}\),R45正反馈使输出电压急剧下降到放大器负饱和电压。第二级放大器输出电压小于DW\(_{35}\)、DW36击穿电压时,保持正常的线性放大状态。检零放大器总输入输出特性如图5所示。

计数脉冲控制和计数器
脉冲源采用单结晶体管弛张振荡器见图3。电源通过电阻R\(_{47}\)对C35充电,使单结晶体管BG\(_{37}\)发射极e的电位Ue上升。当发射极电位达到峰点电压U\(_{M}\)时,发射极e与第一基极b1导通,C\(_{35}\)上的电压通过R51迅速放电。当发射极电位低于单结管谷点电压时,eb\(_{1}\)截止,C35又重新充电重复上述过程。在单结管发射极和第一基极出现的波形如图6中U\(_{e}\)与Ub1所示。脉冲频率f=\(\frac{1}{RCln}\)1;1-η,式中η为单结管分压比,RC为充电时间常数=R\(_{47}\)·C35,f约为180赫。

单结管弛张振荡器输出脉冲经BG\(_{38}\)放大和YF33反相后输出方波窄脉冲(见图6),为整机的计数脉冲。
当检零放大器输出电压低于DW\(_{35}\)、DW36击穿电压,工作在线性放大区时,YF32、YF34控制输入端均为低电平,故均无计数脉冲输出。若放大器输出为正饱和电压,则YF34控制输入端为高电位,输出计数脉冲使可逆计数器作减法计数。若放大器输出为负饱和电压,则YF31输入端为低电位、输出高电位,YF32输出计数脉冲使可逆计数器作加法计数。
计数器采用二—十进制加减法可逆计数器H153B,译码驱动器用H270B,均为HTL数字集成电路,抗干扰性能好。数码管采用SZ4—1辉光放电显示管,起辉电压170V,阴极电流2mA。
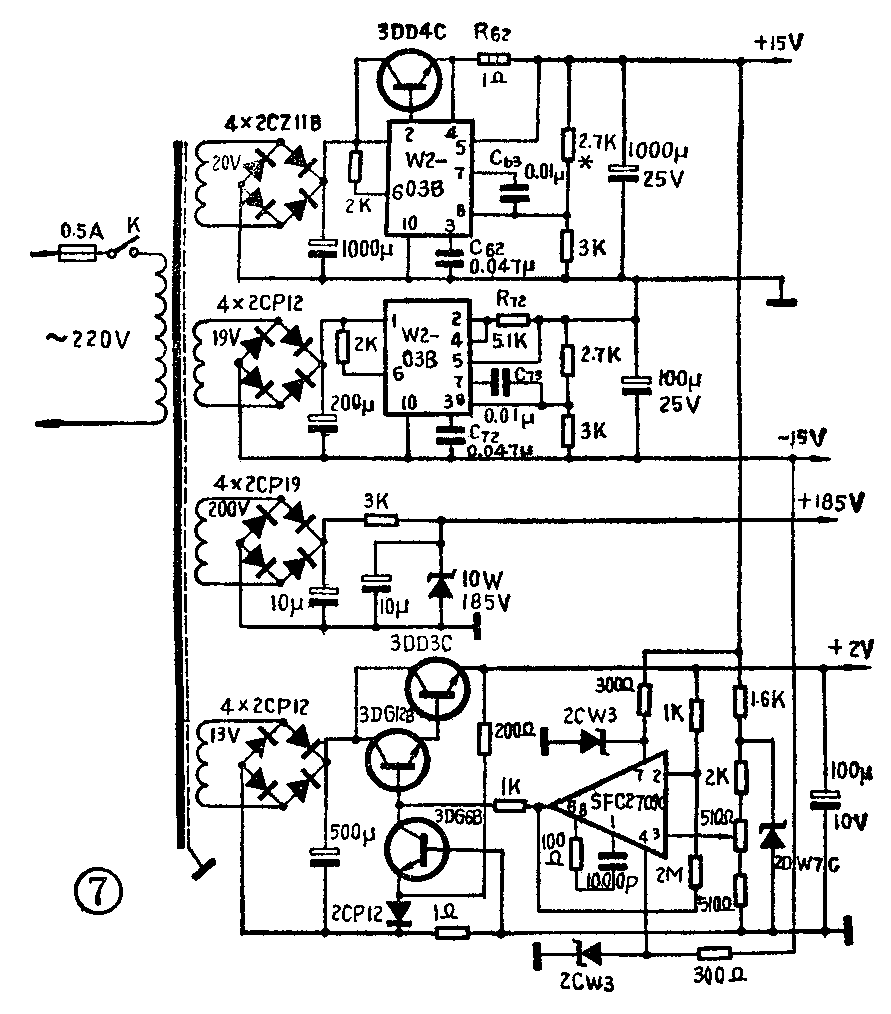
电源
全机电源共四组(见图7)。±15V用集成稳压器W2—03B,为防止电路振荡接入C\(_{62}\)、C63与C\(_{72}\)、C73。R\(_{62}\)、R72为限流保护电阻,其阻值按R=0.5VI\(_{max}\)计算,Imax为最大负载电流。+15V外接功率管3DD4C以扩大电流输出。

电桥电源2V,采用补偿式稳压电源,电压稳定系数S≥5000。(陈金镜)