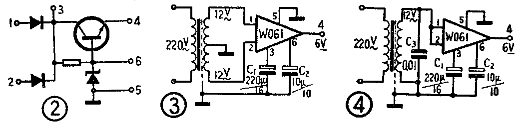
便携式晶体管收音机在音量满意的情况下,电池供给的电流大约60~80mA。按照这样大小的电流每日收听2小时,一号电池只能使用一个多月,因此电池费用很可观。如果不是外出携带收听,在家里有一个直流稳压电源为收音机提供电流,那么供电费用可大大减小。这里介绍一种用集成电路组装的稳压电源。该电源可提供6伏100mA,一般便携或小台式晶体管收音机使用足够了。图1是集成电路W061的外型,图2是内电路。图3、图4是两种实用接法。当电源变压器次级有两个绕组时,可按图3接线。这种接法是全波整流,C\(_{1}\)为滤波电容,可在220~470μF之间选择。C2用来降低纹波系数,可在10~100μF间选择,也可不接。如果电源变压器次级只有一个绕组,可按图4接线,这是半波整流接法,此时C\(_{1}\)、C2可以取得大些。加入C\(_{3}\)会使纹波系数进一步减小。由于使用了集成电路,只要安装无误,一般不用调整即可正常工作。电源变压器用3VA的就够了。按图3或图4接好之后,装入一个小铁盒内,引出交流电源线和直流输出引线,使用起来很方便。(李宏祉)

