在修理收音机的时候常遇到下面问题:打开收音机开关,收音正常,功放级总电流也正常,可是收听一会儿,功放管发热,声音也慢慢地没有了。关机过一会儿再开机,故障重复出现。
这种故障一般是由于:(1)功放管静态电流调得偏大,引起晶体管热稳定性变差。(2)功放管集电极发射极反向耐压BV\(_{ceo}\)不够高或反向漏电流Iceo大。
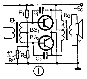
晶体管收音机常见的功放电路有两类。一类是有输入输出变压器的乙类功放电路,如图1所示。检修这种功放电路的功放管发热问题可参考下述步骤。①首先分别测量一下BG\(_{1}\)、BG2的静态电流,如果大于2~4mA属不正常。然后将两管拆下来,用图2、图3的方法测量一下反向漏电流I\(_{ceo}\)的大小,EC为机内电源电压。一般小功率功放管的I\(_{ceo}\)<0.5mA(20℃),随温度升高Iceo会大些,但最大也应小于1mA。I\(_{ceo}\)大的管子其耐压BVceo就低。而有输入、输出变压器的乙类功放电路要求功放管的BV\(_{ceo}\)≥2EC。因此功放管I\(_{ceo}\)越小越好,如Iceo超过上述数值应予以更换,并力求两管的β值相同。②换上I\(_{ceo}\)小的管子后,如静态集电极电流仍大于4mA,就应检查一下直流偏置电路是否有故障。R2阻值变大、R\(_{1}\)阻值变小均应更换。有的机器下偏流电阻并联温度补偿热敏电阻或热敏二极管,它们的内阻变大或开路均会使集电极电流增大。如以上元件都正常可适当将R1调大些来减小集电极电流。另外,将C\(_{1}\)、C2这两个电容拆下来,如果集电极电流正常了,则说明C\(_{1}\)或C2有漏电。



另一类是无输入、输出变压器的OTL电路,电原理如图4所示。检查这类电路的静态工作点的方法,1是从X处断开测BG\(_{4}\)、BG5的集电极电流;2是测中点A的电压,应为12E\(_{C}\)。一般便携式、袖珍式收音机BG4、BG\(_{5}\)的静态集电极电流为3~6mA;大台式收音机为5~10mA(硅管可达10~30mA),但正常时BG4、BG\(_{5}\)均不应烫手。由于BG1~BG\(_{5}\)是直接耦合式连接,其中任一个管的Iceo大或BV\(_{ceo}\)低都会引起静态电流逐渐变大,使功放管发烫甚至无声。最简便方法是拆下BG1~BG\(_{5}\)按前述方法逐个测量,Iceo大的管子一定换掉,只有这样才能根本排除故障。如果管子没有问题,静态电流仍偏大,应检查偏置电路是否正常。例如稳压二极管有没有开路,内阻有没有变大,W\(_{2}\)(调功放管静态电流的电位器)是否虚焊;热敏电阻是否开路;W1(调中点电压的电位器)是否接触不良及C\(_{1}\)是否有漏电。按上述方法一步步检查总可以排除功放管发热的故障。调偏流是要注意功放管静态电流也不可太小,否则交越失真将要增加。(彭贤礼)