逆程电容在电视机行扫描输出级电路中并不占显著地位,但是,它对行输出级以及很多相关电路都有重要的影响,举例说,如果逆程电容选择不当,就有可能使行输出管击穿。因此对逆程电容的选择、调整必须给以足够的重视。
什么是逆程电容
为了介绍逆程电容,必须先简单介绍一下行扫描电路的工作过程。
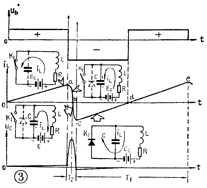
行扫描输出电路的工作原理,是基于电感(偏转线圈)的充放电过程和LC回路的谐振。一个有损耗电阻的电感,其充电过程如图1所示。当开关K闭合时,电路中的充电电流i\(_{L}\)按指数规律增长,若时间常数τ=\(\frac{L}{R}\)很大,且只取充电曲线始端一小段如OA时,iL和t的关系则近似为直线。这就是行扫输出级得到正程锯齿电流的方法。

把该电路接成谐振回路(增加了电容C),K改用电子开关,就构成行扫描输出级的原理电路,如图2a所示。图中三极管BG和二极管D构成所谓双向电子开关。即三极管在基极开关脉冲信号作用下饱和导通时,相当于开关K\(_{1}\)闭合,开关电流iK1自上而下流动(见图2b)。而三极管BG截止时,如果有下正上负的电压,则二极管D便导通,相当于开关K\(_{2}\)闭合,开关电流iK2自下而上流动(见图2c)。为了更直观起见,我们用图3说明该电路的工作全过程:

在图3的oa段,因为激励信号u\(_{b}\)为正,所以三极管饱和导通,L充电,iL线性增长(t=LR够大);ab段,u\(_{b}\)为负,三极管截止,原iL的方向和大小不能突变,在LC回路中激起自由振荡,iL给电容C充电,iL按余弦规律下降至零,而uc则按正弦规律上升至最大;至bc段,仍为自由振荡,但已是电容放电,所以i\(_{L}\)反向增长至最大(c点),uc则回降至零。过了c点,i\(_{L}\)应由负最大值振回零。uc应由零振为负值(上负下正),但当u\(_{c}\)大于二极管D的正向导通电压时,D即导通,将电容C短路,iL便走捷径,由负最大值通过二极管D放电。因为t=L;R未变,所以i\(_{L}\)仍依指数规律变化,又由于从c→d点的时间远远小于t,所以cd段的电流也可认为是线性回升至零。到d点时完成一个工作周期。实际扫描电流的正程锯齿电流是cd段和下一周期de段合成的。ac段(T2期间)就是扫描逆程。可是,逆程期间在电容C两端的电压为自振半个周期的正弦脉冲电压。正是由于二极管D的导通,迫使LC的自由振荡过程被阻止,所以称D为阻尼二极管。电容C就是所谓的逆程电容。显然,逆程时间T\(_{2}\)=12T=π\(\sqrt{LC}\),这里,T是逆程时自由振荡的周期。

实际的行偏转线圈总是有匝间、层间和引线等分布电容存在的,所以,即使没有逆程电容C,其等效电路也仍是LC\(_{o}\)谐振回路(见图2a),上述过程照样进行。但是逆程电容C却是非加不可的,并且起着重要作用。这一方面是因为CO的数值很小,又不稳定,与结构、布线、温度等因素有关,会使逆程时间T\(_{2}\)过短且不稳定;另一方面逆程电压uc又与许多相关电路的工作密切相关,有一定的要求。例如金星B31一1机就要求逆程时间T\(_{2}\)约为12μs左右。所以在行扫描末级电路中必须并联一个或几个外接的逆程电容C,当C》CO时,C\(_{O}\)变化的影响便相对减小,也保证了一定数值的逆程时间T2。
逆程电容与晶体管的耐压
上述逆程期间的自由振荡过程就是能量的转移过程,即L中的磁能转变为C上的电能(若考虑损耗,当然应是衰减振荡)。如果电容C的数值小,则振荡周期短,能量转移快,电容C上的充电电压必然高。因为在自由振荡过程中电容上的电压U\(_{cm}\)=Im/ωc=\(\sqrt{LC}\)Im/c=\(\frac{L}{C}\)I\(_{m}\),而偏转电流的最大值Im是由显象管偏转功率决定了的,所以式中U\(_{cm}\)随C值的下降而上升。由图2a可见,电容C是与晶体管BG和二极管D相并联的,所以uc的大小直接决定于BG和D的耐压, 这是选择BG和D的依据。C越小,U\(_{cmax}\)越大,要求晶体管BG和D的耐压越高。所以行扫末级必须接有逆程电容C,而不能只靠分布电容CO工作。以便增大T\(_{2}\),减小Ucmax,降低对BG和D的耐压要求,一般选取BG和D的耐压大于(8~10)E\(_{C}\)。应当指出,这里的Ec是指实际加在晶体管上的直流电压,而不一定是供电电源电压,比如,目前许多12寸电视机多用升压式行扫描电路,供电电源是12伏,而升压之后实际加在晶体管上的电压是26-27伏,所以晶体管的耐压就应大于250伏。
上述原理提醒我们,在检修或装配电视机行扫描末级电路时,绝对不允许把逆程电容C改得过小,或者开焊、虚焊,否则会造成逆程反峰压u\(_{c}\)突然增高而击穿行输出管BG或阻尼二极管D。这一点是极为重要的!
有时,宁可在调整时将逆程电容C稍稍加大一些,以保BG和D的安全,如其它指标不满足时,再适当减小C值。为调整方便安全,常用几个电容并联作为逆程电容,可以改变其中的一只,来调整总电容的大小。万一焊接有误,还有其它电容,不至因逆程电容过小而导至BG或D击穿。当然,C的数值也不能过大,否则逆程时间过长,又影响电路的正常工作。
逆程电容与高中压等电路的关系
在电视接收机中,显象管的高压、加速电压、聚焦电压,甚至视放电源电压和亮度调整电压等,都是由行扫描末级的逆程脉冲电压u\(_{c}\)经峰值整流得到的。如图4所示。所以逆程电压的高低直接影响到上述各种电压的大小。如果高压变压器已定,则为满足上述各种电压的要求,在选择逆程电容时就必须考虑到它对逆程反峰压的影响,若C值过大,则逆程反压下降,各峰值整流后的直流电压也下降,会影响图像的亮度和清晰度。反之,C值减小则使它们上升。这就是改9寸机为12寸机时为提高高压数值,有人采取的方法之一(当然需在BG和D耐压许可的范围内)。

上边谈了逆程电容与晶体管耐压及高中压数值的关系,在实践中为了兼顾晶体管耐压的限制并得到足够的高压,行扫描末级的工作状态常采用所谓谐波调谐的方法,这又是与逆程电容密切相关的一个问题。限于篇幅,本文不作详述。
与逆程有关的其它问题
首先,逆程时间与损耗密切相关。一部电视接收机,整机功耗的一半以上是行扫描末级的损耗。而行扫末级的功耗,包括正程期间和逆程期间的功耗。在逆程期间的损耗又包括上述谐振回路的损耗、高压变压器的磁芯损耗、导线铜损,以及介质损耗和行输出管开关时间的损耗等许多方面。下边着重讨论逆程时间长短对损耗的影响。
如前所述,行输出晶体管是开关工作的,当它由饱和导通变为截止时,由于其截止频率有限,开关时间就不容忽略。即,当基极激励信号已经变为负值时,BG从饱和到截止的转化,要经过基区存储电荷的消散过程,即晶体管需要关断时间。就是说,当逆程反峰压u\(_{c}\)早已上升时,晶体管中的集电极电流还要维持一段时间,故对晶体管BG来讲,就存在着一个既有集电极电流,又加有逆程反峰压的重叠期。显然,数值很大的逆程电压与此电流的乘积是很大的,这就是晶体管的截止损耗,图5表示了这种情况。在理想情况下,晶体管的集电极电流应当在a点突然下降到零。但由于有关断时间,Ic会持续到b′点才降到零。而V\(_{c}\)则在a点时已经上升,所以晶体管的Ic和V\(_{c}\)就存在一个重叠期(如图),造成功耗。显然,逆送电容C越小,逆程时间越短,Ic与V\(_{c}\)重叠面积越大,功耗也越大。当逆程电容较大时,重叠面积减小,功耗将降低。这项功耗可达五、六瓦的数量级。为降低功耗,提高效率,当然首先在于选用截止频率高的行输出管。但在管型选定之后,逆程时间即逆程电容的选择就值得考虑了。逆程太短,即逆程电容过小,是会使损耗增加的!

其次,逆程时间又影响着消隐。在接收机中,消去行逆程扫描线的工作是利用逆程反压来实现的。所以逆程时间T\(_{2}\)直接决定着行消隐时间。在我国,电视台播出的全电视信号给定的消隐期是11.8μs。如果接收机行扫未级逆程电容C过大,则逆程T2过长,消隐时间可能比11.8μs大得较多,这就必然会将有图像信号的正程期间也消隐掉一部分,导至部分图像内容的丢失。所以选择逆程电容时,应使T\(_{2}\)稍稍大于11.8μs,通常取T2=12μs左右为宜,以照顾到消隐的需要,图6表示了这种关系。

最后,还应提到的一点,就是在接收机中,还有许多电路要使用逆程期间的脉冲电压,如键控型的自动增益控制电路用逆程脉冲作键控开关信号;自动频率控制电路(AFC)用逆程电压作比较脉冲等等。这些,就不—一讨论了。
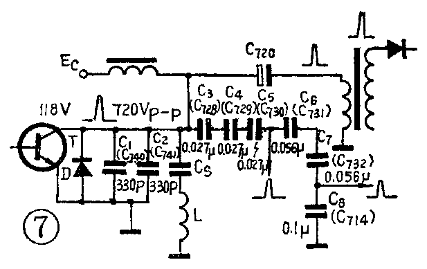
在有些电路中,逆程电容的构成比较复杂,以满足各种需要,例如834机的行输出电路中,C\(_{1}\)~C8都是逆程电容,它们同时又构成分压器,以便取得各处所需的不同幅度的逆程脉冲电压,免去高压包绕组抽头的麻烦。如图7所示,但分析起来并不困难。

在选择逆程电容时,除容量需经计算和实验调整之外,种类上还应注意其耐压和损耗,所以需用耐压较高,损耗小的云母电容、金属膜电容,或油浸电容等等。 (闻芒)