8FC7是一种单电源低功耗的新型运算放大器。目前我国虽已生产了几十种型号的各种通用型及低功耗、低漂移、高速、高压、高阻抗等特殊型集成运放电路,但都不是单电源的运算放大器。由于单电源的特殊要求,这种电路的设计思想与电路结构和典型运算放大器有明显的不同之处,因而也具有一些为典型运放电路所不及的特殊性能指标。
电路工作原理
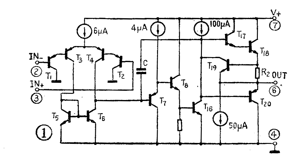
8FC7的原理简图如图1所示。图中只画出电路的增益级及隔离、保护、补偿等电路,而较复杂的偏置及其启动电路则另在图2中给出。8FC7的输入级由T\(_{1}\)、T2、T\(_{3}\)、T4组成共集一共射组态基分放大电路。为了使运算放大器单电源供电时在等于零的共模输入电压下仍能工作,T\(_{1}\)、T2及T\(_{3}\)、T4分别采用纵向及横向PNP管组成,因而它与一般由NPN管差分输入的典型运放电路不同,其输入偏置电流是流出、而不是流入运算放大器的。输入级采用共集一共射组态,而且由恒流源偏置在约6μA的极低工作电流下就保证了8FC7具有极低的输入偏置电流、输入失调电流及失调电流温漂,非常高的输入电阻以及很大的输入差模电压范围。为提高输入级增益,输入共射差分电路采用由T\(_{5}\)、T6组成的镜象电流源作为有源负载,且自T\(_{4}\)管集电极单端输出。8FC7的中间级由T16组成共射放大电路。输入级和中间级之间采用T\(_{7}\) 和T8两级射极跟随器作为级间隔离以及采用由100μA的恒流源电路作为T\(_{16}\)的有源负载是为了提高输入级及中间级的增益。


8FC7的输出级与一般典型运算放大器不同,虽然从形式上看它也采用了NPN型的复合管T\(_{17}\)、T18和纵向PNP管T\(_{2}\)0构成输出级,但在单电源工作时T20始终是截止的,仅由T17、T\(_{18}\)共集电极功率放大电路工作。采用复合管射极跟随器功放电路而不是常规的NPN、PNP互补射随器功放电路就保证了在信号为零、因而功放管基极注入信号电流也为零时功放管截止而使输出电压V0趋于零。为使功放级在空载时也能工作,采用50μA的恒流源作为T\(_{17}\)、T18复合管的内部射极偏置电路,而T\(_{2}\)0的设置只不过是为了适应8FC7在交流放大或正负电源供电时提供负方向负载电流注入通路的,此时T18与T\(_{2}\)0组成典型的乙类互补射随功率放大级。
8FC7采用单电源V\(_{+}\)用作交流放大时,需要把运算放大器的输入端及输出端偏置在约\(\frac{1}{2}\)V+的电平上。图2所示即为反相输入交流放大电路,输入信号为零即静态时有V\(_{P}\)=VN=1;2V\(_{+}\)及V0′≈V\(_{N}\),由于从器件反相输入端流出的电流流过RF并产生相应的压降,所以V\(_{0}\)′将稍低于VN。
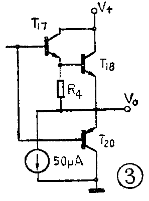
向放大器输入交流信号时可以发现,在交流输出电压V\(_{0}\)较小时输出波形无交越失真,当V0大到一定值后负半周即出现较明显的交越失真。为说明产生交越失真的原因,我们分析一下图3所示的8FC7输出级电路(为简明起见,未画保护电路)。图中由中间级放大管输出的信号送至由T\(_{17}\)、T18所组成的射极跟随器输出级。由于8FC7的设计思想侧重于单极性直流放大,因而其功放级采取共集电极放大电路,图3中50μA恒流源作为功放级的内部有源负载。在单极性信号作用下,因V\(_{B2}\)0=VB17始终大于V\(_{E2O}\)=VE18,故T\(_{2}\)0发射结始终反偏截止并不参与工作。当8FC7工作在交流放大状态时,若交流输出电流I0的峰值小于50μA,T\(_{17}\)、T18仍工作在甲类放大状态,V\(_{O}\)波形无交越失真。当交流输出电压较大致使交流输出电流I0的峰值超过50μA时,在V\(_{0}\)的正半周因I0是流出运放输出端的,故输出波形无失真。而在V\(_{0}\)的负半周I0是流入运放并注入恒流源的,当负向注入电流增大时,因受恒流源的限制I\(_{0}\)不能超过50μA这就使得V0被钳制不能再随输入信号的增大向负方向变化,直至输入端因V\(_{0}\)被钳制而出现较大的失调并使中间级输出电位迅速变负最后使T20导通,这时T\(_{2}\)0将吸收更大的负向注入电流使V0继续向负方向变化。由此可见,在由T\(_{17}\)、T18NPN复合管工作转换为PNP管T\(_{2}\)0工作的过程中就产生了交越失真。

由于交越失真是在功放级从甲类的T\(_{17}\)、T18管工作向偏置在乙类的T\(_{2}\)0管工作的转换过程中产生的,为消除交越失真就应设法避免出现输出级晶体管工作的转换。在放大器输出端附加一个合适的功放级偏置电阻Rb如图4所示即可消除交越失真,这是由于R\(_{b}\)的引入提高了功放管T17、T\(_{18}\)的静态偏置电流Ic18,只要选合适的R\(_{b}\)使Ic18大于最大的负载峰值电流I\(_{0}\)M,则复合管T17、T\(_{18}\)将始终工作在甲类放大状态,T2O将始终截止而不参与工作,这样就不会出现交越失真了。

偏置电路分析
8FC7偏置的设计也是富有特色的,其偏置电路主要包括启动电路与运放主偏置电路两部分,如图5所示。各增益级的有源负载偏置因与一般运放类似故仅在图1中以恒流源符号标出,在图5中为简化电路这些恒流源电路都没有画出。

8FC7的主偏置电流是由晶体管T\(_{26}\)的集电极电流Ic26确定的。T\(_{26}\)是由晶体管T21的集电极电流I\(_{c21}\)驱动工作的,而T21则要在晶体管T\(_{23}\)导通后才能工作,但T23也是被I\(_{c21}\)驱动工作的。因此,若T23不导通,T\(_{21}\)必然截止,而T21截止又反过来使T\(_{23}\)截止,可见这种偏置电路不能保证在接通电源时可靠地工作。为此引入了由J型场效应管JT与晶体管T28、T\(_{24}\)、R6组成的启动电路,场效应管JT与二极管T\(_{28}\)组成恒流源,其栅偏压等于-VBE28,即一个PN给压降。而晶体管T\(_{28}\)又与T24、R\(_{6}\)构成微电流源电路,当T28导通时V\(_{BE28}\)就给T24建立一定的正向偏置使T\(_{24}\)导通,但由于有VBE24+V\(_{R6}\)=VBE28,因而有V\(_{BE24}\)<VBE28,这就使I\(_{c24}\)《Ic28,“微电流源”电路的名称即由此而得。由于附加了启动电路,只要接通电源,T\(_{24}\)就导通。这样,即使主偏置电路中的T23截止,T\(_{21}\)也能通过T24而导通。一旦T\(_{21}\)导通就保证了T26的导通并进而使整个运放各级电路正常工作。主偏置电路中二极管T\(_{27}\)的设置使偏置电路导通后能自动切断与启动电路的联系,这是因为引入T27后使得与晶体管T\(_{24}\)接成差分对形式的T23管在主偏置电路导通后不但处于正偏,且有V\(_{BE23}\)+VR6=V\(_{BE27}\)+VBE25≈2V\(_{BE28}\),即两个PN结压降,这就迫使VBE24≈0,从而使T\(_{24}\)管在偏置电路启动后因零偏而截止,此后T24即完成其启动电路使命而处于截止状态不再参与工作。
8FC7的主偏置电路是由晶体管T\(_{21}\)、T22、R\(_{5}\)与T26、T\(_{25}\)、R7组成的两级微电流源电路串接构成的。由图5可见,由于I\(_{b21}\)和Ic22都流过R\(_{5}\),且有VEB21+V\(_{R5}\)=VEB22,因此有V\(_{EB21}\)<VEB22以及I\(_{c21}\)《Ic22,所以这也是一种微电流偏置方式,T\(_{25}\)、T26、R\(_{7}\)的工作原理与之相同。这种偏置电路的优点是可以在无需采用很大阻值电阻时就能构成极小的基准偏置电流,它不但为运放各级放大电路建立起非常低的微安级工作点,而且使得包括启动电路在内的整个偏置电路的静态工作电流小于40μA,从而保证8FC7具有很低的静态功耗。不仅如此,由于偏置基准电流是由微电流源确定的,而偏置电流源电流的大小又只与R6、R\(_{5}\)、R7 的大小有关,因此8FC7的偏置基准电流基本上与电源电压无关,只要电源电压高于三个PN结的正向压降,即大于1.8V就能保证偏置电路工作,为运放各级电路建立合适的工作点。当电源电压高达32V时电路各级工作点也变化不大,因而它具有非常好的电源电压适应性,可在2V~32V间的任何单电源或±1V~±16V对称电源下正常工作。
8FC7的主要特点
(一)我们已经知道一般的运算放大器也能用在单电源电路,为什么还要专门设计单电源运放,它又有什么特殊的地方呢?
由于一般运算放大器的最大共模输入电压V\(_{ICR}\)和输出电压范围VOPP都是有限的,它们既不能达到电源最高电位、也不能低至电源最低电位。即使对于共模电压范围这项指标具有较高水平的运放如F007来说,如采用+30V单电源工作时,因负向共模电压范围的限制,其输入端最低也要保证有2V左右的静态电位才能正常工作。若两输入端均接近地电位,则运放输入级的晶体管便会截止而不能工作了。因而常规运算放大器单电源供电时只能工作在高于地电位几伏以上的共模电压值下,如稳压电源中用作比较放大器即是。另一方面,由于常规运算放大器输出级都是NPN、PNP管互补射极跟随器电路,不管哪个晶体管导通都有约1~2V的饱和压降。也就是说,对常规运算放大器其输出信号的动态范围总要比正、负电源各小1~2V,如果采用单电源工作则其输出电压最低只能工作到V\(_{0}\)≥1~2V,即V0也不可能为零。因此一般运算放大器在单电源供电时既不能工作在输入信号电压Vi趋于零,又不能使输出电压V\(_{0}\)趋于零,故只能采用正、负电源供电以保证它能工作在Vi→0时有V\(_{0}\)→0。如果输入信号是单极性的,即始终是正值或负值,则采用正、负电源工作时总有一组电源的作用只是为了保证能加入趋于零的输入信号和得到能趋于零的输出,而于放大信号是无用的,这样功耗自然较大而电源效率很低。所谓单电源运放就是针对这一特殊要求设计的;即在使用单电源工作时,其输入级电路的设计应能保证共模电压范围最低能达到零伏而运算放大器仍能工作。输出级电路的设计也要保证在输入信号为零时其输出电压亦能为零。这就是8FC7电路不同于一般运算放大器而独具的特点,因而它特别适合用于单极性输入信号场合作单端输入直流放大。
(二)由于8FC7偏置电路的设计使得各级电路的工作点基本与电源电压无关,因而在电源的选用上非常灵活,最高可采用32V,最低可低至2~3V。当采用+5V电源时其输出高电平为V\(_{+}\)-1.5V=3.5V,低电平为OV,因而能直接与TTL等数字电路耦合及共用+5V电源。而用一般的运算放大器或电压比较器则均需设置附加的正、负电源,以及在使用运放时大多还需要设置电平转换电路才能与TTL数字电路匹配。
(三)由于8FC7电路的静态工作电流非常小,因而具有低功耗性能。当它工作在V\(_{+}\)=5V时,其静态功耗PD小于1mW,已达到低功耗运算放大器的水平。由于它能在很低的单电源供电时具有比一般运算放大器大得多的输出动态范围,因而在低压单电源工作时它的输出功率与电源消耗功率之比,即其效率要比一般运算放大器,甚至比低功耗运放高得多,因此8FC7特别适合用于对功耗、效率都要求很高的航天、航空、导弹控制系统或炮弹引信控制电路以及野外、高空、井下等必须使用干电池供电的设备和便携式仪器中。
由以上分析可以看出,8FC7具有适用于单电源作单极性信号直流放大,功耗低,温度稳定性好,适用电源电压范围宽、与数字电路耦合方便等特点,因而是很有发展前途的一种特殊类型运算放大器。

8FC7采用8引线圆形金属外壳封装,其外形引线排列如图6所示。管壳标志处对应管脚8,其它管脚标号辨认方法为:面对管脚由1至7按顺时针方向顺序排列,其中2脚为反相输入端,3脚为同相输入端,4脚接地,6脚为输出端,7脚接电源,1、5、8脚为空脚。(张国华 李荣实)