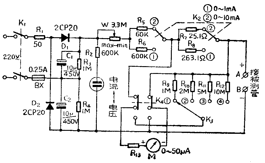
这个仪器可以测量三极管和二极管的反向击穿电压。最高测试电压为600伏,最大测试电流为10毫安。
测量仪电路如图,直接利用220伏市电经二极管D\(_{1}\)、D2整流、电容C\(_{1}\)、C2倍压后,取得600伏的直流测试电压。测试电压经限流电阻和电流表加在被测管上,被测管接在A、B端子上。

电流表和电压表共用一个表头,由开关K\(_{4}\)切换,作为指示被测管的击穿电流和击穿电压用。电流表有两个量程,由开关K2转换:①0一1毫安;②0~10毫安。电压表有四个量程,由开关K\(_{3}\)转换:①0~50伏;②0~100伏;③0~250伏;④0~500伏。
电路中二极管D\(_{1}\)、D2要用耐压600状以上的管子如2CP20,电解电容C\(_{1}\)、C2耐压在450伏以上。K\(_{1}\)、K2、K\(_{4}\)用双刀双掷钮子开关,K3用单刀四掷波段开关。表头用0~50微安的直流电流表,其内阻与R\(_{13}\)相加配成5千欧,R9、R\(_{1}\)0、R11、R\(_{12}\)。用0.5瓦的金属膜电阻,误差小于±5%。R7φ0.2mm用锰铜线绕制,R\(_{8}\)用φ0.lmm锰铜线绕,绕在1M、1W的电阻体上。其它电阻均用1/2W的碳膜电阻,W最好用线性的2瓦碳膜电位器。电源指示灯用电珠型氖管,A、B接线端因有高压,要注意安全,应用小型绝缘鱼夹(鱼夹外面要有可靠的橡皮绝缘套)。
使用时,先将开关K\(_{1}\)断开,接好被测管(注意极性),将电位器W调到最大值。K4置于“电流”位置,K\(^{2}\)置于适当位置(测小功率管时,K\(_{2}\)置在0~lmA位置;测大功率管时,K2置于10mA位置或根据手册注明的击穿电流选取位置),接通开关K\(_{1}\),等氖灯亮后,慢慢减小W到电流表突然变化为止,此时电流表指示的就是击穿电流值。然后,将开关K4扳至“电压”位置,电压表指示的就是击穿电压值。测试完毕后,立即将K\(_{1}\)断开,等氖灯全熄后取下被测管。因测试电压很高,一定要注意安全,在测试过程中,禁止用手触及被测管和先通电后接被测管。(高春辉)