本文介绍的声控娃娃不是用哨声控制的,而是用拍手声控制的,这样既讲卫生,又简化了声源。这种声控娃娃很“听话”,“啪”地拍一下手,她就乖乖地向前走,再拍一下手,她就停步待命,玩起来很有意思。
电路介绍
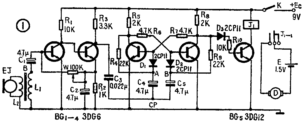
声控娃娃的电路见图1。图中耳塞机作为声音检测器件能把拍手或击发声等机械能转换成电信号,并由变压器B进行阻抗变换后,耦合至BG\(_{1}\)的基极,经BG1、BG\(_{2}\)组成的直耦放大器放大后,作为一个脉冲信号通过C3加到由BG3、BG\(_{4}\)等组成的双稳态触发器的计数输入端(CP端),使触发器翻转。若BG4管原来处于饱和,则翻转后就变为截止。BG\(_{4}\)一旦截止,它的集电极电位就升高,这个高电位经过二极管D3、电阻R\(_{1}\)0加到BG5的基极,于是BG\(_{5}\)导通饱和,它的集电极电流通过继电器J1的绕组,继电器吸动,其触点J\(_{1}\)-1的中间簧片与常开触点接通,电机电路接通,小电机转,带动齿轮,娃娃开始走路。直到第二次拍手,第二个击发信号输入到耳塞机时,电路再次翻转,BG4的集电极变为低电位,BG\(_{5}\)截止,继电器释放,电机停转,娃娃就停住不走了。如果再拍手,娃娃就又走了。

元件选择
检测器用8欧低阻耳塞机,因为它体积小,防震性能良好,便于在线路板之外的地方安装。晶体管BG\(_{1}\)~BG4均可用任何一种NPN型小功率硅管,其中要求BG\(_{1}\)、BG2的β值大于30即可;而BG\(_{3}\)、BG4需配对,其β值可在60~150之间任意选取,耐压要大于12伏。BG\(_{5}\)可选用3DG12、30DG27等管子,饱和压降要小一些,耐压要大于25伏,β值应大于30。二极管D1、D\(_{2}\)、D3用2CP或2AP均可。
变压器B用E型铁心,其截面积为3.5×3.5mm\(^{2}\);L\(_{1}\)用φ0.06毫米的漆包线绕600匝,L2用φ0.10毫米的漆包线绕55匝。B也可以用一般半导体收音机的输出变压器代替。代替时,把输出变压器的初级作为L\(_{1}\),输出变压器的次级作为L2,不能搞错。继电器用的是HG型9伏小功率电磁继电器,直流电阻为300欧,吸合电流为20mA左右,也可以用其它型号的继电器代用。
调试与安装
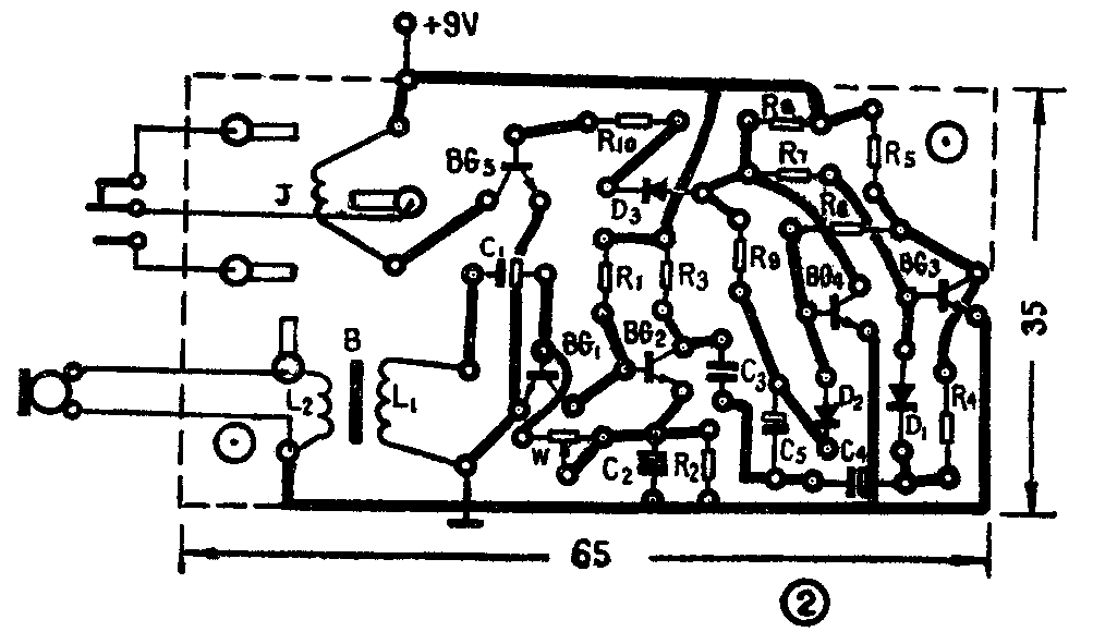
电路图中的元器件除了电容C\(_{3}\)、二极管D3以外,都安装在图2所示的印制板上。焊接好以后,接上9伏电源,先调双稳态触发器,用万用表测BG\(_{3}\)、BG4两管各极对地的电位,其值应与表中所列的数据相近,当一管饱和时,另一管必须截止。然后用螺丝刀或摄子快速地轻轻碰触CP端(这相当于送入一个人体感应脉冲),或输入一个负脉冲(可以从CP端引入一短线碰正电源后,再碰地端),电路应翻转。应当每触一次,电路也跟着翻转一次。调放大器时,旋动W,使其阻值逐渐增大,这时BG\(_{1}\)的集电极电位Ucl也应随着增大(可从1.2伏增大到2.2伏左右),而BG\(_{2}\)集电极电位Uc2应随着下降(可从7伏减小到3.2伏左右),一般调到U\(_{cl}\)约为2伏、Uc2约为4伏就可以,这时将W固定在这个位置上。最后再接上C\(_{3}\)、D3,然后拍手或轻轻触耳塞机外壳,继电器应转换一次,再触发,再次翻转,至此,电路已初步调好。调试中也可能出现这样那样的问题,为了帮助初学者解决这些问题,下面对一些常见故障进行了分析,以便排除。


1.BG\(_{3}\)、BG4均截止,U\(_{c3}\)与Uc4均在7伏左右。很可能R\(_{6}\)、R7同时虚焊或开路。
2.U\(_{c3}\)、Uc4均为电源电压9伏。可能是BG\(_{3}\)、BG4两管同时有一个极开路。
3.BG\(_{3}\)、BG4两管既不截止,又不饱和,可能是BG\(_{3}\) 的b、e两脚焊错了。
4.U\(_{c3}\)、Uc4均为0伏。可能是电源开路。
5.触CP端时,电路不翻转,BG\(_{3}\)总是截止,BG5总是饱和。应检查BG\(_{4}\)是否已击穿,检查时,可先断开电源,然后用万用表测BG4的c、b两脚,若它们之间的正反向电阻均很小,约在1千欧左右,说明BG\(_{4}\)已损坏,应更换管子;若BG4是好的,则很可能是BG\(_{3}\)的管脚有虚焊或开路,也有可能是D2、C\(_{5}\)、R4、R\(_{7}\)元件中有虚焊或开路。
6.触CP端时,电路不翻转,BG\(_{3}\)总是饱和、BG4总是截止。应检查BG\(_{3}\)是否已击穿,方法同上。若BG3是好的,则应检查BG\(_{4}\)的管脚及D1、G\(_{4}\)、R6、R\(_{9}\)是否虚焊或开路。
7.调W时,若BG\(_{1}\)、BG2的集电极电位并不变化,可能是管脚有焊错的,应注意检查。
8.继电器不停动作。可能是外界干扰造成的,应旋动W增大阻值,适当降低放大器的增益。
9.每触发一次,继电器翻转两次。这除了放大器增益太大以外,很可能是BG\(_{4}\)饱和不深或管子不太好,可用万用表测BG4的集电极电位,若发现BG\(_{4}\)截止时,Uc4不断漂动,应更换BG\(_{4}\)。
把已调好的声控接收机、电动机、齿轮箱和开关等按图3(a)所示的部位安装在“娃娃”内部骨架上,两个椭圆形轮的长轴应相互垂直地装在齿轮箱的轴上,这样就有走路的感觉了。为了减少“娃娃”走路时引起的干扰,可把耳塞机吊在裙子内,不要跟骨架相碰。如果要把耳塞机装在骨架上,应用泡沫塑料等防震材料把耳塞机垫好。如果发现接收机在未带负载之前是正常的,而带上电动机以后,工作变坏甚至无法工作,可能是由于电机火花干扰引起的,应采取消火花措施,最简单的办法是在电动机两端跨接一只10微法左右的电解电容器,或在电动机两端各串入一个内径为4毫米、间绕20匝左右的线圈后,再在两端并联一个0.01μ左右的电容,如果仍有干扰,还可在接收机的CP端与地之间接一个0.01至0.033μ左右的电容器。再调节W,要在电机不受干扰的前提下,尽可能保持一定的灵敏度。

“娃娃”的外部服装宜用裙子装饰,见图3(b)。(汤诞元)