本刊上期报导了北京第一无线电器材厂向读者提供小型高保真音箱散件的邮购消息,应读者要求,下面讲讲制作与使用这种音箱时应注意的几个问题,供已买到散件的读者参考。
1.买到散件以后,需要自己配制音箱外壳。音箱的具体尺寸可参看随散件一起的说明书。制作时箱板各榫接处要结合牢靠,板材应选用坚硬、结实的木材,厚度不应小于10毫米。
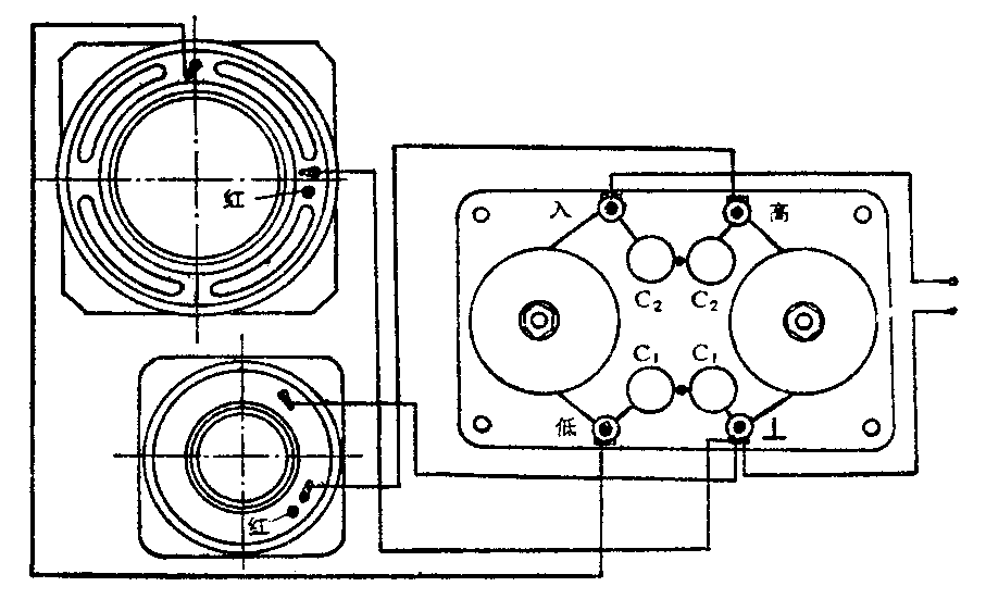
2.说明书上附有分频器的实物接线图。图中W是高音衰减电位器(功率为1瓦,阻值为27~33欧),这一个电位器应由用户自备。如果没有买到这个电位器,也可以省去不用,而按附图所示接法连线。如果使用者嫌高音太强,可利用固定电阻衰减高音(具体线路请参考本刊1980年第10期《小型高保真扬声器箱》一文)。

3.请读者注意:买到散件以后,切不可直接用扩音机或功率大于1瓦的收录设备的输出信号去试听高音扬声器,这是因为高音扬声器的工作频率在3000赫以上,使用时应加接分频器,将3000赫以下的频率信号除掉,这样即使高音扬声器负担5瓦的功率也不会损坏。如果用扩音机不加分频直接试听,让低频信号也加到高音扬声器上,即使功率较小,也容易震坏高音扬声器。
4.在面板上安装每一个扬声器单元时,一定要组装牢靠,否则在试听时会夹杂有机械声。箱体内壁应铺设吸声材料,以削弱声反射及防止驻波产生。除了面板背面以外,在其它的几个面(特别是后盖板内壁)应垫上10~15毫米厚的泡沫塑料,也可用豆包布裹包上松软的棉花铺放。
5.用该散件组装的成品YZX5-1型小音箱,在今年全国音质评价会上,受到与会者很高的评价,认为该音箱体积虽小,但是有良好的低音效果。该音箱不能单用一般半导体收音机直接带动音箱放音,因为输出功率不够大,一般说来,如果声源设备有1瓦以上的输出功率,就能用这种音箱在十几平方米的房间内满意地放音。(陈同仁)