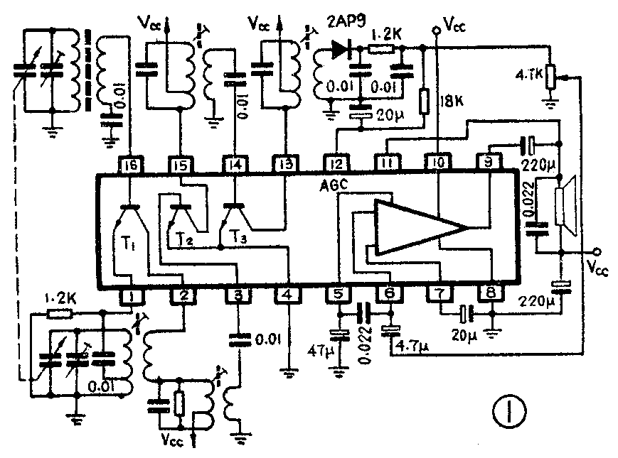
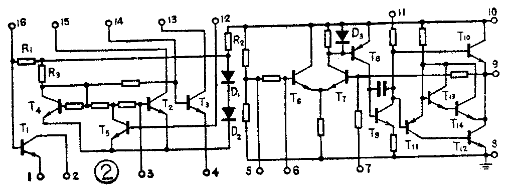
YR060单片集成电路是国营永光电工厂生产的一种新产品。集成电路内部包括了从变频至功放全部三极管并设置了用来稳定基极电压的二极管。用一块这种电路可以装置一台超外差收音机。图2是YR060的内部电路图。图中D\(_{1}\)、D2用来提供内部稳压电源。T\(_{1}\)作变频用,T2作第一中放,T\(_{3}\)作第二中放,T5作自动音量控制,T\(_{6}\)~T14与外围元件组成OTL低频放大器。图1介绍的单片集成电路收音机的电源电压为3伏,由于内部稳压电路的作用,电源电压降到2伏仍能正常工作。我们使用YR060装置的单片集成电路收音机达到国家袖珍机规定的指标。


业余制作时应注意以下几点:(1)焊接之前要仔细认清集成电路各脚的排列顺序,防止接反而烧毁。(2)集成电路的第9脚是输出端,切勿与地或电源相碰。(3)设计印制电路板时应注意地线从高频到低频的顺序从前向后排,避免地线反复来回走,地线也不应形成回路,不注意地线走向很容易出现自激。(4)排列元件时应注意使集成电路与碰棒垂直,这样可以避免不必要的耦合,减少自激的可能性。(5)双连和振荡线圈可选用市售元件,但应注意配套,否则调试时出现问题很难查找。
附表是3伏供电时各脚的电压、电流值,供调试时参考。

该集成电路可函售供应,YR060一只,中周一套,线路板一块,共5.20元(包括邮费)。函售地点是:北京崇外茶食小学校办厂。(孟长生 尹德培)