当我们进行智力测验竞赛时,需要有这样一个控制装置,即当某一组学生按响了电铃时能控制其他各组学生按不响自己一组的电铃,于是主考老师便可知道是哪一组学生首先要求回答问题;当学生回答完毕,主考老师只需按动开关就可以使控制电路重新恢复工作状态,为下一次各组学生抢答作好准备。下面介绍利用干簧管继电器等组成的控制装置。
工作原理
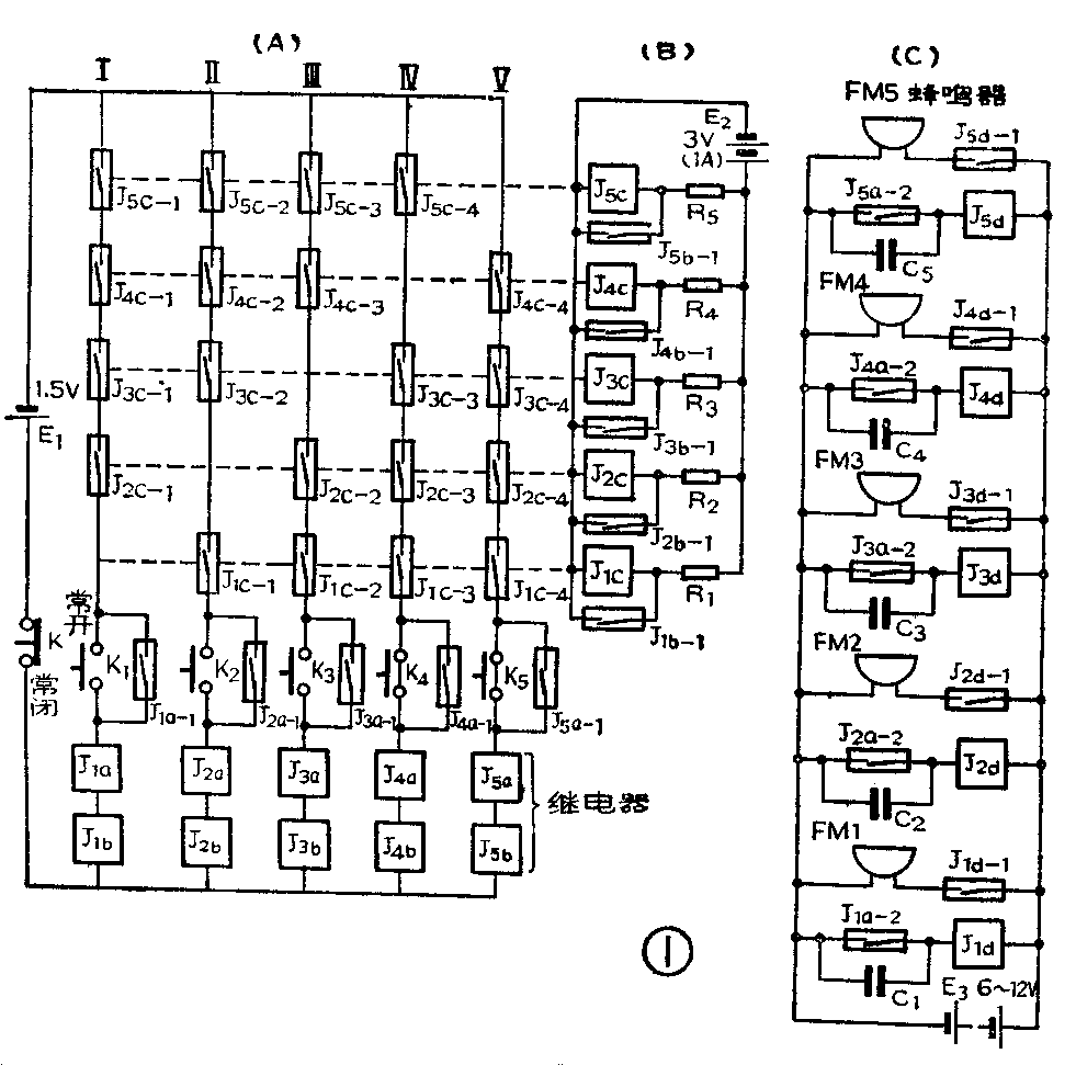
图1为电路图。它可分为(A)(B)(C)三部分。电路(A)中K是常闭开关,它是用常开的电铃开关改制而成。K\(_{1}\)~K5分别为Ⅰ.Ⅱ.Ⅲ.Ⅳ.Ⅴ.组的电铃开关。电路(A)中有10个继电器,其中J\(_{1a}\)~J5a继电器各有两个常开接点。如J\(_{1a}\)的两个接点为J1a-1、J\(_{1a}\)-2。其中接点J1a-1在(A)电路部分,而接点J\(_{1a-2}\)在电路(C)部分。J1b~J\(_{5b}\)五个继电器各有一个常开接点,这些接点J1b-1、J\(_{2b}\)-1、J3b-1、J\(_{4b}\)-1、j5b-1均在(B)电路部分。

电路(B)中有五个继电器,J\(_{1c}\)~J5c的每个继电器各有四个常开接点,这些接点均在电路(A)中。例如J\(_{1c}\)的接点为J1c-1、J\(_{1c}\)-2、J1c-3、J\(_{1c}\)-4;J2c的接点为J\(_{2c}\)-1、J2c-2、J\(_{2c}\)-3、J2c-4。
电路(C)中有J\(_{1d}\)-J5d五个继电器,它们各有一个接点,分别为J\(_{1d-1}\)、J2d-1、J\(_{3d-1}\)、J4d-1、J\(_{5a-1}\)。
电路(A)中K\(_{1}\)~K5为各组学生掌握的电铃开关。K为老师按动的开关,当把各路电源接通后,电路(B)中J\(_{1c}\)~J5c五个继电器线圈中有电流通过,因此J\(_{1c}\)-1~J1c-4,J\(_{2c}\)-1~J2c-4、J\(_{3c}\)-1~J3c-4、J\(_{4c}\)-1~J4c-4、J\(_{5c}\)-1~J5c-4,20个干簧管闭合。这时,如果第一组同学按一下K\(_{1}\),让电流经过J1a和J\(_{1b}\)两个继电器线圈,J1a的干簧管接点J\(_{1a}\)-1闭合,这时尽管第一组学生不再按住开关K1,这时K\(_{1}\)断开,但由于J1a-1已经闭合,使J\(_{1a}\)和J1b仍保持通路。J\(_{1a}\)-2也闭合,使J1d有电流通过,造成J\(_{1d-1}\)闭合,于是讯响器FM1发出声响。另外J1b的干簧管接点J\(_{1b}\)-1闭合,J1c线圈被短路,使得J\(_{1c-1}\)、J1c-2、J\(_{1c-3}\)、J1c-4接点断开,第Ⅰ、Ⅱ、Ⅳ、Ⅴ、组的电路被切断,那么这四组学生就按不响讯响器了。待主考老师按一下电铃开关K,使J\(_{1b}\)、J1a中失去电流,这时接点J\(_{1a}\)-1、J1a-2、J\(_{1b}\)-1恢复常开状态。J1d失去电流,使J\(_{1d-1}\)恢复常开状态,讯响器停止工作。J1c短路解除,J\(_{1c}\)-1~J1c-4又都闭合,主考老师的手离开K后,K处于常闭状态,整个电路恢复成准备工作状态。
其他Ⅱ、Ⅲ、Ⅳ、Ⅴ、组的工作过程与第一组相同。电路(B)中的R\(_{1}\)~R5的作用是防止E\(_{2}\)电源短路。电路(C)中C1~C\(_{5}\)电容是起保护J1a-2~J\(_{5a-2}\)干簧管的作用。
元件选择
电路中电阻R\(_{1}\)~R5选用1/8瓦阻值为5.1欧碳膜电阻。电容C\(_{1}\)~C5选用0.033μF的涤纶电容。
电路中使用了20个继电器,其中J\(_{1d}\)~J5d必需采用市售的JAG—4—1HB继电器,它的外形见图2。这种继电器线圈的电阻约为1250欧。其余15个继电器需自制,其中J\(_{1a}\)~J5a、J\(_{1b}\)~J5b继电器线圈的骨架尺寸见图3。用直径0.25毫米漆包线绕500匝,线圈电阻是6欧姆,插入线圈包中间的干簧管规格为JAG—2—H,它的直径为3毫米。J\(_{1a}\)~J5a线圈中各放两个干簧管,J\(_{1b}\)~J5b线圈中放一个干簧管。J\(_{1c}\)~J5c线圈骨架尺寸见图4,所用漆包线,所绕匝数以及电阻数和J\(_{1a}\)~J5a继电器相同。J\(_{1c}\)~J5c每个线圈中放四个干簧管,干簧管规格仍为JAG—2—H。



由于图(B)电路中要求电流约1~1.5安培,所以E\(_{2}\)最好用蓄电池。E1用一节1.5伏干电池,E\(_{3}\)根据讯响器要求而定,一般为6~12伏的稳压电源。图5为印刷电路板供制作者参考。

如能购到常闭型干簧管来作J\(_{1c}\)~J5c继电器,整个电路可以简化,并可省去一个电源,读者可自行设计类似电路。(赵继宗)