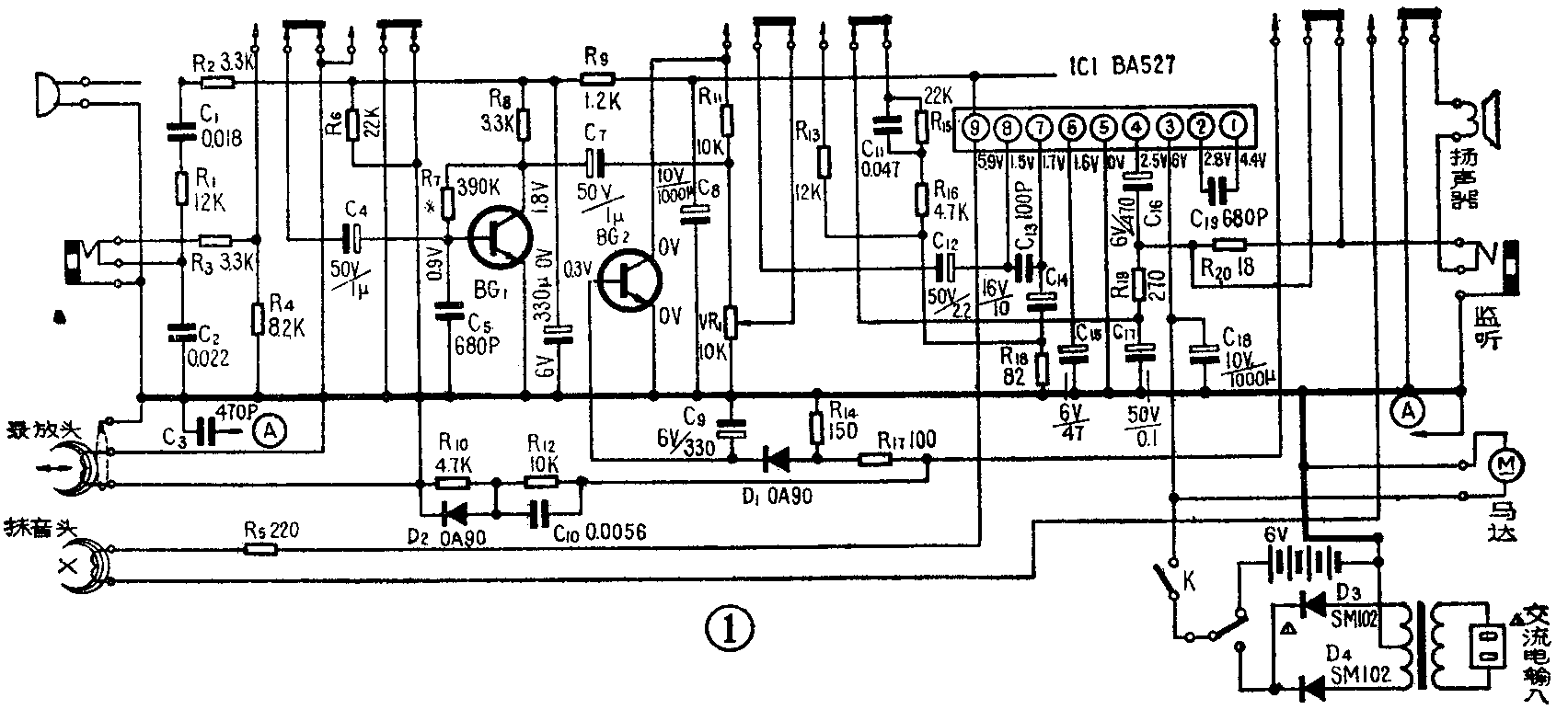
我的松夏RQ-2106盒式录放机由于当地电网电压夜晚突然升高而毁坏,现象是无声。用万用表测量功放集成块BA527各脚对地电压均与说明书的电路图不符(见图1)。我将国产集成电路SL34(上海半导体器件16厂生产)与BA527对比(见图2)之后发现按照附表所列各脚对应关系,用SL34代替BA527效果很好。代替方法如下:将BA527及C\(_{13}\)(100pF)从电路板上烫下来,再将C19(680pF)换成150pF,把SL34的4~6脚和10、12脚剪掉,把1、7脚折弯,并把SL34的2、3脚分别焊在BA527的1、2脚位置(参考图3),并按图3方法把SL34的11脚与BA527的8脚之间接一只10μF电解电容,其余各脚按表1中所列的对应关系用导线接到相应各点。这样改接之后效果甚为满意。(新疆喀什叶城二牧场电影组 韦岐嵯)



表1
SL 1 2 3 7 8 9 13 14
BA527 6 1 2 5 4 3 7 8