(赵学泉)我们已经知道,在串联型晶体管稳压电路中,负载与调整管是串联的。如果在使用中不慎使输出过电流(称过载)或短路,调整管将流过很大的电流。这时,调整管集电极与发射极之间的电压也很大,因此调整管将承受很大的功耗,可能将调整管烧坏。为此必须对调整管加以保护。一般的热熔保险丝由于热惰性大,当过载或短路时,保险丝还未熔断,调整管就已经损坏了,因此这种保险丝起不到保护作用。在串联型晶体管稳压电源中,通常都采用电子保护电路。
保护电路的基本原理
调整管的保护有两种方案,一种是当输出过载或短路时切断或降低输入电压V\(_{i}\);另一种是过载或短路时使调整管的电流Ie截止或降低。后者的缺点是保护以后调整管上存在着很大的管压降,尤其是当输出短路时,全部输入电压都加到调整管上,如果调整管的反向耐压不够高,就有击穿的危险。因此这种方案常用在低压电源中,而对于高压电源一般都采用第一种方案,不过这种方案要复杂得多。我们这里仅研究适合于低压电源的第二种方案。

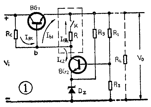
图1为串联型晶体管稳压电路的原理图。虚线框内部分是专为保护调整管而增加的保护电路。我们用一个小电阻R和开关K串联接在调整管基——射极之间来等效。在正常情况下,开关K断开,保护电路不起作用。根据稳压原理知道,当负载电阻减小使输出电压V\(_{o}\)降低时,BG2的集电极电流I\(_{c2}\)也随着降低,而BG1的I\(_{b1}\)将会上升,从而使调整管给出更多的输出电流lo,使输出电压V\(_{o}\)回升,保持输出电压基本不变。但是,当过载或短路时,根据上述原理调整管将产生过大的电流,因此有被烧坏的危险。如果这时将开关K合上,则保护电路就会起作用。开关K合上以后,IRC=I\(_{b1}\)+IC2+I\(_{保}\)(I保为保护电路的电流)。由于过载或短路时输出电压V\(_{o}\)很低或为零,这时IC2也随着降低到接近于零,照理I\(_{b1}\)应有更大的增加,但由于I保的分流作用,使I\(_{b1}\)增加不多或比原来还降低了,这就促使调整管电流降低或截止,从而起到保护调整管的作用。不过,开关K不能用手控制,因为过载或短路是随机的,手动自然跟不上,因此必须采用电子开关。从上面的分析可以看出, 电子开关一定要接在调整管的基极上才能起分流作用:同时它还必须受输出电流的控制,对输出电流的过载能够及时作出反映。这就是保护电路的工作原理。
这种保护电路又分为两类,一类为限流式,即输出电流达到某一门限值时,便被限制在一定数值上;另一类为截流式,即输出电流达到某门限值时,能自动降到零或接近零。
限流式保护电路

图2为二极管限流式保护电路。二极管D两端的电压V\(_{D}\)=Vbe1+I\(_{o}\)Ro,V\(_{be1}\)是调整管的基——射极电压,Ro为保护电路的检测电阻。显然,R\(_{o}\)两端电压VR的大小与输出电流I\(_{o}\)有关。正常工作时,Io不大,二极管截止;当过载或短路时,I\(_{o}\)增大到某一门限值I'o,R\(_{o}\)上的压降增大到使二极管D导通。流过二极管的电流ID就相当于图1中的I\(_{保}\),由于二极管D的正向电阻很小,所以其分流作用很大,这就使调整管的Ib1减小,从而限制了调整管电流I\(_{e}\)(即Io)。由此可见,R\(_{o}\)上的电压VR就起到了受输出电流控制的开关K的作用。门限电流I\(_{o}\)'的大小决定于二极管的管压降VD和电阻R\(_{o}\)的数值,如果二极管选用2CP型(其VD≈0.7V),并假定BG\(_{1}\)的Vbe1为0.3V,R\(_{o}\)选1Ω,则Io'=\(\frac{V}{_{D}}\)-VbeR\(_{o}\)=0.7V-0.3V;1Ω=0.4A。这就是说,当输出电流达到0.4A时,调整管电流就不再继续增加了。为了得到较大的输出电流,除选用VD值大的二极管以外,还可由两个二极管串联或选用合适的稳压管来代替。

图3的虚线框内是另一种限流式保护电路。BG\(_{3}\)为保护管,Ro仍为检测电阻。BG\(_{3}\)的Vbe3=I\(_{o}\)Ro-V\(_{D}\)。由图中的极性可以看出,IoR\(_{o}\)的电压有利于BG3导通,而V\(_{D}\)则不利于BG3导通。为了分析方便,我们称I\(_{o}\)Ro为导通因素,V\(_{D}\)为截止因素。显然,这两个因素叠加的结果决定了BG3是导通还是截止。V\(_{D}\)是二极管的正向压降,它保持一定的数值,即截止因素基本不变。IoR\(_{o}\)是随输出电流而变化的。我们可以对电路作这样的设计: 在正常情况下,导通与截止因素叠加的结果使BG3截止,保护电路不起作用;而在过载或短路时,即当I\(_{o}\)增加到某门限值Io'时,使导通因素起主导作用,BG\(_{3}\)导通。由于BG3的集电极接在调整管基极b点上,其分流作用就会使调整管的输出电流不再增加。同理,这里的I\(_{o}\)Ro也起到开关K的作用。如果R\(_{o}\)仍取1Ω,显然,该电路的门限电流I'o=\(\frac{V}{_{be3}}\)+VDR\(_{o}\)=0.3+0.6;1=0.9A。这里取Vbe3=0.3V,V\(_{D}\)=0.6V。
以上两个电路都是当过载时,即I\(_{o}\)超过某门限值Io'后保护电路起作用,调整管电流基本上就限制在门限电流上;而当负载短路时,调整管电流还要比这个门限值大一些。因此这种保护方式虽然具有电路简单的特点,但保护效果不太理想。尤其当负载短路时,调整管的管耗还是比正常运用时大得多,如果长时间使负载短路,仍有损坏调整管的可能。所以这种电路仅适用于小功率电源或专用电源的保护。
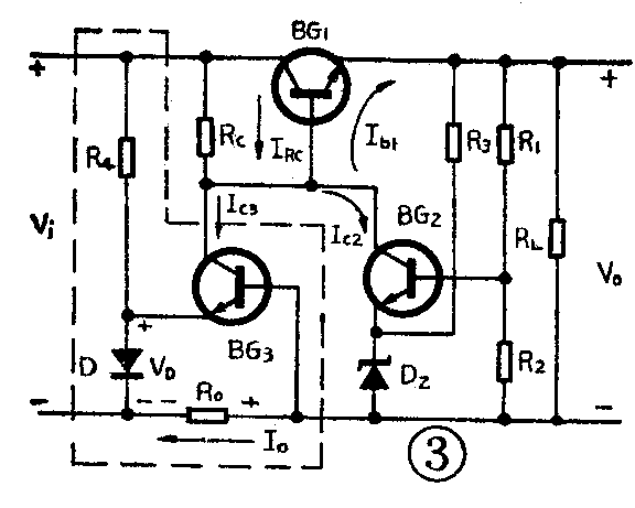
下面我们介绍另一种限流式保护电路,该电路又称减流式保护电路。它的特点是保护电路起作用后能使调整管电流小于其门限值。图4的虚线框内部分就是这类电路的一种。由图中的电压极性可知,BG\(_{3}\)的Vbe3=I\(_{o}\)Ro-V\(_{R4}\)。IoR\(_{o}\)仍为导通因素,VR4为截止因素。保护原理与图3基本一样,不同之处在于,这种电路的截止因素V\(_{R4}\)也是变化的。同样,在正常情况下,由于Io不大,导通因素弱,所以BG\(_{3}\)截止。但当输出过载,导通因素增强时,保护管BG3则导通。这时,由于出现了I\(_{c3}\),其分流作用将使Ib1降低,于是I\(_{e1}\)随着降低,输出电压Vo随着减小。V\(_{o}\)的减小反过来又使VR4减小,使BG\(_{3}\)进一步导通,再使Vo进一步减小,形成一个正反馈过程。经过这样一系列的变化以后,截止因素V\(_{R4}\)和BG3刚导通时相比变小了,自然导通时对导通因素I\(_{o}\)Ro的要求值也变小了,所以输出电流被限制在比门限电流I\(_{o}\)'要小的数值上。当负载短路时,从输出电压Vo分压而得的R\(_{4}\)上的那部分电压就消失了,这时VR4是由BG\(_{3}\)导通时的Ic3在R\(_{4}\)上建立的电压。如果设计使得这时的电压小于原来的VR4,显然,一个比较小的检测电压I\(_{o}\)Ro也可维持BG\(_{3}\)导通,所以调整管能维持小电流输出。也就是说,当负载短路时,这种电路的输出电流更小了。例如,设Ro=2Ω,R\(_{3}\)=600Ω,R4=20Ω,V\(_{i}\)=40V,Vo=30V,R\(_{c}\)=10KC,通过计算可得,开始保护时门限电流Io'大约为0.6A左右,而负载短路时,输出电流只有0.15A左右。

这种保护电路比上面的两种有所改进,但是调整管还是承受着一定的功率,这就是限流式保护电路的缺点所在。然而正是由于调整管在过载或短路时还有电流,因此当短路故障排除或过载负载移去以后,该电流能够在取样电阻上建立起电压,因而使输出电压回升,保护管的截止因素增大,导通因素减小,最后促使保护管截止而自动恢复正常工作情况。
截流式保护电路

针对限流式保护电路的缺点而改进的另一类型保护电路为截流式保护电路,图5是其中一种。它的保护原理和图4一样,也存在着一个正反馈过程,不同之处是它可以使调整管电流降低到接近零,输出电压V\(_{o}\)也降到零。由于Io=0,自然I\(_{o}\)Ro也等于零。那么怎样维持保护管BG\(_{3}\)的导通呢?由图中极性可以看出,保护管的Vbe3=V\(_{R4}\)-IoR\(_{o}\)-VR7。由此式可见,V\(_{R7}\)也是一个导通因素。通过适当设计我们可以作到,当IoR\(_{o}\)=0时,由VR7来维持保护管的导通。因为电压V\(_{R7}\)是来自另外一个辅助电源,它与输出电压Vo和输出电流I\(_{o}\)无关,因此它能在Io=0、V\(_{o}\)=0时维持BG3导通,保证调整管截止。这就是截流式与限流式在电路结构上的区别。

图6虚线框内部分也是一种经常采用的截流式保护电路。R\(_{o}\)为检测电阻,BG3为保护管。由于保护管的V\(_{be3}\)=VD-I\(_{o}\)Ro,所以V\(_{D}\)是截止因素,LoR\(_{o}\)是随输出电压变化的导通因素。当电源正常工作时,截止因素起主要作用,保护管截止;当负载电流增大时,IoR\(_{o}\)增大,若满足IoR\(_{o}\)-VD≥|V\(_{be3}\)|时,保护管BG3则开始导通,并使调整管截止。该电路的门限电流值I'\(_{o}\)=|Vbe3|+V\(_{D}\)Ro。若R\(_{o}\)=1Ω,Vbe3=0.3V,V\(_{D}\)=0.6V,则I'o=0.9A。
当V\(_{o}\)和Io都接近于零时,该电路的截止因素和导通因素都消失了,那么它又是如何维持BG\(_{3}\)的导通呢?由图看出,由于调整管截止,其管压降Vce必然很大,V\(_{ce}\)又通过R4、R\(_{5}\)分压,R5上的电压再通过R\(_{6}\)加到保护管BG3的发射结,因而能维持BG\(_{3}\)导通,也就维持了调整管截止。
这种保护电路在设计的时候,也可以使调整管不完全截止,以便当故障排除后,稳压电源能自动恢复正常工作。
下面再谈谈电容C的作用。电容C有两个作用,其一是利于电源正常启动。因为在开机时,即使负载正常,由于电源输出端一般都接有一个大电容(图中未画),而该电容的充电作用便会产生大电流,如果这个电流超过门限电流I'\(_{o}\),保护管便起作用,因此电源无法启动。加了电容C以后,其充电作用将使开机时BG3的基极瞬时处于高电位,保证开机的一刹那保护管截止,因此电源便能正常起动了。其二是加速保护动作。当输出短路时,电容C的电压通过外部短路线直接加到BG\(_{3}\)的发射结,使BG3迅速导通。于是调整管加速截止。
以上我们分析了限流式和截流式两种类型的保护电路。保护电路的形式还很多,但都不外乎这两种类型,只要掌握了它们的基本原理,对各种电路就都不难理解了。

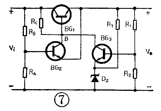
最后再说明一个问题,晶体管稳压电源要不要采用保护电路以及采用什么样的保护电路,要看具体情况来决定,不能一律对待。例如实验室中用的通用电源,其特点是功率大,负载经常变化,因此输出短路的可能性较大,对这种电源,一般都采用保护措施,而且最好采用截流式或限流式中的减流式保护电路。专用稳压电源,其负载基本固定不变,因此发生过载或短路的可能性不大,就不一定采用保护电路,或采用一些简单的限流式保护电路。此外,有些电源过载的可能性不大,而短路的可能性大些,例如收音机的外接稳压电源就是这样。对于这种情况,也可以只考虑短路保护。图7就是在负载短路时保护效果较好的一种电路。因为它没有检测电阻R\(_{o}\),起始保护电流很大,也不能准确控制,所以它的过载保护性能不好。