3.暂停 在录、放音过程中常要求机器暂时停止,然后再继续工作,这就要用暂停键来完成。暂停时传动轮系的位置仍为录放状态,只是压带轮脱离主导轴,走带靠轮离开卷带轮,除暂停键外其他各功能键均应在工作位置不变。动作原理如图8所示。当按下暂停键A时,杠杆1围绕B点旋转,杠杆的D端推动压带轮脱离主导轴,C端推动杠杆2围绕E点旋转,使卷带靠轮与卷带轮脱离。这样卷带轮停止卷带,主导轴也停止向前输送磁带。磁带处于停止状态。当释放暂停键时杠杆1和杠杆2在弹簧作用下仍回到原来位置,磁带继续运动。

4.自停机构 当一盒磁带放音或录音终了时,传动轮系应马上停止工作,否则磁带受到过大张力,产生变形;或使马达处于过载运行状态,影响机构寿命。因此盒式机设置自停机构是十分必要的。自停机构有半自停和全自停两种形式。
半自停 是指录、放音磁带终了时机构才自停。半自停多用于中低档机。原理见图9。录放时半自停触头A与磁带(虚线)接触。此时飞轮上的突块B不能与拨叉的D点相碰。当磁带走完时,供带轮至主导轴的一段磁带使会受到很大张力,使触头A沿箭头方向退到图示位置。C点相碰,使得飞轮上的突块B与D撞击,拨叉绕O点旋转,拨叉的另一端撞击锁板的F,使锁板向左移动,按键就被释放,完成自停。半自停机构中的触头A是装在磁头滑板上的。倒带、快进状态时,磁头滑板是在停止位置,触头A不能与磁带接触不能自停。故称为半自停。

全自停 是指无论录、放音及快进、倒带状态,磁带终了时均能自停。全自停可分为机械式和电控式两种。后者以磁轮检拾停止信号最简单。图10表示在卷带轮或计数器下面装一个多磁极小轮A,工作时多磁极小轮一起旋转,停止时磁敏感元件B(可用干簧管)产生电信号使螺线管式电磁铁C运动,从而推动锁片,完成自停。这种机构较机械全自停机构简单,但电磁铁C耗电大,对于使用电池的盒式机是不经济的。全自动机构中以卷带轮或计数器下装磁轮A输出停止信号为最佳。这种机构不但正常工作(指录、放、倒带、快进)能自停,而且偶然出现逃带、轧带也能立即自停,保护磁带和机器。

5.控制按键 前述各种功能均用按键控制,按键种类很多,大同小异,可分有锁盒式和无锁盒式。锁盒是一个独立部件,图11是立式传动机构的锁盒。按压键A时锁板B在A的作用力之下向右移。当A下移到一定位置时,钩C进入孔D,在弹簧E的作用下B向左移,C则不能从孔D中出来了。A受拉簧M向上的拉力,但不能后退,只有再按其他键时,锁板再次向右移钩C才能从孔D中出来,A才能复位。

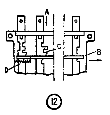
无锁盒式是指按键部分不能单独成立独立部件,见图12。当键柄A受力下移时,锁板B向右移动,当键柄A的槽C与锁板B相遇时,弹簧D将锁板B拉入槽C内,使键柄A被锁住。这种结构简单,体积小。

二、维护与调整
录音机的传动机构必须随时注意维护和调整才能长时间保持最佳工作状态。
1.清洁 传动机构和磁头应定时擦拭掉灰尘,如果长时间不做以上工作,磁头粘多磁粉会影响录放音效果,压带轮上粘多磁粉会导至绞带,轴承不常清洁会加速磨损,传动轮不清洁会出现转动力矩下降等等。
清洁的方法是用棉球蘸清洁液擦拭,但应注意清洁液不可流入轴承内,以防润滑油被冲掉。需要经常擦拭的主要部位是磁头、主导轴、压带轮等。隔一段时间也要擦擦传动轮、橡皮带及其他摩擦传动部分。
2.注油 传动机构的滑动部分一般涂有粘度较大的脂类,要求这些脂类不受温度影响。一般使用者找不到理想润滑脂时,可少量涂抹一点二硫化钼或凡士林油,但量不可太大。例如暂停锁片涂多了会被粘住,以至暂停失灵。键柄涂多了会流到其他部分。
在旋转部分中、电机、主导轴的传动精度要求高,噪声小,工作时间长,转动平隐,所以一般均采用合油轴承。这种轴承有很多微细小孔,出厂前已浸入润滑油,故主导轴、电机一般不用注油。但长期(几年)使用,含油轴承内的油也会挥发一部分。这时可滴几滴粘度不大的钟表油或精密仪表油。注意不可滴入过多,只要轴承内能形成油膜即可。如果滴油过多,外溢到摩擦轮或橡皮带上便会出现传动力矩减小,损坏橡皮件。给供带轮、卷带轮加油时更应仔细。如果卷带轮带有摩擦离合器,一定要将卷带轮取下,在轴上涂以少量粘度稍大的脂类(如图13)。然后再将卷带轮装好。否则油流入摩擦离合器内,便会使卷带力矩变小,出现绞带故障。

总之录音机的传动机构各部位油量均不宜过多,否则影响使用寿命或性能指标。
3.力矩的调整 传动机构中为了表示转轮拖动磁带的能力常用转动力矩这一概念。例如说放音力矩为60克—厘米,是指卷带轮的中心到磁带圈的半径R为2厘米时,卷带盘会有30克的力牵动磁带(参考图14)。在传动机构中卷带力矩数值是很重要的。转动力矩如果忽大忽小或过大都会影响抖晃指标。如过小就会出现主导轴输出的磁带不能及时卷收起来造成轧带。为避免发生上述毛病,除要求控制卷带盘旋转的摩擦离合器具有优良的摩擦性能外,还应将它的摩擦力调整到所需数值。一般卷带力矩应调到35~70克—厘米。国产LX—80机芯只要调整张力轮上的三叉簧片(图15)的位置即可达到微调力矩的目的。有些机芯不设置可调整的三叉簧片,只能靠改变压簧的拉力进行调整(图16)。有些机芯的张力轮上无摩擦离合器,只能在卷带轮处调整卷带力矩。倒带或快进力矩一般为100克—厘米左右。LX—80的离合轮上也有三叉簧片,可调整它的位置来改变倒带或快进的力矩,使磁带免受过大的张力。



半自停机构的调整 有时放音终了时会出现半自停机构不能自停,或在走带过程中有“嗒、塔”声。这主要是半自停触头位置不对造成的。半自停触头伸入带盒过多会出现走带“嗒、嗒”声;伸入带盒太少就会出现放音终了时不能实现自停。针对上述不同毛病可适当搬动触头位置,使它伸入带盒的位置合适(图17)。

总之盒式录音机机芯是一个比较精密复杂的机械传动机构。必须注意经常维护保养,否则就会降低它的性能指标,严重时会出现各种故障。(席金生)