目前我国各地电视节目大都分布在1~12频道,只有5频道在调频广播频段范围内。因此除5频道外,其他各频道的伴音是无法用调频收音机收听的。我试用联合设计的KP12—2型电视机高频头(次品)装置了一部接收机,不但可以收听88~108MHz的调频立体声广播,而且还可以收听1~12频道的电视伴音。
由于调频广播处于超高频频段,不少爱好者在装置调频收音机时总感到调频头部分不好制作。稍不注意就容易出现增益不够或寄生振荡。而KP12—2型高频头结构紧凑,走线合理,该接收机的高频调谐器由KP12—2高频头担当,装配、调试均简单、方便。高频头的电路见图1,这是一个外差式电路,有关结构和原理可参阅本刊1977年第8期。它原是为电视机设计的,故装置本接收机之前要对高频头进行改动。需要改动的地方主要是线圈L\(_{5}\)~L9\(_{1}\)的圈数。表1是改动之后L5~L\(_{9}\)的圈数。由表可见,与原高频头相比L5~L\(_{8}\)的圈数没有变化,只是L9的圈数略略增加。调频广播段(88~108MHz)分三个小频段覆盖,每个小频段中L\(_{5}\)~L9的具体圈数也列在表中。

现以北京地区为例说明如何改动。北京地区有三套电视节目(2频道、6频头、8频道)。可任选本地没有节目的频道进行改动。例如北京地区可选3、4、5三个频道。将3、4、5三个频道的线圈骨架取出。L\(_{5}\)、L6、L\(_{7}\)、L8、L\(_{9}\)分别按表1调频广播频段的数据绕制,绕好后仍装回原位置。然后将2、6、8频道的L9骨架取出,按表1中2、6、8频道的数据改动L\(_{9}\)的圈数,改绕好再装回原位置。

表 2
频 伴音载频 本振频率
道 (MHz) (MHz)
1 56.25 66.95
2 64.25 74.95
3 72.25 82.95
4 83.75 94.45
5 91.75 102.45
6 174.75 185.45
7 182.75 193.45
8 190.75 201.45
9 198.75 209.45
10 206.75 217.45
11 214.75 225.45
12 222.75 233.45
调频广播频段
1 88~93 98.7~103.7
2 93~98 103.7~108.7
3 98~108 108.7~118.7
表3
L\(_{1}\),L4 11T 线φ0.44mm 线圈φ4mm 反向绕
L\(_{2}\),L3 9T 径φ0.44mm 内径φ4mm 正向绕
表2给出12个频道伴音载频频率和接收机本振频率;表3是L\(_{1}\)~L4的数据,供大家制做时参考。
该接收机的中频选用10.7MHz,因此高频头中的中频变压器B\(_{1}\)也要改动。将原线圈从骨架拆下来。初级N1用φ0.18漆包线绕25圈,电感量约3.7μH,次级N\(_{2}\)用φ0.18漆包线绕4圈,磁芯用NXO—40,M4×0.7×8的,结构参考图2。

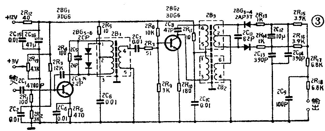
中频放大器及鉴频器电原理见图3,元件排列见图4。由于只有两级10.7MHz中频放大器,该电路工作很稳定。鉴频器选用比例鉴频器形式。从高放输入至鉴频器输出总共有60dB增益。中频变压器2B1可用φ0.15mm漆包线,初级绕21圈(约10μH),14圈处抽头,次级绕3圈。鉴频线圈2B2用φ0.15mm漆包线,初级绕14圈(约5μH),次组绕7圈。2B3用φ0.15mm漆包线,初级绕12圈(约3.6μH),6圈处抽头,次级绕1圈。以上三个线圈均用一般晶体管收音机短波振荡线圈改制。磁芯、磁帽选用NXO—60材料的,谐振电容尽量选用高频瓷介电容。绕法可参考图5。



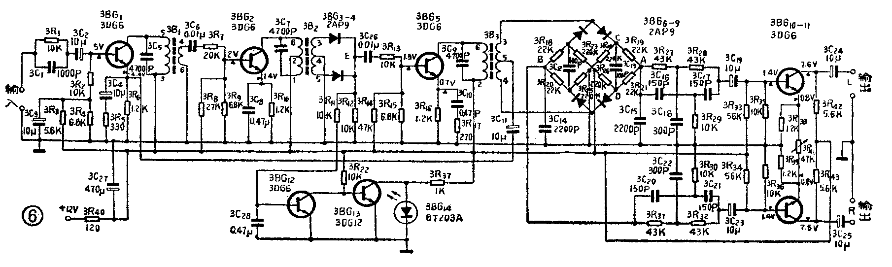
立体声解码器采用电子开关电路,电原理见图6。解码器工作原理在本刊81年第4、第6期已叙述过。这里所不同的是3R\(_{27}\)~3R29、3C\(_{16}\)~3C18构成左声道38KHz滤波器。3R\(_{3}\)0~3R32、3C\(_{2O}\)~3C22为右声道38KHz滤波器。3BG10~11组成差分放大器,改变3R\(_{41}\)可以进一步提高解码器的分离度。3BG12~3BG14组成立体声信号指示器。解码器部分需要自制的元件有3B1、3B2、3B3三个线圈。绕制数据见图5。这三个线圈的磁芯均用MXO—2000、GU14×18的罐形磁芯。解码器各管静态工作电压分别标在图6上,可作为参考。

动态调试可利用本地立体声广播信号。将高频头调谐到本地立体声广播频率上(通过频道转换开关和微调旋钮)。用万用表的直流电压档测量E点对地直流电压。调整2B1、2B2、2B3、3B1、3B2磁芯使指示最大,当大于1伏时立体声指示灯亮,然后将万用表改接到C、D两端。无信号时D点为正,C点为负(约0.12伏);有信号时D点为负、C点为正。调3B3磁芯使电压表指示最大(约3伏)。调整时如发现没有最大点,可以增减3C\(_{5}\)、3C7、3C\(_{9}\)的数值然后再调整上述三个磁芯,使指示最大。利用电台广播前播出的左、右校正信号,调节3R41使左、右声道分离度最好。(于民生)