(潘志刚 陈挺)袖珍电子计算器按照数码显示的方式,可分为液晶显示、荧光数码管显示和发光二极管显示等几种。使用较普遍的是液晶显示和荧光数码管显示两种。
荧光数码管显示计算器的基本结构
荧光数码管显示的计算器主要由荧光数码管、集成电路和印刷线路板、键盘、按键印刷线路板、开关、线圈和一些晶体管、电阻、电容等元器件组成。现以CASIO fx-39型计算器为例进行介绍。
图1是CASIO fx-39型计算器的外形。图2为打开机后盖,可以看到集成电路印刷线路板、开关和电池位置。把集成电路印刷线路板翻开来如图3所示,可以看到荧光数码管、集成电路以及其它分立元件在印刷线路板上的安装位置。再把按键印刷线路板打开如图4,即可看到按键印刷线路板和键盘。然后依次取下透明塑料绝缘垫片、黑色导电橡胶片、按键弹簧片,露出按键盘见图5。

液晶显示计算器的基本结构
液晶显示的计算器主要由液晶显示屏、光偏振片、导电橡胶连接棍、集成电路、键盘和印刷线路板等组成。现以 CASIOfx-80型计算器为例进行介绍。
图6为CASIO fx-80型计算器的外形。图7为打开机后盖看到的集成电路——按键线路印刷板的反面以及上面安装着的几只电阻电容。图8为集成电路——按键线路印刷板的正面及按键与键盘、导电橡胶,偏振片贴在机前盖上。液晶显示屏通过导电橡胶条与印刷电路电极相连,并用固定架固定在印刷线路板上,依次拆下结构如图9所示。

液晶显示屏的工作电压和功耗都较低,由集成电路输出低压直接控制,不需要直流电源升压电路,故液晶显示的计算器的结构比荧光数码管显示的较为简单,使用的分立元件较少。
同类型显示的简易式计算器和函数式计算器,其内部结构组成基本相同,不同的运算功能仅由所用的不同集成电路来提供。而一些具有如音乐、计时定时等特殊功能的计算器,只是在此基础上附加了一些其它元器件。
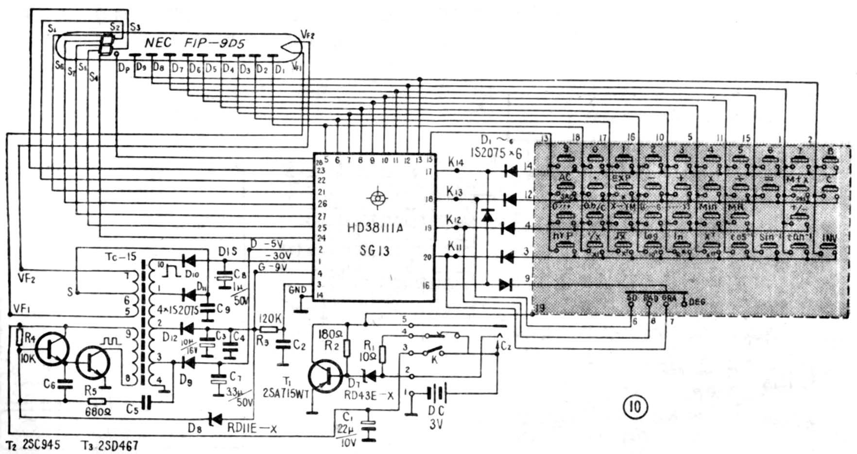
电原理图
图10为CASIO fx-39型计算器的电原理图。图中以大规模集成电路HD381llA为中心,画出集成电路各脚与按键盘、显示管和电源部分的连接关系。图中虚线框内为键盘按键以及相应的连线,所注数字1~19为键盘线号,可以看到,每按一键,相应的两根键盘线电极短路一次,给集成电路输入一个讯号。38个按键仅用14根键盘线,其余几根为运算(度——弧度——公制度模式,统计计算)选择线。图中左上部分为荧光数码显示管NEC FIP-9D5,左下部分为电源升压、整流、滤波部分,完成低压直流→高压直流电源的变换。

电路中标有符号的几点为整机测试点:V\(_{F1}\)-VF2点为荧光数码管的灯丝电压,D、G、DIS、S点为电源变换电路的输出电压,K\(_{11}\)、K12、K\(_{13}\)、K14为集成电路的讯号输入点。附表1列出了集成电路各引出脚电压数据,表2为各键盘线电压数据,是当计算器拨在DEG档、开机后“毕允臼钡墓ぷ髯刺喽杂贕ND(Ground地线的缩写)点用MF-30型万用表测得。



图11为 CASIO fx-80型的电原理图、液晶显示屏的工作电压和功耗都较低,无需直流电源升压变换电路,故液晶显示计算器的电路比荧光数码管显示的要简单些,各点电压数据已标注在图上。