(袁中和)我们给钱包设计了一个“电子卫士”,装在一个小塑料盒内,当有坏人偷拿钱包时,“电子卫士”就会发出鸣响信号,及时提醒主人。
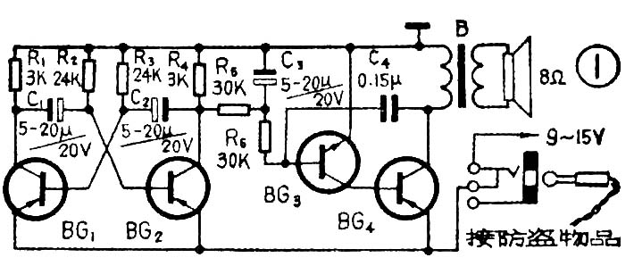
“电子卫士”的电路见图1。BG\(_{1}\)、BG2等组成多谐振荡器,改变电容C\(_{1}\)、C2就可以调节音调。BG\(_{3}\)、BG4等组成直耦放大输出级。

当耳塞插头插入插孔时,电路中的电源是断开的,电路不工作,喇叭没有音频信号发出;当把耳塞机从插孔中拔出来时,电源接通,电路工作,喇叭发出音频叫声。
使用时,将防盗物品如钱包通过尼龙线检在插头上。平时插头插在插孔中,当有人拿走钱包时,就会把插头拔出,发出报警信号。
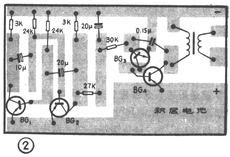
整机装在一个小塑料盒内,印制板见图2,外形见题头。BG\(_{1}\)、BG2、BG\(_{4}\)用3AX型管子,BG3用3DG型管子。B用半导体收音机输出变压器,喇叭用8欧的。

