这里向读者介绍一种利用硅太阳电池的简易太阳能收音机。此机总电流仅零点几毫安、在阳光下或较强的灯光下都能满意收听。
原理
收音机电路图如见图1所示、对应实物连接图见图2。图1中L\(_{1}\)C1组成调谐回路选出所需电台信号,经线圈L\(_{2}\)耦合到晶体管BG1进行高频放大。放大后高频信号经高频变压器L\(_{3}\)L4耦合到BG\(_{2}\)进行三极管检波,检波后音频信号送至耳机EJ放音。电阻R为BG1和BG\(_{2}\)两管共用偏流电阻,电容C2提供高频和音频通路。电容C\(_{3}\)为改善音质用。


图1中2CR为硅太阳电池的型号。硅太阳电池又叫硅光电池,每片硅光电池在阳光照射下可产生0.5伏直流电压。本机共用三片硅光电池,因而可获得1.5伏直流电压。在无光照射时,硅光电池无电压输出,因此本机可以不用电源开关,在不收听时,只要把收音机放在抽屉里就可以了。
元件选择
晶体管BG\(_{1}\)、BG2可采用3DG6、3DG4、3DK2等硅高频小功率三极管,BG\(_{1}\)放大倍数β值以80~120为宜,BG2的β值以50~80间为宜。
磁性天线:在长50毫米的扁磁棒上,用多股纱包线绕75圈作为L\(_{1}\)(L1线头为①),用同样线紧靠着L\(_{1}\)绕5圈作为L2(L\(_{2}\)线头为③),注意L2与L\(_{1}\)同方向绕制。高频变压器L3、L\(_{4}\):用直径为0.1毫米漆包线在小磁环上绕制。小磁环外形见图3a。为绕制方便,可事先做一个小穿梭见图3b。高频变压器的L3为80匝,L\(_{4}\)为45匝。也可利用废电子管收音机中频变压器里拆下来的小磁环,它的尺寸是外径9毫米,内径4毫米、高为3毫米。读者如用其它规格尺寸的小磁环也可以。

C\(_{1}\)为270pF密封单连可变电容器。C2为4.7μF小型电解电容器,对耐压无要求。C\(_{3}\)为瓷片电容器。电阻R为1/8瓦100千欧炭膜电阻器。
耳机应采用800欧姆或1500欧姆高阻抗耳塞机。
硅光电池它有各种规格和尺寸,最常见的是20×20(毫米)的小方块。它的受光面呈蓝黑色,上面有银白色的栅线(见图4),背光面是银白色的金属衬垫。它有四根引线,两根引自受光面。另两根焊在背光面。

硅光电池根据使用材料和制造工艺不同,可分为2CR和2DR两种类型。 2DR型硅光电池的受光面为负极,背光面为正极;2CR型硅光电池光照面为正极,背面为负极。硅太阳电池的四根引线中有两根是正极线,有两根是负极线。每片硅太阳电池在太阳光照射下能产生0.5伏左右的电压,本机工作电压是1.5伏,所以要用三块硅太阳电池串联。串联时要注意硅太阳电池四根引线的正、负,同时每片电池的两根正极线要焊在一起,两根负极线也要焊接在一起(见图2)。
如果不知道硅太阳电池的类型,可用万用电表直流电压档测试,把电表置于直流电压最低量程档(如0.5伏档),用红表笔接触太阳电池的光照面引线,黑表笔接触背面引线,让太阳电池放在光亮处,若电表指针正向偏转,说明硅太阳电池是2CR型;如果指针反向偏转,是2DR型。为了避免测试时硅光电池输出电压过高,而将万用表指针反向打弯,测试时不要让太阳光直射在电池的受光面上,而只要让电池处在光亮处即可。
安装
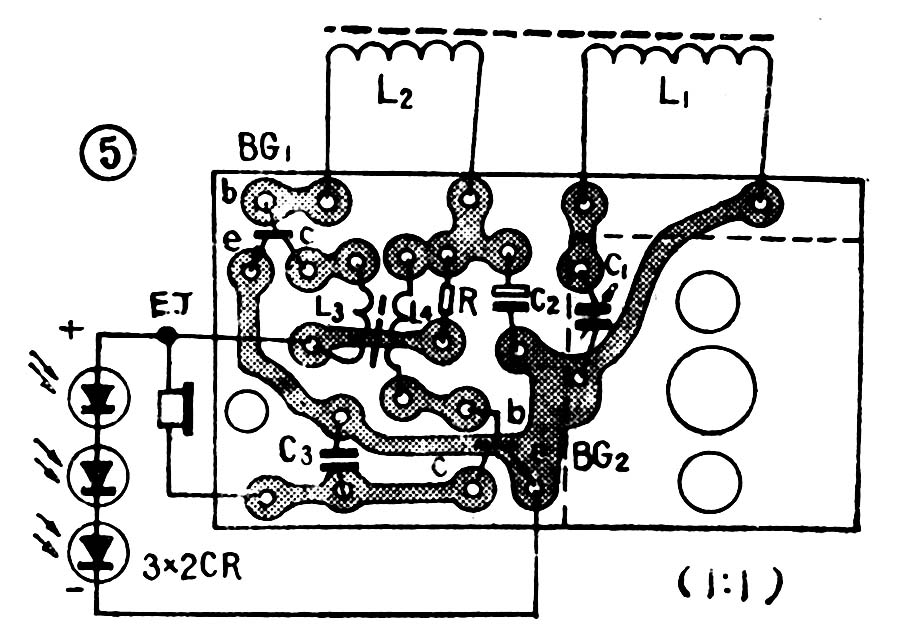
由于本机元件较少,可用导线直接按图2连接。如果采用印刷电路板可按图5仿制。

机盒可用薄木板自制,也可利用装有机玻璃钮扣的硬板纸小盒。在盒上用大头针开12个小孔,以便让硅光电池的四个引线插入,电池受光面朝上(见图6)。为保护电池受光面,应在硅光电池上复盖一块有机玻璃板,有机玻璃的透光性很好,不要用普通窗玻璃,因为无机玻璃会使光线有损耗。

使用
只要接线无误,当阳光照射在硅光电池片上,旋动可变电容器C\(_{1}\),在耳机里可以清晰听到电台播音声,不必作任何调试。一般来说,晴天利用室内的漫反射光线,不必太阳直射就能正常收听。(陈有卿)