场效应管的输入阻抗很高,但负载能力差;而一般晶体管负载能力比前者强,但输入阻抗比前者低。在高传真扩音机的前置级、收音机、录音机或其它一些电子线路中,常常需要一些输入阻抗高、负载能力又较强的器件。最近山东省济南市半导体元件实验所试制成功一种新型器件,名字叫“LE480高阻抗头”,不仅可满足上述要求,而且还具有其它一些优点。
高阻抗头的工作原理
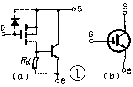
LE480高阻抗头的内部线路结构见图1a,图1b为该器件的符号。它由一个PMOS增强型场效应管和一个NPN晶体管直接耦合而成。该管有两种类型,一种如图1a所示带一个保护二极管,另一种不带。图中R\(_{d}\)是NPN管的偏置电阻,三个引出脚分别为发射极(e)、栅极(G)、源极(S)。

在使用中常如图2所示联成混合跟随器形式。射极e接地,源极S通过负载R\(_{S}\)接正电源EC,信号由栅极G直接耦合输入,输出信号由S极取出。因为PMOS管栅源电压V\(_{Gs}\)=VGe-V\(_{Se}\),而VGe=V\(_{i}\)。所以只要Vi的峰值电压能保证|V\(_{i}\)-VSe| >|V\(_{Tp}\)|,并且使Vi的峰值电位始终低于V\(_{Se}\),那么PMOS管就始终工作在饱和电流区,也就不必要另设输入偏置电路了。前面式子中的VTp为PMOS管的开启电压。

图2电路在工作时,输入信号V\(_{i}\)经PMOS管放大,在Rd上产生一个放大了的信号电压,这个电压又直接耦合到NPN管的基——射极之间,经NPN管放大,从S极取出输出信号。在放大过程中,R\(_{d}\)两端的信号电压与输入信号Vi反相,输出信号又与R\(_{d}\)上的电压反相,故输出信号Vo与输入信号V\(_{i}\)同相。另外;RS接在PMOS管的源极电路中,起负反馈作用,故该电路是一个电压深度负反馈放大器。输入阻抗极高而输出阻抗极低。只要R\(_{S}\)足够大,就可使其电压放大倍数接近于1。该厂生产的高阻抗头的几个特性参数见附表。管脚排列见图3,该管采用B1型全密封金属管壳封装。


典型应用线路
从以上分析可知,原则上凡是使用NPN管、结型或MOS型场效应管以及集成运放块构成跟随器的电路,均可用LE480高阻抗复合管代替。其明显的优点是不需要另设输入偏置元件,线路结构简单,阻抗变换系数大,负载能力强,工作电源电压范围宽(10~25伏内均可正常工作),不需调整,维修方便。下面给出几种典型应用线路。
1.高内阻信号源阻抗变换器:LE480高阻抗复合管构成的混合跟随器最适用于压电晶体振荡器及其他敏感元件等高内阻信号源,作为阻抗变换器用。其线路如图4。

2.作源极跟随前置级:这种电路形式应用很广泛,它可用于线性及脉冲放大电路中。具体电路见图5。

3.音频扩大器等响度控制电路:高阻抗头在这里可以代替集成运放块使用,使电路结构大为简化,但要求高阻抗复合管的电压传输系数K值应较大,否则会使音量衰减太多,具体线路见图6。


4.CMOS电路输出驱动级:当CMOS集成电路输出端需驱动较强的负载,如发光二极管或继电器等时,可配接高阻抗复合管。具体线路见图7。(刘庚乾)