本文介绍一种适合于业余制作的电子唱机,这种唱机的特点是不用电动机,不用较复杂的变速传动机构,不用交流电源,仅使用两节一号干电池(3伏电源电压)就行。因为整机平均工作电流仅有25毫安左右,所以两节电池可用很长时间。制作成本较低。
唱盘是怎样转起来的?


既然不需要电动机带动,那么唱盘怎样转起来呢?让我们用图1~图4示意图来说明。找一个普通电唱机的转盘(也可以自制),在转盘边缘的内圆上,如图1所示用高强度粘合剂均匀地粘结上数对永久磁铁,磁铁的极性如图1所示。(注:为了简化起见,本文图中只画出了永久磁铁一端的极性,另一端的极性没有画出来。)在转盘下面放置一个条形电磁铁,并把电磁铁固定在转盘下面的支板上,条形磁铁与转盘上的磁极应在同一水平面上。在电磁铁上绕有L\(_{1}\)、L2、L\(_{3}\)、L4四个线圈。当转盘处于图1位置时,磁极与电磁铁相互吸引,转盘处于静止状态,转不起来,这时线圈L\(_{1}\)、L2两端当然也就没有感应电压。当转盘在一个外力的推动下顺时针方向起动后,假如转到图2位置,这时线圈L\(_{2}\)两端将产生感应电压,电压的极性是D端为正(+),C端为负(-),此时晶体管BG4仍处于截止状态,线圈L\(_{4}\)中也就没有电流。线圈L1的感应电压极性是B端为正(+),A端为负(-),因此BG\(_{3}\)导通,线圈L3中有电流流通。电流通过L\(_{3}\)时,在电磁铁两端产生的电磁极性如图2所示,这个极性和转盘上磁块的极性相互作用,正好给转盘一个沿顺时针方向的旋转力,此时转盘开始沿顺时针方向转动;当转盘转到图3所示位置时,L1、L\(_{2}\)两端均无感应电压,晶体管BG3、BG\(_{4}\)均不导通,这时转盘凭借惯性力继续沿顺时针方向转动,这一点称为“死”点。转盘一旦转过这个“死’点,例如转到图4位置,L2的感应电压D端为负,C端为正,BG\(_{4}\)导通,L4中有电流流通,此时电磁铁两端产生的极性如图4,这个极性和转盘上磁块的极性相互作用,正好又给转盘沿顺时针方向旋转的一个旋转力,使转盘不停顿地运转。以后的过程读者就可以自行分析了。不难看出,这种电子唱机转盘的运转方向完全取决于起动推动力的方向。
唱机的转速如何保证?
电唱机的转速分33\(\frac{1}{3}\)、45、78等几档,一般唱机是通过一些较复杂的机械传动机构来完成的,那么本文的电子唱机如何实现呢?从对图2和图4的分析中可看出,BG\(_{3}\)、BG4集电极电流的强弱对电磁铁的磁性强弱有直接影响,电流越强,电磁铁的磁性越强,与永久磁块发生作用后对转盘的推力越大,转盘就转得越快。显然,只要严格控制BG\(_{3}\)、BG4集电极电流,就能把转盘控制在一个确定的转速上。

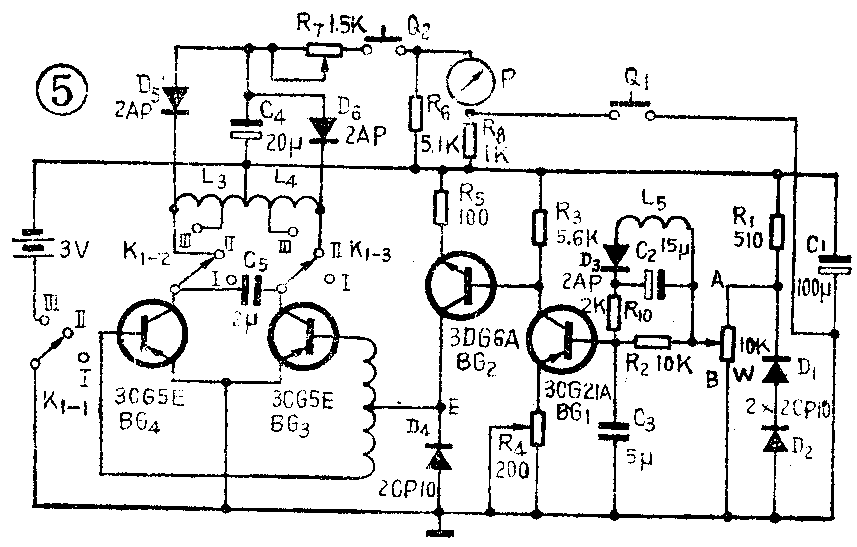
图5中,流过BG\(_{2}\)的集电极电流较小,大约仅有0.5毫安左右,此时二极管D4两端的压降为0.4伏左右,这个压降也就是BG\(_{3}\)、BG4的基极偏置电压。根据二极管的伏安特性可知,当流过二极管的电流较小时,二极管两端的管压降与电流均变化近似成线性关系。即电流增大时,管压降增大;电流减小时,管压降线性减小。因此控制流过D4的电流,就可控制D4的管压降。图中的W为转速调节电位器。当W的滑臂向A端滑动时,BG\(_{1}\)集电极电流增加,R3两端压降增加,BG\(_{2}\)集电极电流增加,二极管管压降增加,BG3、BG\(_{4}\)的偏置电压增大,当BG3或BG\(_{4}\)导通时,其集电极电流增大,如前面所述,将会导致转盘转速加快。反之,当W滑臂滑向B端时,通过上述电路控制,可使转速减慢。可见,细心调整W,就能得到一个需要的转速。设置D4的目的是可以钳制E点电位,使BG\(_{3}\)、BG4工作于乙类状态,以减小电源损耗。
怎样稳定转盘转速?
转盘在转动过程中,如果负载变化或受到其它一些因素影响,转盘转速可能发生变化,这就需要在电路中加入稳速电路。稳速元件由图5中的L\(_{5}\)、D3、C\(_{2}\)、R2、R\(_{1}\)0、C3组成。线圈L\(_{5}\)绕在稳速铁心上,稳速铁心如图6所示固定在转盘下面安装驱动铁心的固定支板上。我们知道,当电位器W调整好以后,转速也就确定在某一值上(设为33\(\frac{1}{3}\)转/分)。如果由于负载变化,使转速加快,则线圈L5两端的感应电压升高。这个电压经二极管D\(_{3}\)整流后加到BG1基极,使BG\(_{1}\)基极电位提高(负偏压减小),集电极电流下降,最终导致BG3、BG\(_{4}\)集电极电流下降,使转速下降到原来的标准转速上。反之,如因外力影响使转速下降,则L5两端电压下降,最终导致BG\(_{3}\)、BG4集电极电流升高,使转速上升。L\(_{5}\)两端的感应电压一般应在0.2伏以上,各晶体管的β值应大于60。

新颖的测速方法
一般电唱机的转速常用闪光测速卡测试,比较麻烦。本文的测速方法是用表头直接读数,既直观、又方便。
测速电路由图5中的D\(_{5}\)、D6、C\(_{4}\)、R6、R\(_{7}\)、R8、按钮开关Q\(_{2}\)及毫安表头组成。线圈L3、L\(_{4}\)两端的感应电压的数值与转盘转速成正比。因此通过测量线圈两端的交流电压,即可准确地测出唱机转速。R7是表头刻度校正电阻。在进行刻度校正时,应首先借助测速卡或其他测速仪器,通过调整电位器W。将唱盘调到标准转速(如33\(\frac{1}{3}\)转/分)。然后按下Q\(_{2}\)、调整R7,使表头指针指到标准刻度。这样,在以后使用时,只要按一下Q\(_{2}\),即可由表头直接读出唱盘转速。Q1为电源电压测量按钮,按下Q\(_{1}\),可从表头上直接读出电源电压数值。
波段开关K兼作电源开关和速度转换开关。开关K拨在位置“Ⅰ”时,电源切断;拨在位置“Ⅱ”时,是33\(\frac{1}{3}\)转/分;拨在位置“Ⅲ”时,唱机转速仍是331;3转/分,但此时可按下Q\(_{2}\),根据测速表头的指示数,通过调整W,很方便地将唱机转速调到45转/分。
电阻R\(_{4}\)、R5是为提高电路的工作稳定性而设置的。适当调整R\(_{4}\),可使负载变化时对唱机转速的影响最小。R5还可以起BG\(_{2}\)限流电阻的作用,可避免当由于意外原因使BG1的电流过大时,导致BG\(_{2}\)电流过大而烧毁。
本机在开机时应用手将转盘向顺时针方向推动一下,唱盘就能正常转动起来。我们在波段开关上设置了一个小凸键,使波段开关由“Ⅰ”档变到“Ⅱ”档时,小凸键能将转盘顺时针带动一下,转盘就能正常转动起来。注意不要反时针带动转盘,不然唱盘就会反时针旋转,就不能播放唱片了。(杨晓平 王荣栓)