不少用户反映盒式录音机使用一段时间之后放音音质变差,录音音轻失真。产生这种现象当然有各种因素,但主要因素应该说是录放磁头被磨损造成的。虽然从电路上想些办法也可克服上述现象,但这只是权宜之计,根本的解决办法是更换磁头。为了更换磁头之后不使整机性能下降,必须在更换磁头前对原磁头有所了解,才能有选购磁头的依据。
一、磁头的安装尺寸
图1是盒式机录放磁头的外形。主要有a、b、c、d四个尺寸。尺寸a是安装孔距。尺寸b是安装孔至磁头工作面的距离。尺寸b决定磁带与磁头之间的压力。新磁头这个尺寸如果比原来小,容易产生磁头与磁带接触不良,造成音轻、音飘、高音不足等现象。这个尺寸比原来的大,会使磁头与磁带压力过大,影响带速,加速磁带、磁头的磨损。尺寸c是从安装固定片平面至导带叉中心的距离。这个尺寸与原磁头不符时会发生抹音不净、串音,甚至损坏磁带。尺寸d是从固定孔至磁头工作面前沿中心线的垂直距离。它决定了磁头是否处在压带毡片的中心。不同偏磁方式的磁头尺寸往往相差较大,选购不当会给调试工作带来很大麻烦。因此尽量购买与原偏磁方式相同的磁头。

二、磁头电气参数
磁头主要参数是阻抗、放音灵敏度、录音灵敏度、频响、失真等。测定磁头参数要用专用仪表,而且测得的结果与磁头磨损情况有关。磨损越励害,测出的数值与新磁头相比误差就越大。业余条件下不用仪表测量,可根据线路的有关元件数值,通过简单估算,粗略估计出磁头参数。
1.估算直流电阻R\(_{D}\) 通常磁头线圈是用线径φ0.03~φ0.06毫米高强度漆包线绕成的。由于各厂家选用铁芯材料、线径不同,很难从直流电阻准确估计其交流参数。业余条件下可参考附表的统计数字进行估计。例如一个单声道磁头。用万用表测得直流电阻为100欧。从表中可见这是一个中阻磁头,其电感量约100毫亨,1000赫兹时交流阻抗约800欧左右,放音灵敏度约300微伏,录音灵敏度约100微安左右。(注:立体声磁头中有两个线圈,表中是一个线圈的数值。)

2.估算交流阻抗Z\(_{L}\) 磁头的交流阻抗与频率有关,一般是在1000赫兹,通过0.1毫安时测得的。交流阻抗一定,录音灵敏度、放音灵敏度等指标基本就一定了。故交流阻抗是一个重要参数。通常中低档录音机为了改善高音效果,都在磁头两端并联一只电容,如图2的C5。C\(_{5}\)的作用是在一定频率下与磁头线圈串联谐振。谐振频率f0时,线圈感抗为Z=2πf\(_{0}\)L=1/2πf0C;C是补偿电容的容量。一般三级盒式机的f\(_{0}\)为7~10千赫;二级盒式机f0为9~14千赫。如果C已知,就能根据上式求出磁头阻抗。图2是春雷3L1录音机的放音有关电路,补偿频率f\(_{0}\)为8千赫,补偿电容C5为4700微微法。所以L=1/(2πf\(_{0}\))\(^{2}\)×C=1/(2×3.14×8×103)\(^{2}\)×4700×10-12≈84毫亨;ZL=2πfL=2×3.14×1000×84×10\(^{-}\)3≈500欧(注意此时f为1000赫)再根据附表查得放音灵敏度为250微伏,录音灵敏度为125微安。由于阻抗多数出厂时就有较大参差(±20%),所以按上式求得的阻抗值对业余爱好者来说已足够准确了。

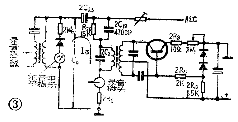
3.通过录音音流估算磁头交流参数 有的机器磁头上没有加补偿电容,此时可以通过已知元件的数值估算磁头的交流参数。具体方法是:首先找到录音磁头的限流电阻,再用万用表交流档(最好2.5伏档)测出录音放大器输出电压U\(_{0}\)(如图3),则录音音流为I录=U\(_{0}\)/R。现以春雷3PL3为例求算。用1000赫音频信号录音,使录音电平为0dB。测出U0为2伏。电路中磁头限流电阻R\(_{26}\)为15千欧。则录音音流I录=U\(_{0}\)/R=2/15×10\(^{3}\)≈130微安。在交流偏磁录音交流抹音情况下,磁头录音灵敏度为I灵≈1.5I\(_{录}\)。对于3PL3机器(直流偏磁)可近似认为I灵≈0.7~0.8I\(_{录}\)。因此3PL3机的录音灵敏度I灵≈90~105微安左右。这样从附表中可查出磁头的电感量为L≈80毫亨,阻抗Z\(_{L}\)≈500欧,放音灵敏度为250微伏。以上虽然是以3PL3为例,但对于其他机器也可用这种方法估算。有的机器录音电路按图4连线。C1和L是阻止超音频偏磁电流通过的,对音频相当于短路。C\(_{2}\)、C3都是补偿电容,于是I\(_{录}\)=U0/(R\(_{1}\)+ R2)然后再查附表找出其他参数。


三 实例
通过以上几种方法简单估算出原机磁头的性能,再根据新磁头的参数,将录音电路的有关元件作一些相应的改动,就可以达到更换磁头之后保持原机录放效果。下面举两个实际例子。
例一:新购一个国产合金录放磁头,调换春雷3L1机被磨损的录放磁头。两磁头安装尺寸一样。由产品说明书中得知新购磁头阻抗为900欧,放音灵敏度为400微伏,录音灵敏度为50微安。3L1机原磁头的参数按前述方法算出阻抗为500欧,查附表得到放音灵敏度大于250微伏,录音灵敏度小于125微安。新购磁头以原磁头阻抗高,为了更换磁头之后整机录放性能保持不变,应该作以下几件事:1.为使放音的高音补偿点不变,图2中C\(_{5}\)的容量应改为C5新=Z\(_{L原}\)×C5原Z\(_{L新}\)=500×4700×10\(^{-12}\);900≈2600微微法。2.为了使录音时录音音流不超过额定值,应该改变恒流电阻(如图5中的R28)。
R\(_{新}\)=R原×I\(_{灵原}\)I灵新=20×1000×95×10\(^{-6}\);50×10-6≈38千欧。
式中I\(_{灵原}\)为原磁头录音灵敏度,I灵新为新磁头录音灵敏度。3.改变了恒流电阻,录音高频补偿电容C\(_{25}\)(图5)也要相应改动。
C\(_{25新}\)=R28原×C\(_{25原}\)R28新=20×1000×4700×10\(^{-12}\);36×1000≈2600微微法。



例二:新购国产铁氧体录放磁头一只,代换春雷3L1机被磨损录放磁头。新磁头阻抗为500欧,放音灵敏度500微伏,录音灵敏度60微安。新旧磁头阻抗一致,放音部分高音补偿频率基本一致。但原磁头是坡莫合金磁头,新磁头是铁氧体磁头。后者工作在高频段(6~20千赫)时的损耗小,其Q值比合金磁头高10倍左右。由于原机放大器是为原磁头设计的,输入阻抗较高(大于50千欧),如直接代换就会补偿量过高(参阅图6曲线B),出现高音刺耳以至自激。解决的方法是在C\(_{5}\)上串接一只阻尼电阻(如图7)。调整此电阻,使高音清晰不刺耳。此时的放音曲线如图6中的A。此外,在1000赫兹时虽然新旧磁头都是500欧阻抗,但在较高频率时(如10千赫)铁氧体磁头由于材料损耗小,阻抗要比合金磁头高。因此必须减小C5(图7)容量,可取合金磁头的0.9左右。我们可以利用铁氧体磁头的高Q特性,使放音频响展宽到12千赫,方法是补偿电容减小到1500微微法。(李传钟)