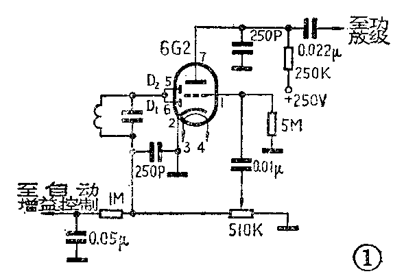
普通的电子管超外差收音机中,检波电路和低频电压放大电路一般都由一只复合电子管担任。图1是采用一只双二极——三极复合电子管6G2的检波、电压放大电路。6G2的两个小屏并联,接入中频变压器输出级的次级回路作检波用;三极管部分用作低频电压放大电路。图2是采用6G2电子管的具有延迟式自动增益控制的检波、电压放大电路。其中双二极管部分的一个小屏D\(_{1}\)用作检波,另一个小屏D2用作自动增益控制。图3是采用一只双二极——五极复合电子管6B8P的检波、电压放大电路。其中双二极管部分作检波用;五极管部分作低频电压放大。这类电子管在老式收音机中常用。图4,采用一只双三极管6N2。半边三极管部分接成二极管形式作检波用;另半边三极管部分则用于低频电压放大。近年来生产的收音机多采用这种电子管。由于结构上的限制,半边三级管部分接成二极管用,只有一个小屏,因此这种管子不能应用在延迟式自动增益控制的电路中。常用的电路就是上述四种。




检波、电压放大电路中可以代换的电子管很多,下面举几个例来说明代换的方法,读者通过这些例子可以举一反三。
一、双二极——三极复合管本身的相互代换:
1.苏式管6Г2П-K和国产管6G2在结构上、电气性能上和管脚的接法上都是完全相同的,可以直接代换。代换时,只要把电子管直接插入原管座即可。
2.美式管6AV6和国产管6G2的相互代换:6AV6接线见图5。它们都是小七脚管,管脚的接法也相同,6AV6可以直接插入原来6G2的管座中使用。从图中知6AV6的栅极电阻用500千欧,6G2用5兆欧,代换时,栅极电阻应予更换,当然,不更换栅极电阻也是可以正常工作的。另外,对于没有延迟式自动增益控制的电路(如图1),不需要延迟电压,6AV6的阴极电阻2.7千欧可以不用,直接将阴极接地。对于有延迟式自动增益控制的电路(如图2),就需要加接阴极电阻了。这两种管子的三极管部分的μ值相同,代换后,电压放大级的增益不会有变化。

3.6AQ7和6G2的相互代换:6AQ7接线见图6,是大八脚管,而6G2是小七脚管,代换时需要更换管座,并按图6焊接管脚。由于两者的栅极电阻不同,6AQ7为1兆欧,6G2为5兆欧,代换时可以更换栅极电阻,也可以不必更换。电路的其它部分不变,阴极电阻是否加接仍然视原电路有无延迟式自动增益控制电路而定。由于6AQ7的三极管部分的μ值(70)比6G2(μ=100)低一些,因此用6AQ7代换6G2后,电压放大级的增益可能有所下降,但下降不会太大,若原电路中有负反馈,则增益变化就更小了。

二、二极——五极复合电子管本身的相互代换:
1.6B8、6H8G与6B8P(6Б8C)的管型、管座和管脚接法完全一样,电路元件参数也十分相近。三者相互代换时,不必更换元件,只要将代用的电子管直接插入原管座即可。
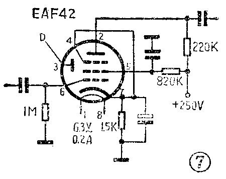
2.EAF42和上述三种电子管相比,管脚接法不同,电路参数也不尽相同。代换时,管脚接线应按图7的接线图重新焊接,帘栅极电阻也应更换(6B8P、6B8、6H8G为1兆欧~1.2兆欧,EAF42为820千欧)。屏极电阻相差不大可以不必更换。另外,EAF42只有一个小屏,不能用在延迟式自动增益控制的电路中。7E7是自锁式电子管,代换时,管座需要更换。接线和电路元件参数可参考有关手册。

三、双二极——三极复合电子管和双二极——五极复合电子管之间的相互代换:
双二极——五极复合电子管中,五极管部分有帘栅极,需要加上一定的帘栅极电压。因此,用双二极——五极复合管代换原收音机的双二极——三极复合管时,除了要考虑管座、接线等外,还需要增加一个供给帘栅极电压的电路,即需要加接一个帘栅极电阻和旁路电容。举一例说明之。例如,用双二极——五极复合管6B8P代换双二极——三极复合管6G2时,需要做如下几件工作:第一,更换管座,6B8P是大八脚管座,而6G2用小七脚管座。第二,管脚的接线应重新焊接,元件参数也应进行调整(参照图1,图3)。对于无延迟式自动增益控制的电路,阴极电阻可以不用而将阴极直接接地。第三,6B8P的五极管部分需要帘栅极有关电路,因此还要加接一只帘栅极电阻1.2兆欧和旁路电容0.05微法,并将帘栅极电阻的一端接到+250伏上去,以供给6B8P的帘栅压。
反之,用6G2去代换6B8P时,除更换管座,重新接线和更换元件外,还应将原来6B8P的帘栅极电阻、旁路电容等折除,因6G2没有帘栅极。
四、双三极管本身的相互代换:
目前我国生产的电子管收音机都用双三极复合电子管6N2(小九脚管,μ=98)。
1.苏式管6H2П和国产管6N2完全相同,可以直接代换,不需要变更任何元件,直接将代用管插入原管座即可。
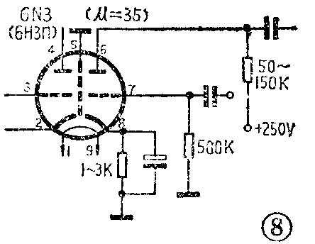
2.国产管6N1、苏式管6H1П,6H4П、美式管6AQ8(ECC85)等都可以方便地和6N2互换。它们都是小九脚管,电路接法也一样,代换时不必变更任何元件,可直接插入原管座代用。6N3和苏式管6H3П也是小九脚管,但管脚接法和上述的双三极管不同,代换时须把管脚接线按图8接线重新连接。用6N1、6H1П、6H4П、6N3、6H3П代换6N2、6H2П时,屏极电阻最好比6N2小一点。

五、双二极——三极(或五极)复合管和双三极管之间的互换:
用双三极管代换双二极——三极(或五极)复合管时,可将双三极管的半边三极管部分按图4的方式接二极管使用,代替双二极管部分(但需注意:由于双三极管作检波的半边管子只有一个小屏,所以不能用于延迟式自动增益控制电路)。下面举例说明代换方法;例如,用双三极管6N2代换双二极——三极复合管6G2。6G2是小七脚管,6N2是小九脚管,代换时需更换管座,管座的接法参照图4,6N2的半个三极管部分(例如第1、2、3脚)按图4的方式连接,以代替6G2的第2、5、6脚。6N2的第9脚应接地。栅漏电阻6G2一般用3~10兆欧,6N2一般用510千欧左右,需要更换。6N2还应接有阴极电阻和电容,详见图4。这两种管子的μ值相近,代换后对收音机的增益无任何影响。(唐远炎)