这里向大家介绍一种延时电子门铃,它的特点是用手按一下按钮后,电铃立即发声,在手松开按钮后,电铃的发声仍可延续一段时间,然后自动停止。此电铃的整机工作电流小于100毫安,用3~4节一号电池可工作半年以上。
工作原理
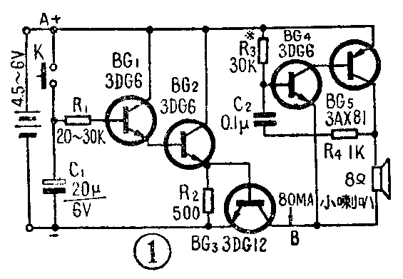
图1是延时电子门铃的电路。整机由两部分组成。BG\(_{1}\)、BG2、BG\(_{3}\)组成电子延时开关,BG4、BG\(_{5}\)组成音频振荡器。当按下K时,电源电压直接接到电容C1两端,电容C\(_{1}\)被充满电,与此同时,电源通过开关K,电阻R1给BG\(_{1}\)提供偏流,BG1、BG\(_{2}\)组成复合电流放大管,于是BG1、BG\(_{2}\)导通。BG2导通后,给BG\(_{3}\)提供正向偏置,使BG3导通,接通振荡部分的电源,使之开始工作。在松开按钮K后,电容C\(_{1}\)通过R1放电,维持BG\(_{1}\)、BG2、BG\(_{3}\)导通,使振荡部分继续工作。

电容C\(_{1}\)不断放电的结果,其两端电压逐渐下降,从而BG1、BG\(_{2}\)电流随之减小,导致BG3电流减小,振荡器发出声音由大到小,经一段时间后,电容电压降到一定程度,电路便停止工作。增大或减小R\(_{1}\)C1乘积可加长或缩短松开按钮后电铃发声的延续时间。
BG\(_{4}\)、BG5构成直接耦合放大,BG\(_{5}\)输出端的信号经R4、C\(_{2}\)正反馈到BG4的基极上,激起振荡。改变R\(_{3}\)阻值或G2容量可改变振荡频率。
元件的选择
晶体管尽量选用穿透电流较小的管子,放大倍数β>20就可以用,电阻用\(\frac{1}{8}\)瓦碳膜电阻,电容用涤沦的或者其它电容器都可以,喇叭用两英寸或两英寸半的。
全部零件安装在一块40×50平方毫米的印刷线路板上。
调试
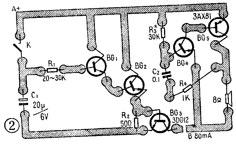
调试工作可分两部分进行。先调音频振荡部分。把电路从B处断开,把电源直接接到A、B两端(见图2),A接正极,B接负极,把电流表串接到B点,调整电阻R\(_{3}\),使电流在80毫安左右,这时振荡电路开始工作。接着把电源接到原处,电流表跨接到B缺口两端,按下按钮开关K,观察电流大小(基本等于振荡电流)。然后调节延时时间,延时的长短由C1容量决定,一般C\(_{1}\)选20μF左右。把B缺口连接好,电路全部调整完毕。将喇叭、电池、印刷线路板装入收音机盒内(其他盒也行),用两根引线把装在门框上的电铃按钮开关与电路相连。整机外形图见图3。


由于电路中BG\(_{3}\)采用NPN型硅三极管,故穿透电流很小,所以平时几乎不耗电。(卢坚)