问:有一台电视机,开机工作一段时间后,图象偏向右边,左边出现黑边,随即图象破坏,无法收看。在热天尤为严重,为什么?
答:这种故障主要是由于行振荡器的热稳定性不良所造成的。由于行振荡管的热稳定性差,使振荡器的工作点随机内温升而变化,影响其自振频率,最后漂离标准频率太远而造成行不同步。这种故障在夏天自然更为严重。在一般情况下,调整行振荡器的工作点和改变影响行振荡电路中与振荡频率有关的电容就可以解决。另外,还可以检查一下AFC电路中的电解电容,看看是否在工作一段时间后漏电增多,如是则需更换之。
比较彻底的办法是更换行振荡管,注意选用I\(_{ceo}\)小,β值在60~80的三极管。(张钮)
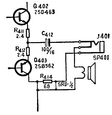
问:我买了一台日立牌P—26D型黑白电视机,总觉得音质不够理想,不知是什么原因?我想外接口径较大的扬声器来改善音质不知是否可以?怎么接法?
答:决定一台电视机音质的好坏除了低放电路的设计外,主要还决定于扬声器和机箱,采用较大口径扬声器和木质机箱的音质就要好些,反之就要差些。由于日立牌P—26D型电视机采用的是小口径扬声器(内磁式、直径为3英寸、内阻为25Ω、标称功率为1.5W)和薄塑料机壳,因此音质就不大好。
为了取得较好的音质,可以外接口径较大的扬声器并配上小型助音箱,音质就能改善很多。日立牌P—26D型电视机的音频额是输出功率为0.8W,最大输出功率约为1.5W。因此外接扬声器的口径不宜过大,以5英寸、6\(\frac{1}{2}\)英寸的为好,扬声器的阻抗最好选用25Ω的,如果没有阻抗为25Ω的扬声器时,选用的扬声器最低阻抗也不能小于16Ω。因为虽然扬声器的阻抗降低能使输出功率增加,但也会使功放管的集电极损耗增大。当扬声器的阻抗过小时就会使功放管的集电极损耗功率增大很多以至损坏。
外接扬声器时应将机内扬声器的接线焊去再把外接扬声器引线焊上。也可以将机内耳机插座线改接,改接方法如图,用一根导线按虚线处连接就可,这样不必焊去原机内扬声器接线,当使用外接扬声器时用插头直接从耳机插孔处插入,机内扬声器即停止放音。但改接耳机插座线路后,应避免使用耳机收听,以免损坏耳机。(花维国)

问:一台罗马尼亚产的E31—110°—720S型电视机,收看时,图象如风刮一样扭动,这是什么原因?如何消除?
答:这种故障是由于稳压电源系统元件损坏引起的行扭。最常见的是整流桥损坏。此时可测量3.15A保险管的端电压,如果整流桥输出的直流电压低于15伏(或去掉3.15A保险管后电压低于13伏),即可断定是整流桥3PM0.5损坏。换上好的整流桥就能消除故障,如无原型号整流桥,可用匈牙利产的B40或国产的QS23A、QL3AO代用;也可用四只额定正向电流大于1.5A的整流二极管代替。
如果3.15A保险管的端电压值正常,故障产生在稳压电源部分。检验时,在测+A(10.8伏)点电压的同时调节R\(_{4}\)06偏流电阻,如调节时电压无明显变化,说明稳压部分发生故障,可进一步检查稳压部分晶体管有无极间击穿或断极(其中取样管BC170较易损坏)。(汪锡明)
问:我有一台青松12D2型电视机,其分离电路中的3BG\(_{1}\)管坏了,一时买不到同类型的管子,可否用其它管子代替?
答:3BG\(_{1}\)采用的是β值在100左右,穿透电流Iceo<70μA的锗管3AK20。在没有这种管子的情况下可用3CG21硅管来代替,但要将原电路中的偏流电阻3R\(_{4}\)(1MΩ)换成600KΩ左右的电阻,并仔细调整3CG21的工作点,使之与原电路设计相符。(尤文质)
问:为什么有些国产收音录音两用机,例如红灯牌2YZ1000型、春雷牌3PL3型和梅花牌M-104型等均设有消拍避叫开关,而某些进口收录机,例如日本的SANYOM-2405H型、M2564H型等均不具有这种开关?
答:当使用交流偏磁式录音机录制收音机的节目时,录音机里偏磁振荡的谐波有时会干扰中波电台,产生所谓拍音干扰。这种现象在收音录音两用机里更易出现,因为收录机收音部分的磁性天线与录音交流偏磁振荡器同在一个机壳里,辐射耦合严重。国产盒式收录机大都采用交流偏磁,为解决上述拍音干扰问题,专门设置了一个消拍避叫开关,遇有拍音干扰时,只须拨动这只开关,稍微变动一下交流偏磁振荡的频率,即可消除拍音啸叫干扰。而进口的日本盒式收录两用机则与国产收录机不同,一般均采用直流偏磁式录音,所以不存在拍音干扰的问题,因此就不必设置消拍避叫开关了。(吴大伟)
问:雷雨天收音机中杂声很大,装上避雷器是否可以解决?
答:收音机的杂音有机内产生的,也有外部进来的。雷雨天收音机中的杂音属于外界干扰杂声,是雷电以电磁波形式传入了收音机。收音机接室外天线时必须加装避雷器,其作用是保护收音机或人免遭雷击。避雷器既不能影响有用信号的接收,也不能防止雷电以电磁波形式进入收音机。因此避雷器不能解决雷电干扰。消除雷电干扰只能通过提高收音机本身的抗干扰能力来解决,例如设法提高选择性、中频波道衰减,像频波道衰减等,但做起来比较困难。在雷雨天打雷时如无必要最好不收听。(林伟武)
问:35SX3B与35SX2B有啥区别?使用中应注意哪些问题?
答:35SX3B是成都红光电子管厂的新型14英寸显象管的型号,它与原35SX2B型14英寸显象管相比,不需要外加离子阱磁铁。除掉此磁铁外,其它均可直接代换35SX2B。代换后,应注意重新调整聚焦电压。
问:原竖直安放的倒相式喇叭箱改为横置安放,对音质有否影响?
答:这要看喇叭箱本身的放音频响和在房间内的安放位置而定。如果箱内除低音大口径喇叭外,还装有小口径高音喇叭,则应首先根据高音喇叭声波辐射轴线在房间内的高度而决定喇叭箱的放置方式与位置。因为高音频声波的传播角度小(术语中称指向特性窄),传播衰减快,可比喻为一束手电筒灯光,光束窄。所以安放时,应以高音喇叭轴线最接近聆听时人耳高度为原则,结合安放位置决定喇叭箱的横竖。一般高音喇叭多装于音箱上部,故放置地面上的喇叭箱也多为竖直安放。如果箱内仅用低音喇叭,箱子的放置方式与位置应以利于加强低音且又避免房间共振为原则。一般说来,墙角、墙面、地面像喇叭前边的大号筒,有利于加强低音,但也不宜使喇叭过偏地靠近那一面。同时,兼顾喇叭放音频率成分中的中音频声波指向特性,多避免使喇叭离地面太近,横箱落地式多装有高脚或用牢固的物体垫高。有些房间重放低音时,会引起房间共振,出现“隆!隆!”声而损坏放音音质,可将喇叭箱横放或竖放,离墙壁近一点或远一点,试验选择,可避免共振。(上官沁)
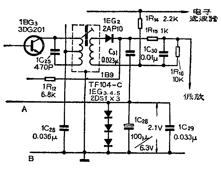
问:我有一台春雷3PL3收录两用机,最近收音时突然信号收不到了,过一会又恢复正常。自录收音机的节目效果也不好,不知毛病在哪里?
答:这种故障多半由于收音机直流工作点不正常引起的。通常有以下三种可能。1、稳压管1EG\(_{3、4、5}\)(2DSI)里其中有1只损坏(内部开路),使得变频管1BG1工作点饱和。此时测量AB两点电压大于3伏 (正常时应为2.1伏,见图)。用万用表R×100欧档测三只管总正向电阻应为1千欧左右。如阻值太大,肯定三只管中有坏的。2、1BG\(_{5}\)电子滤波器3DG201管损坏,不能正常向收音部分供电。3、中短波垫整电容1C9(300PF)、1C8(2200PF)质量不良(内部接触不良)。(李传钟)

问:我有一些无型号的稳压管,因无专用仪表测试,怎样知道它的稳压值?
答:只要有一只MF—50型万用表就可测试。用万用表的R×10K档测量。红表笔接稳压管正极,黑表笔接稳压管负极,读表针指示时看LVO~1.5V档。因为万用表内的电池在10K档是15伏,所以整个量程是15V。例如如果在0~1.5V量程上读得是0.75V,那么稳压值就是7.5V。用这种办法测得的稳压值与用JT-1晶体管特性图示仪测得的数值基本相符,误差大约仅有0.5V。(尹金荣、王永顺)
问:“爱卡”(ELCAP)六功能电子手表原来工作正常,更换电池后只能作时、分、周显示,不能作时、分、秒显示,怎样调整?
答:“爱卡”六功能电子手表有三种显示方式:时、分、秒;时、分、日;时、分、周。调校时需按住S\(_{2}\)不放然后按S1脚可作以上三种显示方式的选择。更换电池后基本显示为时、分、周,要作时、分、秒显示需按上面方法调校。“爱卡”表的其余调校方法可参见本刊今年第三期介绍的电子手表调校方法。
问:“爱卡”六功能电子手表有三种显示方式,这三种方式哪一种省电?
答:一般电子手表在液晶屏显示的数字笔划少时耗电略少,“爱卡”表的三种显示方式笔划差不多,因此耗电差别甚微。
问:我的电子手表液晶显示屏上的数字垂直看上去很清楚,如果视线与液显屏成一定角度看上去数字就隐隐约约不清楚,怎样修复?
答:液晶显示器有一定的视角范围,一般为45°,当视线与显示屏所成的角度较小时就不易看清,这是液晶显示器的特性所决定,不是故障。(李耀祖)