我们常用的涡轮流量计和井下连续流量计,其磁电转换器用的是线圈或微型差动变压器,结构比较复杂,对小流量的测量较困难。我们改用了磁敏二极管,简化了结构,最小流量可测到0.5立方米/日,涡轮转速1周/秒~450周/秒范围内都可使用。
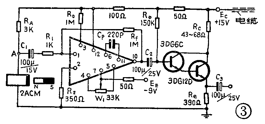
磁敏二极管用环氧树脂封装在导流头内,见图1,由导磁体(用电工纯铁制作)同涡轮上的针形磁铁构成磁回路。图2是地面上近距离测量用的电路。磁敏二极管装在导流头上固定不动,当装在涡轮上的磁铁随涡轮旋转到一定位置时,磁敏二极管输出一个脉冲信号。信号经运算放大器8FC-3放大后送到频率计E312计数。图3电路中输出端增加了一级复合跟随器,是为在井下3000米深处使用的,因为信号从井下传到井上是用单芯电缆传输的,电缆既有直流阻抗,又有容抗,信号经长距离传送衰减严重,信号幅度甚至小于感应到电缆上的干扰信号,增加一级复合跟随器可以增加输出功率,使流量信号从电缆送到地面时,信号幅度大于干扰幅度。流量信号送到地面后,再经放大、整形,滤掉干扰信号,然后用频率计计数,电路示意图见图4。


磁敏二极管在使用时要加12伏直流电源,这对使用单芯电缆的井下流量计增加了一点困难。图3电路中设置了电容C\(_{2}\)、C3,对井下放大器起到隔直流的作用,而流量信号却可以通过C\(_{2}\)、C3送到地面放大、整形、计数。这样就可以只用一根电缆芯线由地面向井下仪器供直流电并将井下的流量信号传输到地面上来。


制作中注意事项:
1.导磁体与磁敏二极管要接触良好,不留气隙。导磁体与针状磁铁之间的气隙在1~2毫米之间,气隙太大信号幅度就减小。
2.镶入涡轮的二根针状磁铁,磁极应同极向上,见图1。
3.图3中设置的电压R\(_{C}\),虽然损失了一些信号的输出幅度,但在输出短路时可以保护复合跟随级免被烧坏,数值在43Ω至68Ω范围内选用。
4.电容C\(_{1}\)必须设置,因为A点的直流电位是5.5V,如不用C1隔离直流电压,运算放大器8FC3中的保护管就会导通,使8FC-3不工作。
5. 频率计也可以用其它型号的通用频率计。磁敏二极管2ACM是哈尔滨通江晶体管厂产品,2ACM的特性请参阅本刊1976年第7期。(克拉玛依油田工艺研究所 宋金城)