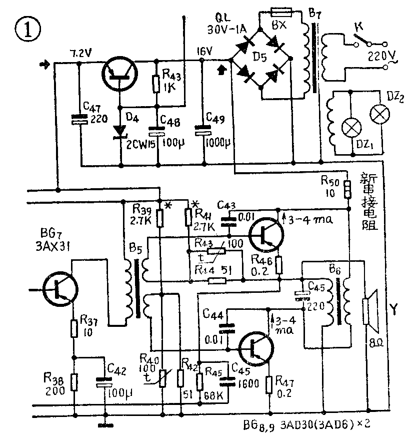
一、红灯牌784半导体交流台式收音机、2L145半导体交流台式收录两用机供电电路和低放电路相同。由于低放电路设计得频响较宽,所以低音很丰富。但该机供电部分的滤波装置简单,显得交流声大了些,影响了收听效果。图1是该机的低放和整流电路。在功放级的供电电路里串接一只电阻R\(_{5}\)0,使R50与C\(_{49}\)组成RC滤波网络,就能大大降低交流声。由于新加的电阻R50只有10欧(2瓦),故使功放级供电电压不会明显下降,输出功率不会受到影响。

这两种机器还存在另外一种毛病,就是音量开小时出现阻塞现象。这是由于推挽级工作电流过小引起的。该机推挽级的正常电流为3~4毫安。但由于环境温度的变化或两只推挽管参数不一致,常会引起工作电流偏低。只要适当改变R\(_{39}\),R41的阻值,使推挽级的工作电流达到3~4毫安即可克服阻塞现象。(邹全璋)
二、红灯2J8晶体管超外差式收音机经过长期使用后会出现杂音显著增加的毛病。主要原因是变频管3AG1穿透电流I\(_{cbo}\)增大引起的。我试用3DG6代替3AG1,只将原电路略加改动就可获得成功。由于3DG6比3AG1的Icbo小100倍以上,特征频率高5倍以上。所以改后提高了变频增益,减小了杂音,收音效果明显改善。

修理方法可参考图2。1.将3DG6按照原3AG1的e、b、c位置焊在电路板上。2.在A点从X处断开。使第一中周中间抽头通过200欧电阻接地。将发射极电阻R\(_{4}\)下端与地断开,用导线连接在A点上(如虚线)。3.将基极电阻R2改用24千欧,R\(_{3}\)改为8.2千欧,此时3DG6的静态电流Ic=0.4~0.6毫安。4.将二次自动增益控制二极管2CP11烫下来改焊在B、C两点,注意极性不可接错。将原来的R\(_{6}\)烫下来,并按虚线用导线短接起来。这样D点有负0.1伏电位,使得第一级中放3AG72在强信号时不会阻塞。(贺立晨)