问:在检修电视机时,常遇到转动亮度、对比度旋钮时,图象大小也跟着有明显变化的现象,而且当亮度、对比度旋钮开得很大时,图象反而变暗,甚至出现负象,这是为什么?
答:这些现象都是显象管老化的反映。随着显象管的老化,亮度和调制灵敏度都逐渐降低,为了维持足够的观看亮度,只有将亮度和对比度旋钮开大。这时,显象管的电子束电流会随之增大,造成显象管的高压降低,使电子束偏转灵敏度增加,图象尺寸加大,就出现了图象尺寸随着亮度和对比度旋钮的开大有明显加大的现象。这时虽然开大了亮度旋钮,但由于高压降低,亮度并不能增加。
此外,由于开大亮度就降低了显象管的控制栅偏压,而开大对比度又增大了电视图象,两种因素加在一起会造成图象信号中的白电平超过控制栅负偏压,瞬时达到正值而产生栅流。栅流的方向如图所示,它经过控制栅极的有关电阻时,在控制栅上造成附加的负电压,使图象中本来应该发亮的部位变暗,这就是出现负象的原因。 (张未)

问:为了消除电视机关机后的亮点,一些资料对如何关机有不同的说法:①把亮度开关置于最亮位置;②把亮度开关置于最暗位置;③亮度开关在任意位置。究竟哪种说法正确?为什么?
答:将电视机亮度开关置于什么位置再关机以消除亮点,主要取决于电视机是否采用亮点消除电路和采用哪一种亮点消除电路。我们都知道,电视机之所以关机后会产生亮点是因为关机后行、场扫描立刻停止,而显像管的阴极本身有热惰性,在短时间里继续发射电子,而显象管的石墨层高压滤波电容因没有外接放电回路仍保留一部分高压,因此热惰性电子束继续轰击荧光屏,由于偏转磁场不存在了,电子束打在荧光屏正中形成一个亮点。这样时间长了容易使荧光屏受损。
没有亮点消除电路的电视机在关机时应将亮度开关置于最亮位置,这样在关机时大量电子射向屏幕激发荧光粉产生二次电子发射中和了石墨层高压滤波电容器上的正电荷,使高压很快消失,从而消除了亮点的出现。我国早期生产的一些电视机没有亮点消除电路,因此关机时应采用开大亮度的这种方法。
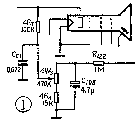
图1是凯歌407电视机的亮点消除电路,该机在亮度调节电路中接入了时间常数较大的RC电路R\(_{122}\)和C108。关机后C\(_{1}\)08上的电压不会立即消失,使显象管阴极上仍保持一个正电位,从而使电子不能发射出去,由于RC电路的时间常数足够长,此过程可以持续到阴极冷却停止大量发射电子为止,从而避免了亮点。但是这种电路亮点消除的效果与亮度开关的位置有关。从电路图中可以看出,当亮度开关置于最暗位置时,C108上的电压基本上都加到阴极上,亮点消除的效果就好。当亮度开关置于最亮位置时,C\(_{1}\)08上的电压不能全部加到阴极上,而被降压和旁路去一部分,这样亮点消除的效果就不大好,常常会造成关机后有残留亮点。目前采用这种亮点消除电路的电视机比较多,因此关机时最好将亮度开关置于最暗位置,以取得较好的消除亮点效果。

图2是另一种亮点消除电路,与图1所不同的是在阴极供电分压电阻4R\(_{4}\)与地之间增加了一个开关4K2-2,这个开关与电源开关同轴,当关机时切断了4R\(_{4}\)与地的连接,这样C108上的电压全部加到了阴极上而与亮度开关的位置无关。C\(_{1}\)08的放电时间常数也大大增长,亮点消除的效果就更好。因此采用这种亮点消除电路的电视机在关机时亮度开关可以置于任意位置。(花维国)

问:匈牙利生产的TC-1610型电视机电源调整管ASZ1016的e、c极击穿,可用什么型号的国产管替换?
答:调整管ASZ1016是PNP型锗大功率管,可用国产的3DA30C直接代替。也可以用NPN型大功率硅管(如3DD15、3DD12等)与PNP型小功率锗管(如3AX21~24、3AX31等)组合来代替。两管的组合如图所示,其中BG\(_{1}\)为小功率锗管,BG2为大功率硅管,组合后相当于一只PNP型大功率管。由于BG\(_{2}\)的集电极已成为PNP型大功率管的发射极、BG2的发射极为PNP型管的集电极,所以在代换时要注意将接原调整管e极的引线接到BG\(_{2}\)的C极上,接原调整管C极的引线接到BG2的e极,接原调整管基极的引线接到BG\(_{1}\)的基极上。(汪锡明)

问:盒式录音机在录音时为什么要加偏磁电流?直流偏磁与交流偏磁哪种方式的录音效果较好?
答:在磁性录音过程中,为使输入信号工作于磁带磁化曲线的线性段而在录音磁头中所处加的偏置电流,称为偏磁电流。由此决定了磁带录音时的工作点。这种偏置方法称为偏磁。若不加编磁,则会用到起始磁化曲线的弯曲部分,录音灵敏度低、失真大。所以,现代录音机中均加偏磁,外加偏磁方式主要有两种:1.直流偏磁。使用磁化曲线的直线部分,但失真仍较大;2.交流超音频偏磁。可以减小录音信号的非线性失真、灵敏度高、噪声低、动态范围宽,可有效地改善录音质量,已在磁带录音机中普遍采用。
由于磁带的偏磁值与录音质量密切相关,所以,各种类型的磁带各有它自己的最佳偏磁电流值,这相当于放大电路中的最佳工作点,故称为最佳偏磁工作点。测定最佳偏磁电流的方法如下:对1千赫音频信号录音,调整偏磁振荡器,使得1千赫音频信号输出最大,此时的偏磁电流值的1.2倍就是最佳偏磁电流值。或者调整偏磁振荡器使得输出噪声最小,此时的偏磁电流即最佳偏磁点。最佳偏磁电流正比于磁带的矫顽力,氧化铁磁带采用正常偏磁,氧化铬磁带采用比氧化铁磁带约高40%的高偏磁,而金属磁带则采用比氧化铁磁带高出一倍以上的特高偏磁。(吴大伟)
有关立体声广播的几则问答
问:我的调频收音机没有立体声(Stereo)指示灯,能不能收听 立体声广播?
答:在确定立体声广播制式时已经考虑到兼容性,也即普通调频收音机可以收听立体声广播。但是于普通频调收音机内不设有立体声解码器,低频部分只有一路放大器,所以喇叭不能发出立体感的声音。
问:我的中短波调幅收音机能收听立体声广播吗?
答:不行。但从发展远景来看,中波广播和电视伴音都向立体声方向发展,如同电视、电影由黑白向彩色过渡一样。目前许多国家正在试验中波立体声广播。例如美国在1980年4月由联邦通信委员会(FCC)通过采用调幅-调相制(AM-PM)为美国中波立体声广播的试用制式。
问:我住得离大城市较远,能不能收听到调频立体声节目?
答:因为调频立体声的广播频段在88~108MHz,这是米波波段,其传播特点是直线传播。故只能在距离发射塔几十公里的范围内可以收听。而且即使离发射塔较近,但中间有障碍物(如高山、巨形建筑等)时,收听也会受影响。如果用随机的拉杆天线或室内的T形天线收听不好,可以用电视五频道的五单元天线作为立体声收音机天线。自制这种天线可参考图1及表一、表二的尺寸和数据:

表一
五单元八木天线尺寸(单位mm)φ\(_{12}\)铝管
A B C D E a b c d 1
1510 1710 1370 1360 1330 660 400 380 400 2000
表二
工作频段 92~100MHz
增 益 7.1±0.8 dB
行波系数 >0.59
主瓣宽度 55°/70°
前 后 比 9.6dB/7.3dB
问:我家离发射台很近,为什么收听立体声广播时在度盘的许多地方都能听到,而且与其他台相混?
答:一般调频广播发射天线与电视发射天线共处于一个铁塔上。如广州电视塔上就有两套电视节目,两套调频节目同时发射电波。在铁塔很近的地方,收音机输入级的电波信号很强,造成高频放大器的过荷失真,产生了许多谐波,故而度盘上许多地方听到同一电台信号。收听时,最佳电场强度为70~90dB。如居住在铁塔附近可按下图 做一个衰减器,加在外接天线与收音机之间。表三给出各种场强下的R\(_{1}\)、R2数值。图2是衰减器的接法。
表三
衰减量和电阻值
10 dB R\(_{1}\)=39Ω R2=51Ω
20 dB R\(_{1}\)=62Ω R2=15Ω
25 dB R\(_{1}\)=68Ω R2=7.5Ω
32 dB R\(_{1}\)=72Ω R2=3.8Ω

问:我们这里没有立体声广播,在收听普通调频广播时立体声指示灯也发亮,为什么?
答:国内的中短波调幅节目大多是靠调频同步广播传送的,在传送调幅节目时,随着调频信号还有一个18KHz的同步标频信号一起广播出去。它与立体声广播的19KHz导频信号接近,当信号较强时, 18KHz标频可能窜入收音机的导频回路,使得立体声指示灯发亮。但收到的只不过是被同步广播传送的调幅节目。(戎明亮)