(1)右上图中AB为9伏直流稳压电源,R\(_{1}\)、R2都是阻值很大的电阻。如用电压表测量R\(_{1}\)两端的电压,且电压表的读数为6伏,那么再用该电表测量R2两端的电压,这时电压表的读数是否正好为3伏?
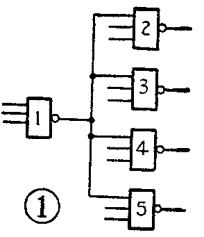
(2)小王在调试逻辑电路(见图1)时发现,如果把与非门2~5的输入端从与非门1的输出端上焊下来,则与非门1的输出电压为0.1伏;而接上与非门2~5时,与非门1的输出电压反而升高到0.2伏。小王想:从与非门2~5向与非门1看过去,与非门1相当于一个电源。既是电源,就该具有一定的内阻。因此在它的输出端接上负载(与非门2~5)以后,它的输出电压应该降低,结果反而升高了,请你想一想,这是为什么?

想想看答案
(1)不是正好为3伏,而是小于3伏。一般电压表的内阻都较大,因此它对被测电路的影响较小,可以忽略。但是该题中的R\(_{1}\)、R2都是阻值很大的电阻,因此接入电压表以后对测量值的影响就不能忽略了。电压表与R\(_{1}\)并联时,a、b两点间的阻值变小(小于R1),此时电压表上的读数为 6伏,所以R\(_{2}\)上的电压即Ubc=9-6=3伏。当撤去电压表后,a、b两点间的电阻又恢复到R\(_{1}\),这时分压比发生了变化,所以Uab实际将大于6伏,如果再把电压表与R\(_{2}\)并联,则b、c间的电阻减小,所以b、c间分得的电压将进一步减小。由上述两个原因可知,电压表读数将小于3伏(陈有卿)
(2)为了分析这个问题,我们把图1中与非门的有关内部电路画出来,见图2。当与非门1输出低电平时,如果与非门2~5接在它的输出端上,则它们都将向与非门1倒灌电流。每个与非门的倒灌电流就是与非门指标中的“输入短路电流”(即输入端接低电平时,流过多发射极管射极的电流)I\(_{入}\)。对于TTL与非门来说,I入≈1.4mA。当与非门1带的与非门负载个数为N时,倒灌入与非门1的总电流将为NI\(_{入}\)。

与非门1输出的低电平就是BG\(_{5}\)管的饱和压降。这个饱和压降由两部分组成,一部分是BG5管的本征饱和压降V\(_{ceso}\),也就是BG5管的eb结与bc结的压降差,约为0.1伏;另一部分则为BG\(_{5}\)的集电极电流在集电极电阻(包括集电极的体电阻和接触电阻)rcs上的压降。因此输出低电平应为
V\(_{OL}\)=Vceso+NI\(_{入}\)rcs
其中r\(_{cs}\)≈17欧。
与非门1输出低电平时,其BG\(_{5}\)处于深度饱和状态,即βIb5》I\(_{c5}\),因此它的Vceso值不会随灌电流而改变,但是,NI\(_{入}\)rcs的值却要随负载个数N而改变。当带有四个与非门负载时,其输出低电平则为
V\(_{OL}\)=0.1+4×1.4×10\(^{-}\)3×17≈0.2(伏)如果将与非门2~5同与非门1断开,则相当于与非门1的负载数目N=0,因而有
V\(_{OL}\)=Vceso=0.1伏
为保证与非门1的输出低电平不超过一般规定的
N=0.3-0.1;1.4×10\(^{-}\)3×17≈8
一般TTL与非门电路所带负载的数目不能超过8个,原因就在这里。如果实际应用时要求带的与非门个数超过8时,则应考虑使用与非驱动门。(廷)