本刊今年陆续介绍了用通用型集成运放电路8FC3、8FC4安装的优质扩音机,这种扩音机体积小、调试简单、故障少、稳定性好、音质也很好,深受广大无线电爱好者欢迎。许多爱好者由于不了解这种集成块的特点,所以在业余制作中出了一些问题不会处理。下面从使用角度出发,对这两种集成块加以简单介绍。
内部电路是怎样工作的?
买到这两种集成块的爱好者都会看到,这种集成块外形很象一般晶体三极管,只是引出脚比晶体管多一些。为什么需要那么多脚呢?因为这类集成块是将许多晶体管、电阻等集成到一起封装在一个管壳内做成的,也就是说,一块集成电路可以等效于由许多晶体管和电阻组合成的电路。为了使这个电路工作,需要外加电源,有些电路还需要从外部进行相位补偿、零点调整,再加上输入端、输出端等,集成块的管脚就比晶体管多得多了。
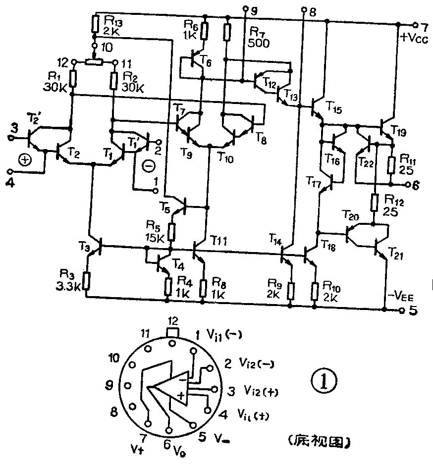
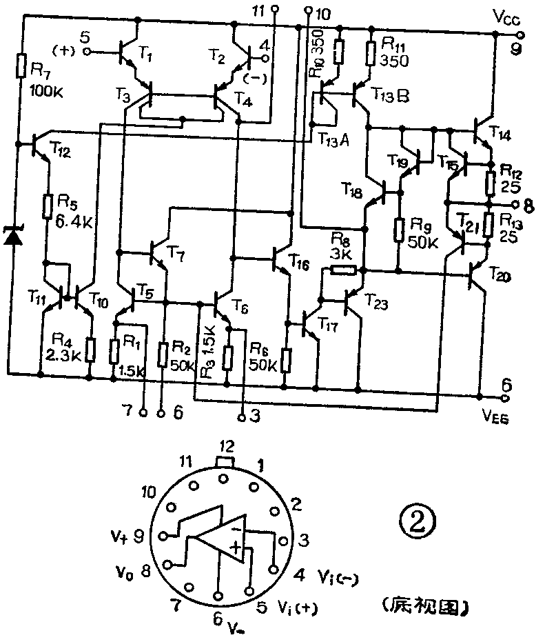
图1和图2分别为8FC3、8FC4的内部电路及管脚排列图。可以看出,这两种电路都是由晶体管和电阻组成的一个多级直接耦合放大器。从主要功能上说,整个电路分为输入级、中间级(可能由两级组成)和输出级。此外,由于采用直接耦合,还设置了一些恒流源及保护电路等。有关每部分单元电路的详尽分析,请参看本刊1980年第8期《集成运算放大器常用单元电路》一文。这里将只对整个电路的工作原理作一些简要分析。


图1中,T\(_{1}\)~T3、R\(_{1}\)~R3等组成输入级。这是共射极差动放大电路。R\(_{1}\)、R2为集电极负载。在11、10、12端的外接电位器W,用来补偿由于R\(_{1}\)、R2不对称而引起的失调。调节W,可使输出端静态电位回到零点。T\(_{4}\)、T3、T\(_{ll}\)、T14、T\(_{18}\)组成多路“镜象恒流源”,T3是输入级的恒流管。输入管采用复合管形式(称为“达林顿管”),并引出两组输入端以供选择。当从2、3端输入时,输入阻抗较高,可达到500千欧;而从1、4端输入时,虽然输入阻抗较小,但温漂影响也较小,可小到10μV/C\(^{。}\)。信号从差分对管T\(_{1}\)、T2的集电极双端输出,加到第二级T\(_{7}\)、T8的基极。
第二级由T\(_{6}\)~T\(_{ll}\)及R6~R\(_{8}\)组成,结构形式和输入级相似,只是增益较小。R6、R\(_{7}\)和二极管T6对下一级起静态偏置和温度补偿作用;第三级由T\(_{12}\)~T14等组成。T\(_{12}\)和T13组成复合PNP管,T\(_{14}\)是复合放大管的集电极恒流源负载,这一级增益很高。信号从第二级双端输出,通过第三级后转变为单端输出。由于前两级是采用的NPN管直接耦合放大形式,在放大过程中静态电平会有所上升,因此第三级采用PNP管放大,使其兼起电平下移作用,以保证在无信号时运放块输出端处于零电平;T15是一级射随器,起阻抗匹配作用。
T\(_{19}\)~T21为电流放大推挽输出级,T\(_{16}\)~T17是这一级的偏置电路,使输出级工作在AB类状态。T\(_{22}\)为输出过载保护管。T5起提高共模拟制比的作用。
图2是8FC4的内部电路。其输入级采用了共集共基串接电路,并且用T\(_{5}\)、T6作T\(_{3}\)、T4的集电极有源负载。用晶体管代替电阻作负载是第二代集成运放电路的标志,这种办法的好处是利用了晶体管静态电阻小、动态电阻大的特点,可有效地提高本级的增益及负向共模输入电压范围。T\(_{3}\)、T4为横向PNP管,这种管子有两个独立的集电极,它可以看成是eb结并联的两个晶体管。输入级采用这种电路结构的好处是,输入电压即使高达±30伏,管子也不会被击穿。信号在4、5端输入后,从T\(_{3}\)、T4的集电极双端输出,并由T\(_{7}\)管将双端转变为单端,将信号输入到T16缓冲管,再送到T\(_{17}\)进行放大。最后又由T23缓冲后送到T\(_{14}\)、T20推挽放大级。中间电压放大级T\(_{17}\)由于采用前后隔离措施,并且采用T13B作有源负载,所以仅一级的增益就可达到1000倍。图中T\(_{18}\)、T19将输出管偏置工作在AB类状态。T\(_{15}\)是T14的过载保护管,T\(_{21}\)对T20起保护作用。8FC4的主偏置系统由T\(_{1}\)0~T13A及稳压管等组成。因为由T\(_{1}\)0、T11组成的“镜象恒流源”又加了一级稳压管稳压,所以电源电压的波动对运放性能的影响大为减小。
集成运放电路的输入端采用差动放大电路,有两个输入端。输出端信号与输入端信号同相位的输入端,称为同相端;反之称为反相端。在电路上用“+”号表示同相端,用“-”号表示反相端。在实际电路中要想正确判断出哪是“+”端哪是“-”端也很容易。以图1为例,如果在“2”端加一个信号使U\(_{b2}\)↑,则Uc2↓→U\(_{c7}\)↑→Uc12↓→U\(_{e13}\)↓→Ue15↓→U\(_{e19}\)↓→Uo↓。输出端信号相位和“2”输入端信号相位相反,所以可以断定“2”端为反相输入端。在电路上,常用如图3所示的符号来表示输入端的极性。

表1列出了8FC3、8FC4在电源电压为±15伏时的主要指标,可供参考。
表1
输入失调电压 输入失调电流 输入偏置电流 开环电压增益 共模拟制比 输出电压 静态功耗
Vos(mV) Ios(μA) Ibi(μA) Aod(dB) CMRR(dB) Vop-p(V) Pco(mW)
8FC3 (1、4输入)2 0.5 100 80 20 180
(2、3输入)4 0.1 1
8FC4 2 0.05 0.2 94 80 24 120
关于集成运放块的频带宽度问题,在指标中通常只给出开环频响,开环频响一般是很窄的,往往仅有几个赫兹,一些爱好者以为指标这么低在音响电路中不能使用,实际上,运放块可以使用的频带,除了和运放块的开环带宽有关外,还和使用时选用的闭环增益、消振网络的补偿方法和补偿深度以及对输出幅度大小的要求等有关。一般说来,当对通用型运放块的闭环增益选在100倍以下时,其频带从直流到音频范围以内,都可以获得大信号输出。
在使用上的几个特点
1.有的人问:集成运放电路有哪些用途呢?按信号的反馈方式来分,集成运放块可以工作在负反馈、正反馈和无反馈(开环)三种状态。后两种形式常常是将运放块做成各种振荡器或比较器。但在大多数情况下,运放块多以第一种负反馈方式工作,此时运放块工作在线性放大区。因为运放块的开环放大倍数很大,输入阻抗很高,所以在施加深度负反馈的条件下,放大器的输出信号与输入信号之间的函数运算关系,只与放大器的外部网路有关。
集成运放块输入信号的方式有三种:反相输入、同相输入和差动输入,接线图见图4。在闭环工作时,运放块的闭环增益与信号的输入方式有关。运放块用作比例放大时,闭环增益应远小于开环增益,以获得较高的运算精度和较宽的频带。输入电阻R\(_{1}\)不要取得太大,这样可以减小噪声。两个输入端到地的直流通路电阻应尽量相等,以减小失调和漂移。

2.运放块的电源供电方式分双电源供电和单电源供电两种。多数情况下采用对称正负双电源供电,典型电压值多数是±15伏。也可以在低电压下工作,8FC3最低可工作在±3伏,8FC4最低可工作在±5伏。采用正负对称电源工作时,输出端的静态电平应接近零伏;运放块在单电源下工作时,电压可用到30伏。8FC3最低可用到6伏,此时输出端的静态电平升为\(\frac{1}{2}\)V+。因为运放块内部各点的静态工作电位都提升了1;2V+,所以运放块的输入端应如图5所示垫起相应的电平,只有这样信号才能加进去。

3.目前国内通用型运放电路都是电压放大,负载能力比较弱。在典型电源电压和满幅度输出条件下,输出电流要求一般不超过5毫安。或者说所接负载电阻应在2千欧以上。
运放电路的调试
在调试当中主要常碰到两个问题:一是集成运放块的自激问题,二是静态时集成块输出端的电平调试问题。自激产生的原因主要是因为运放块内部采用多级级联形式,并且由于级间分布电容的影响使信号产生了附加相移。为了消除这种自激振荡,常在运放块的引出脚上接入适当数值的 RC网络,以破坏集成块内部引起自激的相位条件。究竟在哪些引出脚并联RC元件? RC的数值取多大?这要看所选用的集成块的品种及其闭环增益的大小而定。此外,还可以在运放块的外围,如输出端和地之间、反馈回路上、两输入端之间等处接上适当的电阻和电容来消振。8FC3和8FC4的典型消振方法如图6。图中消振电容的数值视所取闭环增益的大小而定。闭环增益越小,电容C的容量应越大。但容量过大也不好,此时会使运放块的频带变窄。

关于静态时输出端电平的调整问题,在正负电源供电、输入端偏置对称的条件下,输出端的静态电平理应为零伏。但是,由于制作工艺上的种种缺欠,使集成块内部差分对总不可能做到绝对一致,因此输出端的静态电位常不是零伏,而存在一个偏移电压。将这个偏压除以放大倍数而折合到输入端,就是我们常说的输入失调电压。
在扩音机电路中,集成运放块放大的是交流信号,而且输出幅度不要求很大,则静态零偏也可以不去调整。对于8FC3来说,只需将12、10、11脚短接起来即可;对于8FC4来说,则要将3、7端悬空即可。需要调整零偏时,可在规定的调零端接入电位器进行调节。调整方法见图7。(曾新民)
