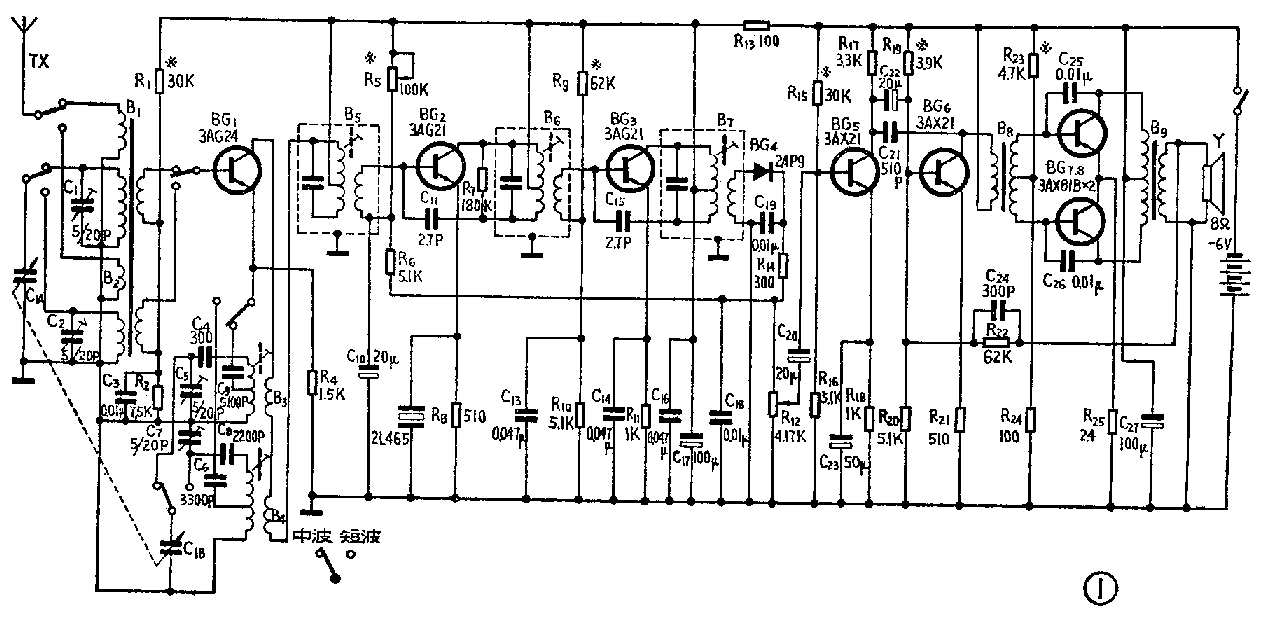
二、有沙沙声,无电台信号 有沙沙声一般可认为低频部分无故障。这种故障通常发生在检波级之前(参考图1)。检修的步骤是:

1.检查检波器:首先用万用表的欧姆档R×100测量BG\(_{4}\)负极与地之间的正反向电阻。测正向电阻时正表笔接BG4负极,负表笔接地。测反向电阻时,表笔互换。一般2AP型二极管的正向电阻为300~500欧。反向电阻为5千欧左右。如果测得的正向电阻很小甚至为零,则说明BG\(_{4}\)或C19有短路。此时分别将BG\(_{4}\)和C19从电路板烫开一端再测量一次;如果测得的正向电阻很大,阻值接近5千欧,则有两种可能:一是BG\(_{4}\)断路,一是B7次级有断路。如果测得反向电阻低于5千欧甚至为零,则说明BG\(_{4}\)、G19、可能有短路,应分别用万用表单独检查。若反向电阻远大于5千欧,则说明检波器的负载R\(_{14}\)、R12有断路。经上述检修之后,用改锥碰触BG\(_{4}\)的正、负极时,扬声器中应有“咯咯”声。如仍无“咯咯”声,可检查C20是否开路。当确认检波级已无故障,而收音机仍无声音则需按下述方法检查中放级和变频级。
2.中频、变频部分的检修:中频、变频部分的故障一般有三种情况:BG\(_{1}\)、BG2、BG\(_{3}\)损坏或偏置电路有故障,造成这些管子不能正常工作;中放级有短路或开路的地方;本地振荡停振。
①第二中放级检修:先检查第二中放管BG\(_{3}\)发射极对地电压,正常值为1.5伏左右。如无电压,说明R11中无电流。这可能是因B\(_{7}\)初级开路使得BG3集电极与电源不能接通,或是集电极、发射极、R\(_{11}\)有开路、虚焊。如测得发射极电压为5伏,这可能是B6初、次级之间有短路。R\(_{1}\)0阻值变大也会造成BG3发射极电压升高。如果BG\(_{3}\)各极电压均正常还是无声,就要检查B6次级是否霉断。以上如都正常,用改锥碰触BG\(_{3}\)基极,喇叭应有“咯咯”声。确认第二中放无故障如还是无电台信号,再向前检查。
②第一中放的检查与检查第二中放一样,先检查与直流工作有关的元件,主要是检查R\(_{5}\)、R6、R\(_{8}\)、R12有无开、短路。如以上元件没有问题而又无声,应重点检查B\(_{5}\)6有无内部短路或开路。测量方法是把与中频变压器连接的走线割断,用R×1档测量初、次级线圈的电阻值。如阻值无穷大说明断路;若阻值为零说明短路。中频变压器有毛病需烫下来修理或更换。以上工作完毕之后,可用改锥碰触BG2基极,如喇叭发出“喀喀”声,说明第一中放级已无故障。此时如仍收不到电台信号,可再继续向前检查变频级。
③变频级的检修:与前所述一样,先检查与直流工作有关的元件。用万用表直流电压档检查BG\(_{1}\)基极电压。如无电压,很可能是R1开路;B\(_{1}\)或B2次级脱焊、断线;波段开关接触不良;R\(_{2}\)、C3短路等。如BG\(_{1}\)基极电压过高,则有可能是R1短路。R\(_{1}\)短路常伴有BG1发烫。另外,可用直流电流档测BG\(_{1}\)集电极静态电流。如果静态电流为零应检查集电极或发射极所接元件有无开路。当测得集电极电流很大时,应考虑BG1是否击穿。除检查直流工作状态外,本机振荡器停振也会造成无声故障。检查有无停振的方法是用万用表直流电压档测量BG\(_{1}\)的发射极对地电压。此时用改锥使双连的本振连定片对地短路一下,如发射极电压有明显下降说明振荡器在工作,如此电压无变化则说明本地振荡停振。另外一种方法是,将调谐旋钮放在一个有台的位置,用手触摸振荡连的定片,发射极电压有明显变化的说明振荡器在工作。C4、C\(_{9}\)开路也会造成停振,不应忽略。在检查BG1集电极电流时,如发现静态电流过低,也应考虑有可能停振。此时应把工作点适当调高,或更换一个截止频率高的管子。当用改锥碰触BG\(_{1}\)基极,喇叭发出较大的“咯咯”声时说明各级电路基本上正常了。如仍无电台,应检查输入电路。仔细检查B1\(_{2}\)的初次级有无开路、短路。
三、灵敏度低 超外差收音机灵敏度降低故障表现为电台数目显著减少。常常是只能收到本地强台,远地台、弱台收不到或声音很小。电源电压的大小直接影响灵敏度。因此首先应该测量电源电压,当电源电压低于额定值70%时,灵敏度明显下降。如果收台数不少,只是声音不大,这是低频部分的毛病,不属于灵敏度低。灵敏度降低故障主要在检波以前。处理灵敏度降低的机子一般先检查BG\(_{1}\)、BG2、BG\(_{3}\)的集电极电流,工作点的降低会影响整机灵敏度。特别BG1的工作点降低会使波段低端停振,使得800千赫以下收不到台。BG\(_{2}\)、BG3集电极电流过小会使中频增益下降,不能输出足够的中频信号,从而使检波管的工作效率下降。如果BG\(_{1}\)、BG2、BG\(_{3}\)的集电极电流远大于规定值,则应怀疑管子穿透电流是否增大了。穿透电流大的管子放大能力降低,也会造成灵敏度下降。
另外,C\(_{13}\)、C14、C\(_{17}\)漏电或开路均会使灵敏度降低。可用相同容量的电容并联其上,看着灵敏度有没有改善。C10、C\(_{13}\)严重漏电时还会使BG2、BG\(_{3}\)基极偏流减小,工作点降低,影响中频增益。陶瓷滤波器2L465开路会使得465千赫交流信号全部通过电阻R8,增大了负反馈,降低了中频增益。因此2L465也应仔细检查是否有开路。二极管BG\(_{4}\)的检波效率也直接影响灵敏度。检查时用万用表欧姆档测量其正反向电阻,正反向电阻相差不多的管子检波效率就低。另外,BG1、BG\(_{2}\)、BG3如有衰老,放大能力降低,也必然使得灵敏度降低。
输入电路的电感元件如有断股会使谐振槽路Q值降低;中频变压器中的线圈断股会使中频谱振槽路Q值降低从而影响中频增益,这些都会降低灵敏度。中频变压器磁芯位置移动;谐振电容容量改变均会使槽路失谐降低中频增益。磁棒上的线圈位置移动;C\(_{5}\)、C7容量的改变均会使三点跟踪破坏,影响整机灵敏度。不过检查灵敏度低的机器时,尽量不要上来就乱调中周和跟踪。应首先加上所述,检查阻、容元件、管子好坏,待认为无其他故障之后再动手调中周和三点跟踪。(马兰皋)