本文向中、小学生及无线电初学者介绍一种容易制作的外差式耳塞收音机。该机电路设计得当,使用零件少,由一节五号电池供电因此整机体积很小,可以放在上衣口袋里。耳塞机只供一人收听,不干扰周围环境,所以特别适于学生随时收听广播外语节目。
电路特点

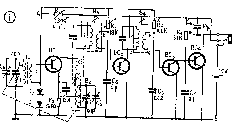
图1是这个机器的电原理图。BG\(_{1}\)是变频及本地振荡管;BG2是中频放大管;BG\(_{3}\)是三极管检波管同时又与BG4构成复合射极输出器。本振、变频级的偏置电路使用两只二极管D\(_{1}\)、D2。利用二极管的正向结压降不随外电源电压变化的特点进行稳压,因此BG\(_{1}\)的工作状态十分稳定。1.5伏电池即使降到1伏机器仍能正常工作。中放级与一般外差机相似,只是发射极直接接地,从而提高了中放增益。由于射极输出器的最佳负载阻抗很低,故可以直接接8欧耳塞。三极管检波比二极管检波增益高30dB,该机灵敏度并不比使用二极管检波的两级中放机低。因此收本地强台时如嫌震耳可在BG2发射极与地之间(印刷板A\(_{1}\)2)串一个电位器作为音量调节器。该机整机耗电只有3.5毫安左右,一节五号电池可用两到三个月。
元件选择
BG\(_{1}\)、BG2、BG\(_{3}\)均使用3DG型高频小功率管,β值选用60~150。BG4使用3AX型低频小功率管,β选在30~80之间。为了使BG\(_{1}\)稳定工作,应使其基极稳定在0.8~0.9伏,因此D1选用2CP型硅二极管,D\(_{2}\)选用2AP型锗二极管。为减小整机体积本机选用了差容双连(因为这种双连自带两只微调电容),因此与双连配用的天线线圈及振荡线圈圈数应与双连相配合。不能使用与2×270pF双连配合的线圈,否则不能差拍出465千赫中频信号或产生乱叫的现象。C2、C\(_{3}\)、C4选用瓷片或涤纶电容,C\(_{5}\)、C6选用耐压3伏的电解电容就够用了。所有电阻均选用\(\frac{1}{8}\)瓦碳膜电阻。中频变压器选用内附谐振电容的一种,这对减小体积有利。中波段选用55毫米长扁磁棒,可横放在机壳内,有利于放在上衣小口袋内。把市售φ3.5毫米插座的常闭簧片改为常开状态,可以代替电源开关,拔下耳塞即切断电源。
安装与调试
焊接前可自己动手制作B\(_{1}\)2\(_{3}\)4。具体数据是:B\(_{1}\)的L1用5股纱包线绕90圈;L\(_{2}\)用5股纱包线绕13圈。B2\(_{3}\)4的制作方法见图2,制作时务必注意与印刷线路板图3相对照,避免绕反。如手头有现成的中周和振荡线圈也应注意各接脚的内部绕线数据是否与印刷板相适应。自制元件做好后可按图3安装,只要焊接无误就能收到本地电台信号。焊接时注意,图3中本振连应与B\(_{2}\)的1脚(K1、K\(_{2}\))用导线连在一起。


静态调整可从R\(_{1}\)开始,改变R1数值使A点为0.8~0.9伏,R\(_{1}\)为1KΩ时R1上的电流约为0.7毫安左右;再测量BG\(_{1}\)集电极电流应该在0.4~0.6毫安。若不在此范围可适当改变R2阻值。调R\(_{3}\)使BG2集电极电流为0.5~0.7毫安。调BG\(_{3}\)时可先不接入R5和BG\(_{4}\)基极,把电流表接在R5的位置,调整R\(_{4}\)阻值,电流表指示应为0.1毫安。然后接入R5和BG\(_{4}\)基极,这时BG4集电极电流应为1~2毫安,否则可适当改变R\(_{5}\)的数值。如果手头只有800欧高阻耳塞,可将耳塞改接至BG4集电极,此时静态工作点应调至1毫安。
静态工作点调好之后可用振荡连短路法检查BG\(_{1}\)振荡器是否起振。检查方法是:把万用表直流电压档跨接在R2两端,把双连电容振荡连短路,此时如果电压值变小则说明已经起振。如果不起振应仔细检查本振线圈的内部绕线及接法是否与图2相符,如果线圈初级接错地方或次级接反都不能起振。此时可调整印刷线路板走线,使之与图2的接法相符。对于已经起振的收音机,按一般外差机的方法,先调中周,后调三点跟踪,效果很好。
为了帮助初学者实验体会,本期除供应中波段全部零件外,另加短波磁棒1只,短波振荡线圈1只。可将短波振荡线圈换在中波振荡线圈的位置上。短波时天线线圈的初级L\(_{1}\)用漆包线间绕10~12圈,再用多股纱包线在初级上绕3~4圈作L2。C\(_{2}\)的位置改焊2200pF;K1K\(_{2}\)之间接入1800PF电容,如图4所示。

图5是电池夹的制做示意图,把印刷板正极接线处踞开一个口,做两个弯角按图焊在印刷板上。
