业余无线电爱好者在组装或修理无线电作品时,总把电烙铁烧着,然而用它焊接的时间却很少,大部分时间空烧着不用,不仅费电,而且容易把烙铁头“烧死”。另外,市售的烙铁头子焊细小机件嫌太大,不便焊接。这里介绍一种自制电烙铁,它焊接时迅速烧热(约3秒),使用方便,不焊时便切断电源,大为省电。
一、工作原理
电源变压器的次级线圈是不允许短路的,否则将产生高温把变压器烧毁。但这种有害的现象却可加以利用,变有害为有利。我们用4×2.5mm\(^{2}\)的扁铜线绕次级线圈,而扁铜线允许短时间通过大电流,这样虽然产生高温也不致于烧坏线圈。将这种次级线圈短时间短路产生的高温,通过一段φ0.8mm的铜线传出来,就可利用它来作焊接用。这种电烙铁的全貌见图1。A点就是用来焊接的“焊铁头”。下面分别叙述各部分的制作方法。

二、部件制作
1.铁心:采用E字形高硅片作铁心、中心柱宽18mm,叠厚20mm,见图2。铁心大小要合适,过大使用不方便,过小不易制作。建议选用中心柱截面积在25×25mm\(^{2}\)到19×l9mm2范围内的铁心比较合适。

2.线圈骨架:我们采用0.5mm厚的层压绝缘板,也可用厚些的绝缘硬纸板,按图3(a)(b)(C)形状及尺寸各作两块,然后咬合在一起,用胶粘牢成(d)所示骨架。

3.绕线圈:绕制方法参看本刊1980年第1期。初级用φ0.13mm高强度漆包线,共绕1900~2000圈,每层用绝缘纸隔开,如无绝缘纸,用牛皮纸也可以。两个引出线要和线圈的两头焊好,并设法固定,不使活动,否则长期使用发生断路难于修理。如利用旧变压器拆下的线绕制,必须保证无漆皮剥落现象,否则易造成短路危险。次级线圈用4×2.5的漆包扁铜线绕3~4圈,两端要留出约5cm,作为引出线,并在两端头上各打一个φ2mm小孔。如无此扁线,也可从废调压器上拆用,只要有足够的截面积,能通过很大的电流。在绕次级扁线之前还要用φ0.12mm漆包线绕30圈,作为点指示灯用的线圈,其电压为2.5伏。初次级线圈之间要垫绝缘纸。绕完次级要多包几层绝缘纸。
初次级线圈绕好后,应该用万用表测一下是否有断路。
将上面做好的线圈内插入铁心整个变压器就做成,如图4。如出现空隙,可再插入一些铁心片。变压器完成后应通电检查一下指示灯线圈的电压,如不符合要求,应拆下重绕。

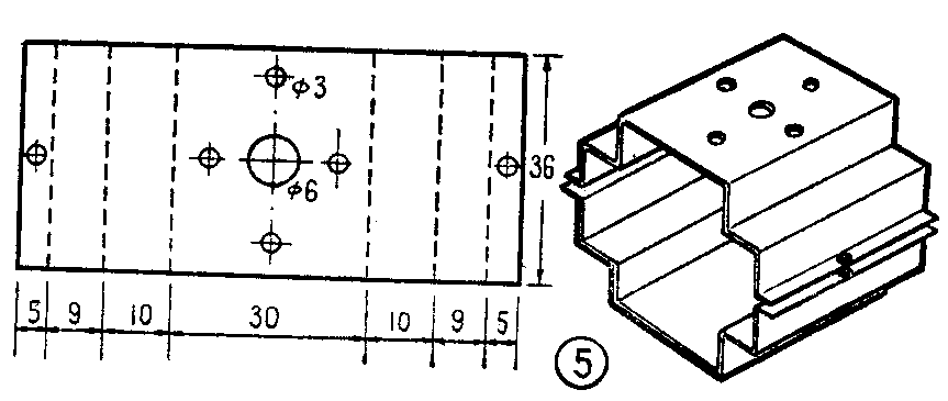
4.连接卡板:用φ0.3~0.5mm厚的较薄铁板按图5尺寸制做两个连接变压器与木柄的卡板。在一块卡板的底部打一个φ6mm圆孔,作为电源线的通孔,四周再打四个φ3mm小孔,以便用木螺丝钉与木柄相连。

5.木柄:选取无节的木料,最好是红松或椴木,刨成长方体,加工成图6所示样子,以便手持。木柄腰部挖一小方槽,用于安装微动开关。在木柄端面中央与连接卡板中心圆孔相对的位置打一个φ8mm孔,打穿到另一端头,以便穿电源线之用、如图中虚线所示。

6.烙铁头:用两块小的绝缘层压板按图7做两片小夹板,A、B两点打两个φ3小孔,用φ3mm带母螺钉夹住扁线。

用φ0.8mm左右铜线(如用漆包线将漆皮剥落干净,弯成图8的样子,A点就作为烙铁焊头,铜线两头与扁铜线用螺钉接好。
找一个25伏聚光灯泡的灯口,并用一小块罐头盒皮将灯固定在上述烙铁头小夹板上。
三、组装
先将连接卡板用木螺钉固定在木柄上。将电源线从木柄的底部穿入,其中一根直接和初级线圈一个引出线连接,另一根串接微动开关后接到初级另一引出线头上。连接处要用胶布妥善包好,保证绝缘良好不漏电。接好之后用变压器的上、下卡板将变压器卡住,用螺钉拧牢,将2.5伏次级线圈两条引线焊在灯口的两点上,然后安上小灯泡。最后将电源线接上插头,就全部安装好了。
下一步进行试焊与调整。将插头插到有保险的电源接线板上。接通电源后按一下微动开关,这时小灯泡应亮。接着将烙铁头放在焊油内,按下开关,在1—2秒内烙铁头上应冒烟。再用松香焊锡丝试验,如3秒钟内能熔化焊条,说明已经成功。如时间长达10秒还不熔化焊条,就要检查烙铁头与扁铜线是否接触良好,可将接触部分用细砂纸打磨后再试。最后调整一下聚光小灯泡,使亮点正好照在烙铁头的端部。
四、注意事项
1.组装或试验时要认真检查绝缘情况,注意安全。
2.烙铁头上的铜线要经常更换。铜线与扁铜线的接触部分要保持良好的接触。接触不良会使温度降低,以致不能焊接。
3.每次焊接时间不要超过10秒。(孟祥滨 温玉祥)