稳压二极管,顾名思义是有稳定电压作用的二极管,它常用在稳压设备和一些电子电路中提供稳定的直流电压。由图1可见,稳压二极管的正向特性曲线与普通二极管没有多大区别,但反向特性曲线却有较大差异,它的反向击穿电压比普通二极管要低得多,且可根据需要而定;从图中还可看出其击穿点V\(_{Zmin}\)处,曲线弯折特别尖锐,从该点起虽然电流Iz剧增,但电压V\(_{z}\)几乎保持不变。稳压二极管正是利用这种击穿特性来进行稳压的,也就是说稳压二极管总是工作在反向击穿状态的,只要在外电路设有限流措施,使其击穿电流与击穿电压的乘积不超过管子最大允许功耗,就不会损坏管子。当外加电压撤掉后,管子仍恢复正常,因而稳压二极管的击穿是可逆的,而普通二极管一经击穿,就无法恢复了。

稳压二极管PN结的反向击穿现象目前有两种解释:第一种是德国物理学家齐纳提出来的,他认为当半导体中的电场强度足够大时,可将电子从共价键中拉出来,产生电子空穴对,使载流子突然增多,从而出现击穿现象。后人称之为齐纳击穿或齐纳效应。这种击穿类似金属中的电子冷发射过程。还有一种解释认为当电场强度增加时,载流子获得能量增大,有可能与晶体结构中的外层电子碰撞,使其脱离原子的束缚,这些被撞出来的载流子在得到足够能量后又去碰撞其它外层电子,这种连锁反应使载流子剧增,引起雪崩似的连锁反应,称为雪崩击穿。这种击穿类似于气体中的碰撞电离过程。实验证明,这两种击穿实际上都存在,稳压值较低的稳压管一般属于齐纳击穿,例如硅稳压二极管在5V以下属于齐纳击穿,7V以上属于雪崩击穿,6V左右则两者兼有。
主要参数
目前国产2CW型硅稳压二极管的外形结构大致有如图2所示几种,其主要参数有:

稳定电压,即图1中击穿电压值V\(_{Z}\)工作电流和温度而变,且由于管子制造工艺上的离散性,使VZ值离散性很大,一般手册上只给出某一电流下的稳定电压范围,例如手册上可查到硅稳压二极管2CW13的稳定电压在稳定电流I\(_{Z}\)=10mA时为5~6.5V。这就是说不同的2CW13其稳压值不同,就是同一个管子在不同工作电流和环境温度下,稳压值亦会不同。
稳定电流,就是图1中的击穿电流值I\(_{Z}\)。稳压管在使用时,不得使工作电流超过最大允许稳定电流IZmax,I\(_{Zmax}\)是根据手册中给出的稳压管的额定功率PZ和稳定电压V\(_{Z}\)来决定的,即IZmax=P\(_{Z}\)/VZ。一般应用中常取其最小值I\(_{Zmin}\)为最大值IZmax的十分之一,即I\(_{Zmin}\)=(1/10)IZmax。
稳压值受温度影响的情况可用电压温度系数来表示,例如2CW11(V\(_{Z}\)=3.2~4.5V)规定为-0.05%/℃,就是说温度每增加l℃,稳压值VZ将下降0.05%。一般来说低于6V的稳压管,其电压温度系数是负的,这是齐纳击穿的特点。而高于6V的稳压管,其电压温度系数则是正的,这是雪崩击穿的特点。这样,6V左右的稳压管由于兼有两种击穿的特点,自然温度系数最小了。为了减小温度系数,可将两只稳压管反向串联起来进行温度补偿,如图3,由于使用时必然是一管正向工作(二极管在正向使用时,正向压降具有负的温度系数),另一管反向工作(V\(_{z}\)大于6V的硅稳压管温度系数通常为正),因而温度系数可互相抵消,使温度系数减小,管子亦就具有更高的电压稳定性,如2DW7型硅稳压二极管,其电压温度系数仅0.005%/℃,这种管子常用在高精度电压表、数字电压表或高级稳压电源中作基准电压管。当然,由于这种稳压管有中间抽头,亦可作单管使用。

从图1还可看出,随稳压管工作电流变化△I\(_{Z}\),击穿电压亦会变化△VZ,我们可将两者的比值定义为稳压管的动态电阻Rz=△V\(_{Z}\)/△Iz,显然Rz越小,△V\(_{Z}\)越小,曲线越陡,电压稳定性就越好。一般来说,工作电流大些,Rz会小些,因而在功耗允许的情况下,IZ可适当取大些。
稳压管的应用
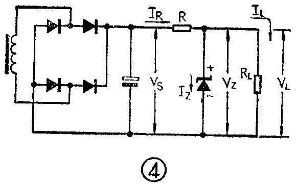
稳压二极管的最基本应用是在稳压电路中提供基准电压。图4为硅稳压二极管稳压电路,其中V\(_{S}\)是整流后电压,是随电网电压波动的,负载RL上得到的是稳定电压V\(_{L}\)。由于稳压管与负载并联,故VL=V\(_{Z}\),即稳压管的稳压值应根据负载电压选定。R是限流电阻,由图可知,流过R的电流IR=I\(_{Z}\)+IL,R一经确定,I\(_{R}\)被IZ和I\(_{L}\)分流,若IL增大,I\(_{Z}\)就减小,但IZ不能太小,至少应能维持管子击穿电压V\(_{Zmin}\);反之,若IL减小,I\(_{Z}\)就增大,但也不应超过管子最大电流VZmax,显然当负载开路(I\(_{L}\)=0)时,IZ最大,管子承受最大功耗P\(_{Zmax}\)。由图还可得到关系式IR=(V\(_{S}\)-VZ)/R,由于电网电压波动,当V\(_{S}\)降低引起IR减小时,R的选择应能给出维持V\(_{Zmin}\)所必需的电流IZmin;而当V\(_{S}\)升高引起IR增大时,R的选择又不致使稳压管工作电流超出I\(_{Zmax}\)。于是,我们可写出确定R值的关系式:
\(_{Zmax}\)+ILmin<R<V\(_{Smin}\)-VZ;I\(_{Zmin}\)+ILmax

上述分析可知,图4这种稳压电路只适用于小功率负载,且要求负载电流的变化范围严格地控制在I\(_{Zmin}\)~IZmax之间,否则V\(_{Z}\)就无法保持。
对于大功率负载伪稳压电路,必须将稳压二极管和晶体管结合使用。图5是一个晶体管和一个硅稳压管构成的射极输出器型稳压电路,其负载能力比图4电路要大些,且稳压特性也要好些,但仍不适用于稳定度要求较高的大功率负载。图6是常用的串联调整式(简称串调式)稳压电路的典型结构,稳压管在这里仍然是提供基准电压V\(_{Z}\),无论由于输入电压VS的波动或是由于负载电流I\(_{L}\)的变化引起的输出电压VL的变化,均经电阻R\(_{1}\)、R2分压后送入比较放大器与V\(_{Z}\)进行比较,两者相比后的误差电压经放大后去控制电压调整管,使调整管的管压降增大或减小,从而使输出电压VL基本恢复到原来的数值。这种电路适用于大功率负载,且稳定度较高。串调式是由于电压调整管与负载串联而得名,显然图5可算是最简单的单调式稳压电路。而如图4中,稳压管是与负载并联的,因而叫做并联式稳压电路,同样亦有用晶体管和稳压管构成的并联调整式稳压电路。


由于硅稳压管可在准确的电压下击穿,因而用作限制或保护器件特别适宜。譬如图4电路也可看作保护电路,它用硅稳压管保护了负载不受电源浪涌的影响,使负载电压始终稳定在V\(_{Z}\)。同样,可将硅稳压管并接在表头两端以保护表头,如图7。只要选VZ稍高于表头满刻度偏转的电压V\(_{0}\),当加到表头两端的电压大于VZ时,稳压管就击穿而分流,避免了表头突然过流而受损伤。在脉冲电路中,也常常将两个硅稳压管背靠背连接,对交流信号进行限幅,如图8。只要输入交流信号V\(_{S}\)幅度大于稳压管的VZ,输出信号将被切成方波。


硅稳压管的应用很广泛,目前一些晶体管电路中还将它用作级间耦合,或直接用在偏置电路里,以稳定晶体管直流工作点等等。(金国钧 编译)